网站首页  词典首页


请输入您要查询的字词:

 

字词 浇注系统凝料的自动脱出
类别 中英文字词句释义及详细解析
释义

浇注系统凝料的自动脱出


4.4.6.1 潜伏式浇口凝料的脱落

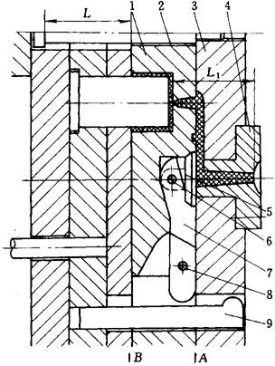
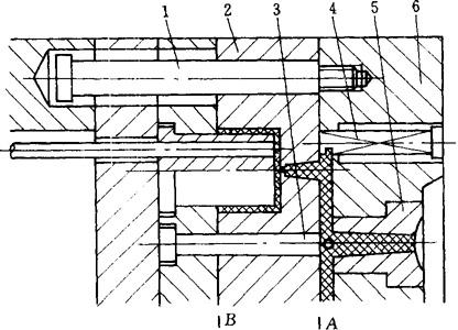
采用潜伏式浇口的模具,其脱模装置必须分别设置塑件和流道凝料的顶出零件,在顶出过程中,浇口被剪断,塑件与浇注系统凝料各自自动脱落,如图4-78所示。顶出过程中,推杆1和推杆2分别推动浇口和制品,借动模3将浇口切断与制品分离,浇注系统凝料和制品分别被顶出。图4-79为推杆上开设附加浇口的潜伏式浇口,其动作过程见图。图4-80为差动式推杆顶出潜伏式浇口的结构,顶出时,推杆2首先推动塑件并将浇口切断,随后当推杆固定板接触限位圈4时,推杆3推动浇注系统凝料自动脱落。

图4-78 潜伏式浇口的自动脱落

1—推杆 2—推杆 3—动模 4—型芯 5—定模

图4-79 推杆上开设附加浇口的潜伏式浇口的脱落

1—推杆 2—推杆 3—推杆 4—动模

图4-80 潜伏式浇口差动自动脱落

1—型芯 2—推杆 3—推杆 4—限位圈

4.4.6.2 点浇口凝料的自动脱落

采用点浇口的模具,通常为三板式模具,两个分型面分别取出塑件和浇注系统凝料。为适应自动化生产的要求,采用顺序分型机构使点浇口自动切断和坠落,通常有以下几种形式。

(1)推杆拉断点浇口 如图4-81所示。开模时模具首先沿A—A面分开,流道凝料被带出定模座板8,当限位钉1对推板2限位后,使流道凝料推杆4、推杆5将浇注系统凝料推出。

图4-81 推杆拉断点浇口

1—限位钉 2—推板 3—镶件 4—推杆 5—推杆 6—复位杆 7—流道板 8—定模座板

(2)侧凹拉断点浇口 如图4-82所示。分流道尽头有一小斜孔,开模时确保模具先由A—A面分开,点浇口被拉断,流道凝料被中心拉料杆拉向定模一侧,当限位钉起作用后,动模与定模型腔板分开,中心拉料杆随之失去作用,流道凝料自动坠落。图4-83为另一种机构形式。分流道尽头做成斜面,开模时首先由A—A面分型,点浇口被拉断,同时拉料杆相对于动模移动L距离,继续开模,型芯固定板1碰到拉料杆2的台阶,拉料杆2将主流道凝料脱出,随后型腔板3将流道凝料从拉料杆2上推出并自动坠落。

图4-82 侧凹拉断点浇口

图4-83 侧凹拉断点浇口

1—型芯固定板 2—拉料杆 3—定模型腔板 4—定模座板 5—浇口套

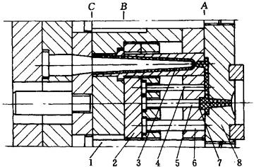
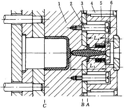
(3)拉料杆拉断点浇口 如图4-84所示。其定模座板内设有拉料杆7,开模时模具由A—A面分型,浇口被拉断,凝料留于推料板8上,继续开模,定模型腔板5碰到拉杆4的台阶,拉杆4带动推料板8将浇注系统凝料从拉料杆7和浇口套10中脱出并自动坠落,随后拉杆2起限位作用,模具沿C—C面分型取出塑件。图4-85为浮动拉钩式自动脱落流道凝料结构。开模时,模具首先由A面分型,拉料杆3将主流道拉出,浮动拉钩4随之移动,随后定模座板6碰到拉钩4的台阶时,拉钩4将浇口拉断,并拉出型腔板2,当限位钉1起作用后,模具沿B面分开,定模型腔板2将浇注系统凝料从拉料杆3上刮落,流道凝料自动坠落。

图4-84 拉料杆拉断点浇口

1—垫圈 2—拉杆 3—垫圈 4—拉杆 5—定模型腔板 6—浇口板 7—拉料杆 8—推料板 9—定模座板 10—浇口套

图4-85 浮动拉钩式自动脱落流道凝料结构

1—-限位钉 2—定模型腔板 3—拉料杆 4—浮动拉钩 5—浇口套 6—定模座板

(4)推料板拉断点浇口 如图4-86所示。开模时模具首先沿A—A面分开,主流道脱出浇口套,当限位钉4起限位作用时,模具沿B—B面分开,推料板3将浇口拉断,并将凝料从型腔板1中拉出自动坠落。图4-87为杠杆式推料板结构。开模时模具首先沿A—A面分型,拉出主流道凝料,继续开模当拉钩9和杠杆7接触时,迫使推料板5拉断浇口,并将流道凝料推离型腔板1,使之自动坠落。

图4-86 推料板拉断点浇口

1—定模型腔板 2—限位钉 3—推料板 4—限位钉 5—定模座板 6—浇口套

图4-87 杠杆式推料板拉断点浇口结构

1—定模型腔板 2—限位钉 3—定模座板 4—浇口套 5—推料板 6—轴 7—杠杆 8—轴 9—拉钩

随便看

 

离鸟网收录3541549条中英文词条,其功能与新华字典、现代汉语词典、牛津高阶英汉词典等各类中英文词典类似,基本涵盖了全部常用中英文字词句的读音、释义及用法,是语言学习和写作的有利工具。

 

Copyright © 2004-2024 vtrois.com All Rights Reserved
更新时间:2026/4/7 8:25:09