网站首页  词典首页


请输入您要查询的字词:

 

字词 液压油泵
类别 中英文字词句释义及详细解析
释义

液压油泵


(一)液压油泵的功用和类型

液压油泵是液压系统的动力部件,它将机械能转换为液压能,向液压系统提供具有一定压力和流量的油液。

目前,小型拖拉机上采用的液压油泵有齿轮式和柱塞式两种类型。

(二)液压油泵的构造

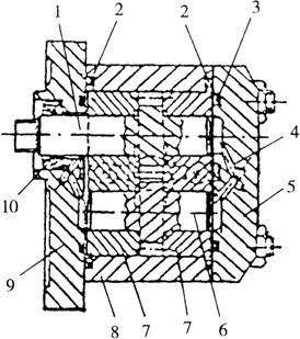
1.齿轮泵 齿轮泵的构造如图3-19所示。它由壳体、前盖、后盖、主动齿轮、从动齿轮、轴套、油封和大小密封圈等零件组成。

图3-19 齿轮泵

1.主动齿轮轴 2.大密封圈 3.小密封圈 4.油道 5.后盖 6.从动齿轮轴 7.轴套 8.壳体 9.前盖 10.自紧油封

由一对啮合齿轮运动情况不难看出,从下对轮齿开始啮合到前一对轮齿退出啮合时止,齿间的封闭容积的大小是变化的,先由大变小,再由小变大。当封闭容积由大变小时,封闭容积的油液压力急剧增高,将导致油液发热和轴、轴套的磨损;当封闭容积由小变大时,油液的压力降低到负压,将使油液表面出现油蒸汽和空气,引起油液泡沫化。为了消除封闭容积的不良后果,所以在轴套中心线为对称的两边上开有卸荷槽(图3-20),分别与压油腔和吸油腔相通。当封闭容积由大变小时,封闭容积的油液挤入压油腔,降低了封闭容积的油压。当容积由小变大时,吸油腔的油填入封闭容积,防止形成负压,所以,能消除了封闭容积的害处。

图3-20 轴套

1.宽偏油槽 2.卸荷槽和补偿槽 3.螺旋油槽

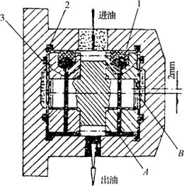
为了防止齿轮与轴套端面磨损而引起的液压油泄漏,采取了双端液压补偿措施,如图3-21所示。油泵壳体内腔宽度比齿轮、前后轴套宽度之和要大,因此,轴套可作轴向浮动,油泵前、后盖与轴套之间构成空腔,与压油腔相通,引入高压油,迫使前后轴套与齿轮端面紧紧接触,液压油保证二者端面的密封,并起到磨损的补偿作用。

图3-21 双端液压补偿装置

1.橡胶塞 2.大密封圈 3.小密封圈

A.高压腔 B.低压腔

2.柱塞泵 柱塞泵由泵体、柱塞、柱塞弹簧、单向阀等主要零件组成,如图3-22所示。柱塞在柱塞弹簧和变速箱Ⅰ轴上的偏心轮的作用下,可在泵体内腔作往复运动。当偏心轮凸起部位转向柱塞时,柱塞向出油阀一端移动,柱塞弹簧受到压缩;当偏心轮凸起部位转离柱塞时,柱塞弹簧伸张使柱塞向偏心轮一方移动。柱塞上加工有轴向油道和径向油道,两油道彼此连通。轴向油道上部放有钢球,封闭轴向油道。

图3-22 柱塞泵

1.偏心轮 2.柱塞 3.油泵离合杆 4.柱塞弹簧 5.单向阀弹簧 6.单向阀 7.钢球 8.泵体 9.操纵阀 10.调压螺钉 11.安全阀弹簧 12.安全阀 13.钢球

当柱塞下移时,柱塞上腔容积增大,油压降低,单向阀在弹簧的作用下关闭,首先切断柱塞上腔与通往操纵阀油道的联系。油箱内的油在大气压力作用下经泵体上的进油道、柱塞上的径向油道和轴向油道顶开钢球,进入柱塞上部空腔。

当柱塞上移时,柱塞上腔的容积减小,油压增高,钢球封闭柱塞上的轴向油道并打开出油阀,泵入操纵阀。

随便看

 

离鸟网收录3541549条中英文词条,其功能与新华字典、现代汉语词典、牛津高阶英汉词典等各类中英文词典类似,基本涵盖了全部常用中英文字词句的读音、释义及用法,是语言学习和写作的有利工具。

 

Copyright © 2004-2024 vtrois.com All Rights Reserved
更新时间:2026/4/6 16:28:21