网站首页  词典首页


请输入您要查询的字词:

 

字词 液压滑模施工
类别 中英文字词句释义及详细解析
释义

液压滑模施工


滑动模板又称滑升模板,简称为“滑模”,这种模板是一种工具式模板,从20世纪初期创始以来,主要用于现场浇筑高耸的构筑物和建筑物等,如烟囱、筒仓、竖井、沉井等;随着施工技术的不断进步,这项工艺的应用范围不断扩大。滑升结构物的类型,已由构筑物发展到高层和超高层建筑物;滑升结构的断面形式,也由竖直等截面发展到变截面,又由竖直变截面发展到变坡变径,其应用范围越来越大。

(一)滑动模板的施工原理

滑动模板的施工原理是:在构筑物或建筑物的底部,沿着墙、柱、梁等构件的周边组装高1.2m左右的滑动模板,随着向模板内不断地分层浇筑混凝土,用液压提升设备使模板不断地向上滑动,直到浇筑到设计的高度为止。

滑动模板的施工实际上是将进入模板内的混凝土挤出成型的过程,即在入口处模板内不断地加入混凝土,模板作连续向上滑动,出口处混凝土挤压成构件的形状。用滑动模板施工,可以节约大量的模板和支撑材料,节省模板安装和拆除的时间,降低工程造价,加快施工速度和保证结构的整体性。但是,滑动模板的一次性投资比较大,耗用钢材量比其他形式的模板多,对建筑的立面造型和构件断面变化有一定的限制。

(二)滑动模板的主要组成

滑动模板系统主要由模板系统、操作平台系统、液压提升系统和施工精度控制系统四大部分组成,如图9-31所示。

图9-31 滑动模板组成示意图

1-支承杆;2-提升架;3-液压千斤顶;4-围圈;5-围圈支托;6-模板;7-操作平台;8-平台桁架;9-栏杆;10-外挑三角架;11-外吊脚手;12-内吊脚手;13-混凝土墙体;14-油管

1.模板系统

模板系统包括模板、围圈、提升架和附属配件等,最主要的是前三者。

(1)模板

模板又称为圈板,其主要作用是确保混凝土按照设计要求的结构形体尺寸准确成型,保证混凝土表面质量符合要求,并承受新浇筑混凝土的侧压力、冲击力和在滑升过程中混凝土对模板产生的摩擦阻力;另外,还要保证结构内的配筋、门窗洞口模板、预埋管线等,能顺利地从模板上口安装施工。

模板可采用钢材、木材或钢木混合材料制作而成,目前以钢材制作为主,这样可提高模板的周转率,减小工程中的摊销费用。在制作时,模板间的拼缝必须是垂直缝,这样有利于模板的滑动。

模板的高度主要取决于其滑升速度和混凝土达到自承重出模强度(0.2~0.4N/mm2)所需的时间,一般为900~1200mm。为了减少滑升时模板与混凝土的摩擦阻力,便于模板顺利脱出,模板安装后其内外模板应形成上口小下口大的锥度(倾斜度),并使模板高在下口以上1/4~1/2高度处的净间距为结构的设计厚度,单模板的锥度为0.3%~0.5%。

模板支承在围圈上,与围圈的连接一般有两种方法:一种是将模板挂在围圈上;另一种是模板搁置在围圈上。前者装拆比较费事,后者装拆比较方便,但需要有相应措施进行固定。

(2)围圈

围圈在模板的外侧横向布置,在一般情况下上下各布置一道,分别支承在提升架的立柱上,把模板和提升架联系在一起,构成模板系统,当提升架提升时,通过围圈带动模板,使模板随之向上滑升。

围圈的作用是固定模板的位置,保证模板所构成的几何形状不变,同时承受由模板传来的水平力(新浇筑混凝土的侧压力、冲击力和风荷载)和垂直力(主要为模板滑升时的摩阻力),有时还可能要承受操作平台及挑平台传递的荷载。

围圈可以用角钢、槽钢或工字钢制作而成,上、下围圈的间距,应根据模板的高度而定,以使模板受力时变形最小为原则。

(3)提升架

提升架又称门架或千斤顶架,其作用是约束固定围圈的位置,防止模板的侧变形;承受作用整个模板上的竖向荷载;将模板系统和操作平台系统连成一体,并将模板系统和操作平台的全部荷载传递给千斤顶和支承杆。提升架主要承受围圈传来的垂直和水平荷载,操作平台、内外挑挂脚手的荷载,其他设计荷载等。

提升架常用12号槽钢制作横梁,用12~16号槽钢做成单肢式、格构式或桁架式。在建筑工程中常用的提升架开型架(两横梁式)和Ⅱ型架(单横梁式)两种,如图9-32所示。立柱与横梁的连接方式有两种,一种是全部采用螺栓连接,另一种是一端采用焊接另一端采用螺栓连接。

图9-32 提升架示意图

(a)两横梁式;(b)单横梁式

1-上横梁;2-下横梁;3-立柱;4-上围圈支托;5-下围圈支托;6-套管

2.操作平台系统

操作平台又称工作平台,主要包括主操作平台、外挑操作平台、内外吊脚手等,根据施工中的需要,还可以设置辅助平台,如图9-33所示。

图9-33 操作平台系统示意图

1-上辅助平台;2-主操作平台;3-吊脚手架;4-三角挑架;5-承重桁架;6-防护栏杆

操作平台是绑扎钢筋、浇筑混凝土、提升模板的场所,也是材料、工具、设备等堆放的场所,更是施工人员进行操作的场所。内外吊脚手主要供修饰混凝土表面、检查混凝土质量、调整和拆除模板等操作之用。

3.液压提升系统

提升系统是承担全部滑动模板装置、设备及施工荷载的动力装置,主要由支承杆、液压千斤顶、液压控制系统和油路等组成。

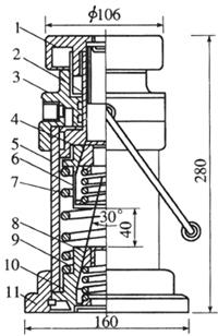
(1)液压千斤顶

液压滑动模板施工所用的千斤顶为专用穿心式千斤顶,即支承杆从千斤顶的中心穿过。按其卡头形式不同,可分为钢珠式千斤顶(图9-34)和楔块式千斤顶(图9-35)。其中起重

图9-34 钢珠式千斤顶

1-底座;2-缸筒;3-缸盖;4-活塞;5-上卡头;6-排油弹簧;7-行程调整帽;8-油嘴;9-行程指示杆;10-钢珠;11-卡头小弹簧;12-下卡头

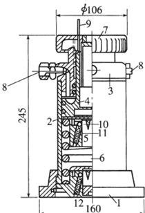
图9-35 楔块式千斤顶

1-行程调整帽;2-活塞;3-缸盖;4-上卡头块;5-缸筒;6-上卡块座;7-排油弹簧;8-下卡头块;9-弹簧;10-下卡块座;11-底座能力为30~50kN的千斤顶属小型千斤顶,60~120kN的属中型千斤顶,大于120kN的属大型千斤顶,在液压滑动模板应用最多的是小型液压千斤顶。

在进行滑升施工时液压千斤顶是安装在提升架的横梁上,支承杆插入千斤顶的中心孔内。提升时,利用油泵,通过控制阀门和输油管,把油液从千斤顶的进油口压入活塞和缸盖之间进行加压(图9-36a)。在加压时,由上卡头(与活塞联成一体)内的小钢珠与支承杆产生自锁作用,使上卡头与支承杆锁紧,使活塞不能下行。在一定油压力的作用下,缸筒连带底座和下卡头便被向上顶起,相应地带动提升架等整个滑动模板上升。当上升到下卡头紧靠上卡头时,即完成一个工作行程(图9-36b)。这时排油弹簧处于压缩状态,上下卡头承受着滑动模板的荷载。当油泵停止供油,进行回油时,油压力被解除,在排油弹簧和弹力作用下,把活塞推举向上,油便从进油口排出。在排油开始的瞬间,下卡头由于小钢珠和支承杆的自锁作用,与支承杆锁紧,使缸筒和底座不能下降,接替支承着上卡头所承受的荷载(图9-36c)。当活塞上升到缸体顶部后,排油工作亦即完毕,这时千斤顶便完成一次上升的工作循环。

图9-36 液压千斤顶工作原理

(a)进油;(b)上升;(c)排油

1-活塞;2-上卡头;3-排油弹簧;4-下卡头;5-缸筒;6-支承杆

一个工作循环千斤顶只能上升一次,工作行程约3cm左右。在进行排油时,千斤顶既不上升,也不下降。通过不断地进油、排油,重复工作循环,上下卡头先后交替地锁紧支承杆,千斤顶不断地向上爬升,模板也就被带着不断向上滑升。

(2)支承杆

支承杆也称为爬杆,是液压千斤顶向上爬升的轨道,也是滑动模板装置的承重支柱,承受着施工过程中的全部荷载。

支承杆一般采用直径为25mm的HPB235级圆钢筋,钢筋要经过冷拉调直,其冷拉率不宜大于4%。当采用楔块式千斤顶时,也可以采用螺纹钢筋。螺纹钢筋进行冷拉调直时,其冷拉率不宜大于1%。

支承杆分段进行制作,如果长度不满足设计要求,可根据实际采取丝扣连接、榫接连接和焊接连接进行接长,如图9-37所示。

图9-37 支承杆的连接方式

(a)丝扣连接;(b)榫接连接;(c)焊接连接

①丝扣连接。丝扣连接即在上下支承杆接头的两端,分别加工成螺丝头和螺丝孔,在进行连接时,将上支承杆的螺丝头旋入下支承杆的螺丝孔内即可。丝扣连接操作简单、安全可靠、效果较好,但在保管和运输中要对螺丝头和螺丝孔格外注意保护,在施工中要用管钳拧紧。

②榫接连接。榫接连接即将接头的两端加工成榫套,连接时将短钢销插入下面支承杆的榫套上,再将上面的支承杆套在短钢销上。榫接连接的另一种方式是将上下两支承杆分别加工成子母榫。榫接连接施工方便、连接迅速,但受力性能较差,加工精度要求较高,在滑升过程中容易被千斤顶的卡头带起,一般不宜采用。

③焊接连接。焊接连接即将上下支承杆的轴线对准,接头采用单面或双面坡口焊焊牢,然后再将焊口处锉平即可。其优点是接口比较简单,但现场焊接工作量较大。

(3)液压控制系统

液压控制台是液压传动系统的控制中心,主要由电动机、齿轮油泵、换向阀、溢流阀、液压分配器和油箱组成。油路系统是连接液压控制台到各个千斤顶的液压通路,主要由油管、管接头、液压分配器和截止阀等元、器件组成。

4.施工精度控制系统

施工精度控制系统包括千斤顶同步、建筑物轴线和垂直度等的控制与观测设施等。

千斤顶同步控制装置可采用限位卡档、激光控制仪、水杯自动控制装置等。在滑动过程中,要求各千斤顶的相对标高之差不得大于40mm,相邻两个提升架上千斤顶的升差不得大于20mm。

垂直度观测可用激光铅直仪、经纬仪和线锤等。滑模施工工程结构的垂直度允许偏差为:每层层高在小于等于5m时,不得超过5mm;每层层高大于5m时,不得超过层高的0.1%;每层层高在小于10m时,不得超过10mm;每层层高大于10m时,不得超过层高的0.1%,并不得大于50mm。

(三)滑动模板的滑升工艺

滑动模板的滑升过程,可分为初步滑升阶段、正常滑升阶段和末滑滑升阶段。

1.初步滑升阶段

初步滑升阶段是指工程开始时进行的初次提升阶段,主要是对滑动模板装置和混凝土凝结状态进行检查,也是确定滑升速度的重要环节。

初步滑升阶段的基本做法是:混凝土分层浇筑到模板高度的2/3,每层浇筑高度200~300mm,分层间隔时间要小于混凝土的初凝时间。当第一层混凝土的强度达到出模强度时,可进行试探性提升,即将模板提升1~2个千斤顶行程(约30~60mm),观察并检查各个系统的工作情况。

试探性提升一切正常后,每浇筑200~300mm高度的混凝土,再提升3~5个千斤顶工作行程,直至浇筑到距模板上口约50~100mm时,可转入正常滑升阶段。

2.正常滑升阶段

正常滑升阶段是指经过初步滑升阶段后,绑扎钢筋、浇筑混凝土和提升模板这三个主要工序处于有节奏地循环操作中,混凝土的浇筑高度保持与滑模的提升高度相等,并始终在模板上口约300mm内操作。

在正常滑升阶段,模板滑升速度直接影响混凝土施工质量和工程进度,原则上滑升速度与混凝土凝固相适应,并应根据滑动模板结构的支承情况来确定。当支承杆不发生失稳时,滑升速度可按混凝土出模强度来确定;当支承杆受压可能会发生失稳时,滑升速度一般控制在150~300mm/h范围内。

3.末滑滑升阶段

末滑滑升阶段是配合混凝土的最后浇筑阶段,模板滑升速度比正常滑升速度稍慢些。当混凝土浇筑至设计标高后,浇筑工作虽然完成,但为防止混凝土与模板发生粘结,滑升必须根据施工气候,按照一定规律进行滑升。

(四)滑动模板的施工工艺

滑动模板的施工工艺,主要包括钢筋绑扎、留设预埋件、安装支承杆、混凝土浇筑和液压滑升等施工过程。

1.钢筋绑扎

在滑动模板的施工过程中,钢筋绑扎应符合下列规定:

(1)每层混凝土浇筑完毕后,在混凝土表面上至少应有一道绑扎好的横向钢筋,以便于上部钢筋绑扎位置、间距正确。

(2)在进行竖向钢筋绑扎时,应在提升架上部设置钢筋定位架,以保证钢筋的位置准确。直径较大的竖向钢筋的接头,一般宜采用气压焊、电渣压力焊、套筒式冷挤压接头、锥螺纹套筒接头等新型钢筋接头。

(3)双层配筋的竖向钢筋,其中肋筋应成对并立排列,钢筋网片间应有A字形拉结筋或用焊接钢筋骨架进行定位。

(4)在绑扎钢筋时应有保证钢筋保护层的措施,一般可在模板上口设置带钩的圆钢筋对保护层进行控制,其直径按保护层的厚度确定。

(5)凡是带弯钩的钢筋,绑扎时弯钩不得朝向模板,以防止钢筋弯钩卡住模板,或在滑升中将木模板挂伤。

(6)当将支承杆作为结构中的受力钢筋时,其接头处的焊接质量,必须满足有关钢筋焊接施工规范的要求。

(7)梁的横向钢筋,可采取边滑升边绑扎的方法。为便于横向钢筋的绑扎,可将箍筋做成上部开口的形式,待水平钢筋穿入就位后,再将箍筋上口绑扎封闭。亦可采用开口式活动横梁提升架,或将提升架集中布置于梁端部,将梁钢筋预制成自承重骨架,直接吊入模板内就位。自承重骨架的起拱值:当梁跨度小于或等于6m时,应为跨度的2‰~3‰;当梁跨度大于6m时,应由计算确定。

2.留设预埋件

预埋件的固定,一般可采用短钢筋与结构主筋焊接或绑扎等方法连接牢固,但不得突出模板的表面。模板滑升过预埋件后,应立即清除表面的混凝土,使预埋件外露,其位置偏差不得大于20mm。

对于安放位置和垂直度要求较高的预埋件,不应以操作平台上的某点作为控制点,以免因操作平台出现扭转而使预埋件位置偏移。应采用线锤吊线或经纬仪定垂线等方法确定预埋件的位置。

3.安装支承杆

对采用平头对接、榫接或螺纹接头的非工具式支承杆,当千斤顶通过接头部位后,应及时对接头进行焊接加固。

用于筒壁结构施工的非工具式支承杆,当通过千斤顶后,应立即与横向钢筋点焊连接,焊点的间距一般不宜大于500mm。

当发生支承杆失稳、被千斤顶带起或出现弯曲等情况时,应立即进行加固处理。对于兼作受力钢筋使用的支承杆,加固时应满足支承杆受力的要求,同时还应当满足受力钢筋的要求。当支承杆穿过较高洞口或模板滑空时,应对支承杆进行加固。

工具式支承杆,可在滑动模板施工结束后一次拔出,也可在中途停歇时分批拔出。当采用分批拔出时,应按实际荷载确定每批拔出的数量,并且不得超过支承杆总数的1/4。对于墙板结构,内外墙交接处的支承杆,不宜中途抽拔。

4.混凝土浇筑

(1)对混凝土配制的要求

用于滑动模板施工的混凝土,应事先做好混凝土配合比的试配工作,其性能除应满足设计所规定的强度、抗渗性、耐久性等方面的要求外,还应满足下列规定:

①混凝土早期强度的增长速度,必须根据施工时的气温和工程实际情况,满足滑动模板滑升速度和出模强度的要求。

②采用适宜水泥品种,尤其是薄壁结构所用的混凝土,宜选用早期强度较高的硅酸盐水泥和普通硅酸盐水泥。

③滑动模板所用混凝土入模时的坍落度,应符合表9-1中的规定。

表9-1 滑动模板施工时混凝土的坍落度

注:当采用人工捣实时,非泵送混凝土的坍落度可适当增加。

④如果在混凝土中掺入外加剂或掺合料时,其品种和掺量必须通过试验确定;当因某种原因改变混凝土的配合比时,也应通过现场滑升试验确定。

⑤当采用高强度混凝土时,还应满足流动性、可泵性和可滑性等方面的要求,并应使入模后的混凝土凝结速度与模板滑升速度相适应。混凝土配合比设计初步确定后,应先进行模拟试验,再根据情况进行调整。

⑥混凝土的初凝时间一般宜控制在2h左右,其终凝时间可根据工程对象而定,一般宜控制在4~6h。

(2)对混凝土的浇筑要求

用于滑动模板施工的混凝土,在浇筑过程中应符合下列规定:

①必须分层均匀环绕模板浇筑,每一浇筑层的混凝土表面应在一个水平面上,并应有计划匀称地交换浇筑方面,以使混凝土保持均匀一致。

②混凝土分层浇筑的厚度不宜大于200mm,各层浇筑的间隔时间,不应大于混凝土的初凝时间,即相当于混凝土达0.35kN/cm贯入阻力值。当间隔时间超过时,对接槎处应按施工缝的要求进行处理。

③在高温施工季节,宜先浇筑内墙的混凝土,后再浇筑阳光直射的外墙;先浇筑直线段的墙体,后浇筑墙角和墙垛;先浇筑尺寸较大的墙体,后浇筑薄墙。

④预留孔洞、门窗口、烟道口、变形缝及通风管道等两侧的混凝土,应当对称均匀进行浇筑。

(3)对混凝土的振捣要求

用于滑动模板施工的混凝土,在振捣的过程中应符合下列规定:

①在进行振捣混凝土时,振捣器不得直接触及支承杆、钢筋和模板,应离开它们一定的距离。

②振捣器应当插入已振实的混凝土中,以便于上下层混凝土成为一个整体,但插入的深度不得超过50mm。

③在滑动模板滑升的过程中,不得进行振捣混凝土作业。

5.液压滑升

(1)初滑时模板内浇筑的混凝土至500~700mm高度后,第一层混凝土的强度达到0.2MPa,应进行1~2个千斤顶行程的提升,并对滑模装置和混凝土的凝结状态进行检查,确定正常后,方可转为正常滑升。

(2)在正常滑升的过程中,两次提升的时间间隔不宜超过0.5h。

(3)在提升的过程中,应使所有的千斤顶充分的进油、排油。提升过程中,如出现油压增至正常滑升工作压力值的1.2倍,尚不能使全部千斤顶升起时,应停止提升操作,立即检查原因,及时进行处理。

(4)在正常滑升过程中,操作平台应保持基本水平。每滑升200~400mm,应对各千斤顶进行一次调平,特殊结构或特殊部位应按施工组织设计的相应要求实施。各千斤顶的相对高差不得大于40mm。相邻两个提升架上千斤顶升差不得超过20mm。

(5)在滑升过程中,应检查和记录结构垂直度、水平度、扭转及结构截面尺寸等偏差数据,及时进行纠偏、纠扭工作。在纠正结构垂直度偏差时,应缓慢进行,避免出现硬弯。

(6)在滑升过程中,应随时检查操作平台结构,支承杆的工作状态及混凝土的凝结状态,如果发现异常现象,应及时分析原因,并采取有效的处理措施。

(7)因施工需要或其他原因,模板不能正常连续滑升时,应采取下列停滑措施:

①混凝土应当浇筑至同一标高,使混凝土表面基本上水平一致。

②模板要每隔一定时间提升1~2个千斤顶行程,直至模板与混凝土不再粘结为止。对滑空部位的支承杆,应采取适当的加固措施。

③当再继续正常滑升施工中,应对模板系统和液压系统进行检查。

(五)滑动模板组装质量要求

滑动模板在组装完毕后,必须按照表9-2中所列各项质量标准进行认真检查,发现问题应立即纠正,并做好记录。

表9-2 滑动模板组装的允许偏差

随便看

 

离鸟网收录3541549条中英文词条,其功能与新华字典、现代汉语词典、牛津高阶英汉词典等各类中英文词典类似,基本涵盖了全部常用中英文字词句的读音、释义及用法,是语言学习和写作的有利工具。

 

Copyright © 2004-2024 vtrois.com All Rights Reserved
更新时间:2026/4/9 7:43:32