网站首页  词典首页


请输入您要查询的字词:

 

字词 滑动导靴的调整
类别 中英文字词句释义及详细解析
释义

滑动导靴的调整


滑动导靴主要分固定滑动导靴和弹性滑动导靴两种。

固定滑动导靴的靴头可在轴向位置固定,主要用于对重侧,由靴衬和靴座组成。靴衬采用聚氨酯橡胶,靴座采用钢板压制而成。

弹性滑动导靴的靴头可在轴向位置浮动,由靴座、靴头、靴衬、橡胶垫或弹簧组成。靴头能在橡胶垫或弹簧的压缩方向上作浮动,使靴衬的工作面始终压贴在导轨工作面上,从而使轿厢保持稳定的水平位置,同时在运行中具有减小振动与冲击的作用。

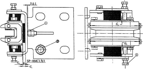
典型的滑动导靴如图7.3-7所示。调整方法如下:

(a)平面图

(b)结构图

图7.3-7 典型的滑动导靴结构

(1)导靴安装前,必须要先完成轿架的组装工作。

(2)确认导轨间距的准确性。

(3)按表7.3-1确认导靴的各项间隙是否符合,如果不符合,则调节导靴的三个调节螺母。

表7.3-1 导靴间隙

(4)如果导靴的各项间隙符合表7.3-1,则通过移动导靴底座,使导靴靴衬刚好贴在导轨端面上,然后将4个导靴固定螺栓拧紧,最后松开如图7.3-7中调节螺母①,使导靴导向板距离导轨端面如图7.3-6所示为(5±1)mm,并锁紧调节螺母。

随便看

 

离鸟网收录3541549条中英文词条,其功能与新华字典、现代汉语词典、牛津高阶英汉词典等各类中英文词典类似,基本涵盖了全部常用中英文字词句的读音、释义及用法,是语言学习和写作的有利工具。

 

Copyright © 2004-2024 vtrois.com All Rights Reserved
更新时间:2026/4/6 16:36:36