网站首页  词典首页


请输入您要查询的字词:

 

字词 滚剪机下料
类别 中英文字词句释义及详细解析
释义

滚剪机下料


滚剪机如图4-14所示,利用一对倾斜安装的上下剪刀片进行剪切,能剪切曲线形、圆环形的板料。

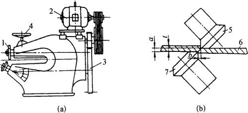
图4-14 滚剪机

(a)下滚刀倾斜;(b)上下滚刀轴线平行

1-圆盘剪刀;2-电动机;3齿轮;4-手轮;5-上剪刀;6-工件;7-下剪刀

滚剪机机座上装有C形的滚剪机架。工件支承机架根据需要配置。滚剪机架有上下剪刀座,刀座上安装有剪刀,分别由电机经减速装置直接驱动,作同速反向转动。上剪刀座安装在导轨上,手轮可控制其上下移动。工件支承机架其下支承台可自由转动,上压头与活塞杆相连,液压缸带动其上下移动,起压紧板料的作用,在进行滚剪时,上压头可与板料一起,绕活塞杆中心自由转动。活动挡块可沿导杆调整,剪切圆料时,挡块靠在剪切面的边缘上,起平衡自动送料力的作用。滚剪机架和工件支承机架的相对位置可根据滚剪板料的大小进行调整。

剪刀工作时须有正常间隙,其间隙应根据板料厚度不同进行调整。如图4-15(a)所示,一般垂直间隙,水平间隙b=。剪刃若有重叠值时,如图4-15(b)所示。须使其值h=(1/5~1/3)δ;这样弧线很短,便于曲线剪切。垂直间隙用调节上剪刀的方法调整,水平间隙则用调节下剪刀的方法调整。

图4-15 剪刀间隙调整

1-上滚刀;2-下滚刀;3-板料

用滚剪机剪切时,剪刀对板料有自动送料的作用。如图4-15(b)所示。为使板料能自动沿着刀口送料,板料与刀口之间摩擦力的合力R应大于推力P的合力。送料角γ愈大,推力也愈大,当推力大于摩擦力时,可用调节挡块的方法来平衡其推力。在相同的滚刀直径下,板料愈厚,γ角愈大,剪切愈困难。

在大规模生产的条件下滚剪机下料可以组织成流水生产线,见图4-16所示。

图4-16 封头生产线

(a)滚剪机下料;(b)摆辗;(c)旋压

随便看

 

离鸟网收录3541549条中英文词条,其功能与新华字典、现代汉语词典、牛津高阶英汉词典等各类中英文词典类似,基本涵盖了全部常用中英文字词句的读音、释义及用法,是语言学习和写作的有利工具。

 

Copyright © 2004-2024 vtrois.com All Rights Reserved
更新时间:2026/4/7 0:57:53