网站首页  词典首页


请输入您要查询的字词:

 

字词 激光经纬仪
类别 中英文字词句释义及详细解析
释义

激光经纬仪


激光是20世纪60年代发展起来的一门新技术。作为一种新光源,激光具有亮度高、方向性好、单色性纯等优点,为普通光源所不及。因此,从1960年诞生以来,发展十分迅速,在生产、科研、医疗、国防等方面,得到广泛应用。60年代晚期,国外制成了激光水准仪和激光经纬仪。70年代初激光技术也开始在我国得到发展。苏州第一光学仪器厂,1975年制成了J2-JD型激光经纬仪,受到测量、基建工程施工等单位的好评。

1.激光经纬仪的构造

如图18-55所示,其主要组成部分为:

1)J2光学经纬仪如图中之1,构造与J6型光学经纬仪相似。长水准器角值为20″/2mm,最短视距1.6m。

2)半导体激光器如图中之2。发射红色激光束,发散度很小,光斑在100m远处,直径只有5mm。激光的有效射程在白天可达200m,夜间可达2500m,波长为635mm。

图18-55 激光经纬仪

1-J2型光学经纬仪;2-激光器

J2-JDA型激光经纬仪,通过望远镜发射激光,激光束与望远镜视准轴保持同轴、同焦。该仪器完全具备DJ2光学经纬仪的所有功能,可在-10~+50℃的环境中工作。

半导体激光器发射的激光,经棱镜转向,进入望远镜与视准轴重合,从物镜端射出一条红色的激光束,在观测目标处可见到一红色小光斑。其光路图,如图18-56所示。

图18-56 激光经纬仪望远镜的光路图

1-激光器;2-反射棱镜;3-电池;4-分光棱镜;5-十字丝分划板;6-目镜;7-调焦镜组:8-物镜;9-激光束

激光经纬仪可提供一条可见的激光束,在土建工程施工中,广泛应用于高层建筑、隧道、井巷、桥梁工程、管线铺设等的施工,准确而方便。由于不另附老式的激光电源(净重4kg),经纬仪亦因改用半导体激光器,净重由原6.2kg减为5.9kg。木质仪器箱改为红色塑包箱,携带轻便。

当建(构)筑物间距不大,需要望远镜向上倾角较大以观测天顶方向时,仪器附有FJ3弯管目镜,如图18-57所示,装于望远镜的目镜端,观测十分方便。

图18-57 FJ3弯管目镜(J2-JDA用)

仪器还附有一激光觇牌,可置于观测点处,激光斑如投射到靶心,表示已正确观测到目标。仪器所附的激光觇牌,如图18-58所示。

图18-58 激光觇牌

2.激光经纬仪的应用

激光经纬仪能发射红色可见光束,故在黑夜或地下工程(如隧道、矿井等处)进行测量工作最为适宜。特别在施工测量中,准直、对中测量,使用激光经纬仪更为便捷。它的主要用途为:

(1)建(构)筑物的垂直度观测

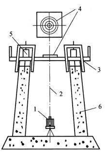
以检验钢筋混凝土柱的垂直度为例,说明用激光经纬仪较用普通经纬仪更为方便、精确。如图18-59所示,改用两架激光经纬仪安置于柱基的纵、横两轴线上,严格对中、整平,分别照准柱脚的中线,开启激光电源开关(在激光器上),发射激光束,用照准部微动螺旋使激光斑正对中线,缓缓仰起望远镜,观测激光斑是否偏离柱身弹出的中线,如有偏离,说明柱身不垂直,可指挥吊装工调整。同时,柱身垂直度偏差尺寸,亦可根据激光斑偏离中线的位置,用钢尺直接量得,十分方便。

图18-59 用激光经纬仪控制轴线垂直度

1-激光经纬仪;2-铅垂方向的激光束;3-工作平台;4-觇牌;5-千斤顶;6-已浇好的烟囱壁

同法也可用激光经纬仪发射的激光斑,检验建筑物的墙角线是否垂直;对建(构)筑物倾斜度的观测,也同样便捷。

烟囱、筒仓施工,控制轴线的垂直度要求较高。国内某电厂180m高的钢筋混凝土烟囱,采用滑模施工,即用激光经纬仪作对中、准直测量。如图18-59所示,将仪器置于烟囱基础的地下室中,经严格对中、整平,使镜管向上取铅垂位置,发射垂直方向的激光束,以显示烟囱的轴线位置。上部工作平台上安置激光觇牌,其中心位于该处烟囱横截面的圆心。如激光束的光斑不偏离觇牌中心,表示工作平台的中心未偏离烟囱的轴线。否则,应立即校正平台的位置,以确保烟囱的垂直度。该工程竣工验收,顶部中心偏离轴线1.2cm,仅为国家施工验收技术规范容许偏差18cm的1/15。

(2)隧道轴线的测设

如图18-60所示,隧道施工常用导井分段向两端掘进,对轴线测设,精度要求高。在黑暗的地下操作,用激光经纬仪测设隧道的轴线,更显示它的优越性。在开挖好的导井中,放入激光经纬仪,在隧道轴线下方安置仪器,使望远镜的视准轴与隧道轴线一致,精确调平仪器,发射激光。根据可见的红色激光束,确定隧道的轴线,指示隧道开挖。这种方法对隧道施工的轴线定位、导向,准确而方便。

图18-60 用激光经纬仪控制隧道轴线

1-激光经纬仪;2-红色激光束指示的隧道轴线;3-正在开挖的隧道;4-导井

激光经纬仪在不发射激光时,完全可作为DJ2型光学经纬仪使用。

随便看

 

离鸟网收录3541549条中英文词条,其功能与新华字典、现代汉语词典、牛津高阶英汉词典等各类中英文词典类似,基本涵盖了全部常用中英文字词句的读音、释义及用法,是语言学习和写作的有利工具。

 

Copyright © 2004-2024 vtrois.com All Rights Reserved
更新时间:2026/4/7 16:08:51