网站首页  词典首页


请输入您要查询的字词:

 

字词 激光铅垂仪
类别 中英文字词句释义及详细解析
释义

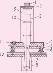
激光铅垂仪


亦称“激光投点仪”。

将激光束调至铅垂方向用于竖向准直的一种仪器。主要由激光准直器和安平机构两部分组成。安平机构中装置有高灵敏度的水准管,借以将激光束调至铅垂方向。

常用于高层建筑物、构筑物的施工,以及竖井掘进的指向等。

激光铅垂仪结构示意图1.插头一 2.插座一 3.激光管一4.上托盘一 5.托盘 6.机座螺旋 7.保护筒 8.镜筒 9.保护筒 10.固定夹 11.水准气泡 12.安装板

随便看

 

离鸟网收录3541549条中英文词条,其功能与新华字典、现代汉语词典、牛津高阶英汉词典等各类中英文词典类似,基本涵盖了全部常用中英文字词句的读音、释义及用法,是语言学习和写作的有利工具。

 

Copyright © 2004-2024 vtrois.com All Rights Reserved
更新时间:2026/5/31 21:23:58