网站首页  词典首页


请输入您要查询的字词:

 

字词 焊接接头的性能
类别 中英文字词句释义及详细解析
释义

焊接接头的性能


焊接接头是组成焊接结构的关键元件,它的性能与焊接结构的性能和安全等有直接关系.焊接接头最主要的性能特点就是它的不均匀性,包括材质的不均匀及力学性能的不均匀.

11.1.4.1 接头性能特点

1.材质不均匀

材质不均匀见表11-3.

表11-3 接头材质不均匀

2.力学性能不均匀

由于材质的不均匀,引起接头承载能力的不均匀,即接头的硬度、强度、塑性、韧性等分布不均.图11-6、图11-7为接头硬度、强度、塑性及韧性分布示意图.

图11-6 高强度钢焊缝区的硬度变化

母材HT52(C的质量分数为0.20%,Mn的质量分数为1.38%,Si的质量分数为0.23%),20mm,170A,25V,150mm/min

3.应力集中

应力集中情况如图11-8、图11-9所示.

11.1.4.2 焊接接头基本力学性能

1.拉伸性能

拉伸性能见表11-4.

2.焊接接头的硬度

接头的硬度按GB2654—89《焊接接头及堆焊金属硬度试验方法》进行测定.接头硬度不仅可用来估算接头各区的强度(表11-5),也常与焊件的使用性能有关.如作为抗磨损能力的度量,耐磨堆焊件经常规定其最低允许硬度数值,低于此值表示堆焊表面的耐磨性不足.相反,在含氢介质下工作的结构,由于淬硬组织易引起氢致开裂和其他氢损伤,有时规定焊缝的最高硬度不能超过的上限数值.焊接接头热影响区的最高硬度还被用来评价钢材的冷裂倾向(GB4675.5—84《焊接性试验焊接热影响区最高硬度试验方法》).

图11-7 焊接接头力学性能不均匀性示意图

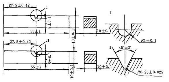
图11-8 角焊缝的形状、尺寸与焊趾应力集中的关系

图11-9 角焊缝焊趾角度与焊趾应力集中的关系

表11-4 焊接接头拉伸性能

图11-10 三个方向拉伸示意图

L—纵向拉伸试样;T—横向拉伸试样;Z—Z向拉伸试样

图11-11 典型的三种焊接拉伸试样

1—焊缝金属拉伸试样;2—接头横向拉伸试样;3—接头纵向拉伸试样

表11-5 黑色金属的硬度与强度的换算(GB1172—74)

注:HRC低于17的换算仅适用于低碳钢.

3.焊接接头的弯曲性能

焊接接头的弯曲性能见表11-6.

表11-6 焊接接头的弯曲性能试验

图11-12 三种类型弯曲试样结构图

(a)横弯;(b)侧弯;(c)纵弯

图11-13 两种弯曲试验方法示意图

(a)三点弯曲;(b)辊筒弯曲

4.管接头的压扁性能

管接头的压扁性能见表11-7.

表11-7 管接头的压扁性能试验

图11-14 管接头的压扁试验

5.焊接接头的冲击韧度

焊接接头的冲击韧度见表11-8.

表11-8 焊接接头的冲击试验

图11-15 两种典型的冲击试件

表11-9 日本压力容器用钢对冲击吸收功的规定

表11-10 中国国家标准对不同强度和用途的几种钢冲击吸收功的规定

图11-16 冲击试验的韧脆转变图

(a)断裂吸收功转变温度;(b)断口形貌转变温度;(c)横向变形转变温度

表11-11 韧脆转变温度确定准则

6.焊接接头的断裂韧度

焊接接头的断裂韧度见表11-12.

表11-12 焊接接头断裂韧度试验

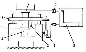
7.焊接接头的微型剪切性能

焊接接头的微型剪切性能见表11-13.

表11-13 焊接接头的微型剪切性能试验

11.1.4.3 焊接接头力学性能的匹配

焊接接头力学性能与母材和焊缝二者之间的强度如何匹配有关.焊缝金属强度比母材高的称为高组配,比母材低的称为低组配.图11-18示出对接接头不同组配的应力与应变关系.从图中可见,接头强度并不等于母材强度,亦不等于焊缝金属强度.图11-19是用闪光对焊法做成的低组配的对接接头,模拟不同宽度的低强焊缝,进行拉伸试验.从试验曲线上可以看出,当相对厚度H/D<0.8时,随着H/D的降低,接头的强度即开始上升.当H/D≤0.2时,接头强度可达母材的强度.

材料的强度和韧性有一定的匹配关系(图11-20).保证结构运行的最低安全限度在材料的强度和韧性匹配关系图中显然应为带有一定斜率的直线S(图11-20).图11-20中还归纳了钢材和不同焊接方法得到的焊缝金属现实的强度和韧性的匹配状况.表11-14分析了不同组配接头的力学性能.

图11-17 微型剪切试验装置原理示意图

1—试样;2—底座;3—剪刀;4—位移传感器;5—x—y记录仪;6—放大器;7—力传感器;8—加载横梁

图11-18 对接接头不同组配的应力与应变关系

(a)高组配;(b)低组配

W—焊缝金属的σ—ε曲线;B—母材的σ—ε曲线;J—接头的σ—ε曲线

图11-19 低强焊缝金属接头强度试验结果

Ⅰ—低强度材料:σh=440MPa,σs=268MPa

Ⅱ—高强度材料:σb=733MPa,σs=461MPa

图11-20 材料的强度和韧性匹配关系图

表11-14 不同组配接头的力学性能

11.1.4.4 焊接接头的受力情况及应力分布

1.对接接头和T形(十字)接头的应力分布

对接接头和T形(十字)接头的应力分布见图11-21.

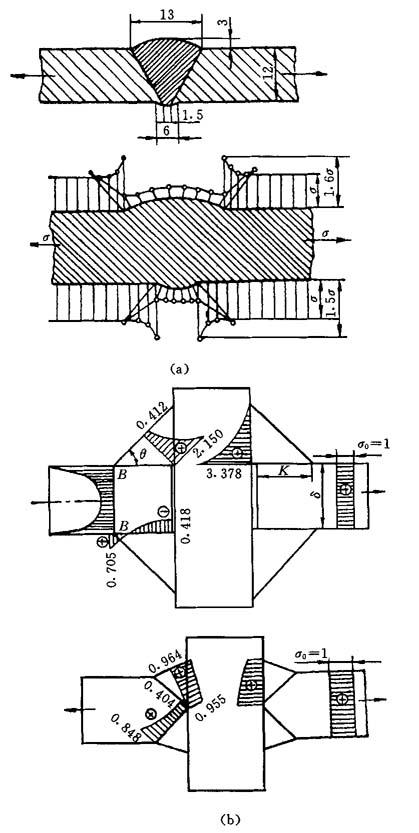
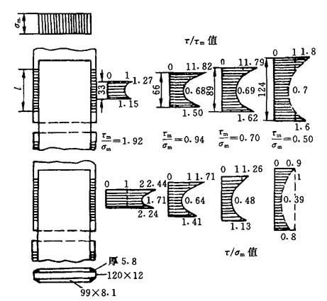
2.搭接接头不同长度侧面角焊缝的应力分布

搭接接头不同长度侧面角焊缝的应力分布如图11-22所示.

3.侧面角焊缝与联合角焊缝搭接接头的应力分布

侧面角焊缝与联合角焊缝搭接接头的应力分布如图11-23所示.

4.倾斜角焊缝搭接接头强度与倾斜角度的关系

倾斜角焊缝搭接接头强度与倾斜角度的关系如图11-24所示.

5.铆接与焊接联合搭接接头的工作特点

图11-21 对接接头和T形(十字)接头的应力分布

(a)对接接头;(b)T形(十字)接头

图11-22 搭接接头不同长度侧面角焊缝的应力分布

τ—切应力;τm—角焊缝平均切应力;σm—盖板平均正应力

图11-23 侧面角焊缝与联合角焊缝搭接接头的应力分布

(a)侧面角焊缝搭接;(b)联合角焊缝搭接F1、F2—分别代表两板的截面积

图11-24 倾斜角焊缝搭接接头强度与倾斜角度的关系

1—太田的实验值;2—范德帕的实验值

铆接与焊接联合搭接接头的工作特点如图11-25所示.

图11-25 铆接与焊接联合搭接接头的工作特点

(a)铆焊联合接头;(b)铆接与焊接的刚度对比

6.正面与侧面角焊缝联合搭接接头载荷—变形(伸长)曲线正面与侧面角焊缝联合搭接接头载荷—变形(伸长)曲线见表11-15.

表11-15 正面与侧面角焊缝联合搭接接头载荷-变形(伸长)曲线

7.电阻焊多排点焊接头的受力情况

图11-26 电阻焊多排点焊接头的受力情况

(a)多排点焊接头各点受力情况;(b)承载能力与焊点排数关系;(c)单排点焊的应力分布

电阻焊多排点焊接头的受力情况如图11-26所示.

8.低碳钢各种焊接接头的静载强度

低碳钢各种焊接接头的静载强度见表11-16.

表11-16 低碳钢各种焊接接头的静载强度

11.1.4.5 焊接接头静载强度计算

1.基本假设

基本假设如下:

(1)焊接残余应力对接头的强度没有影响;

(2)焊趾和余高等引起的应力集中对接头强度没有影响;

(3)接头的工作应力是均匀分布的,以平均应力计算;

(4)正面角焊缝与侧面角焊缝的强度没有差别;

(5)焊脚尺寸的大小对于角焊缝的强度没有影响;

(6)角焊缝都在切应力作用下破坏的,一律按切应力计算强度;

(7)焊缝的余高和少量熔深对接头强度没有影响.

2.计算公式

各种焊缝计算厚度a的确定如图11-27~图11-30所示.斜交接头角焊缝计算厚度a的确定见表11-17.

图11-27 坡口焊缝

图11-28 部分焊透焊缝

图11-29 角焊缝

图11-30 斜交角焊缝(α为斜交角)

表11-17 斜交接头角焊缝计算厚度a的确定

电弧焊接头静载强度基本计算公式见表11-18

表11-18 电弧焊接头静载强度基本计算公式

电阻点焊接头静载强度计算公式见表11-19.

表11-19 电阻点焊接头静载强度计算公式

各种强度理论的应力计算公式见表11-20.

表11-20 各种强度理论的应力计算公式

注:σν—折合应力或相当应力.

作用在焊缝计算断面上力的分解如图11-31所示.

图11-31 作用在焊缝计算断面上力的分解

(a)对接焊缝;(b)角焊缝

在焊缝计算断面上取平行焊缝轴线为x轴,与之垂直的为y轴,垂直计算断面的为z轴.在计算断面上作用任意方向力P时,分解到x轴的分量T=Psinθ,在yoz面上的分量N=Pcosθ.N再分解到y轴上的分量为Ncosa,分解到z轴上的分量为Nsinα.

令焊缝计算断面积F=al,a为焊缝计算厚度,等腰角焊缝a≈0.7K(K为焊脚尺寸),i为焊缝有效长度,结果得:

垂直计算断面的正应力

垂直焊缝轴线的切应力

平行焊缝轴线的切应力

随便看

 

离鸟网收录3541549条中英文词条,其功能与新华字典、现代汉语词典、牛津高阶英汉词典等各类中英文词典类似,基本涵盖了全部常用中英文字词句的读音、释义及用法,是语言学习和写作的有利工具。

 

Copyright © 2004-2024 vtrois.com All Rights Reserved
更新时间:2026/4/7 19:06:46