网站首页  词典首页


请输入您要查询的字词:

 

字词 焊接结构设计
类别 中英文字词句释义及详细解析
释义

焊接结构设计


焊接成型件结构的设计,既要考虑到结构的强度和工作条件等使用性能要求,还要考虑到结构的材料选择、焊缝布置、焊接接头及坡口形式设计等,力求焊接质量好,焊接工艺简便,生产率高,成本低。

(一)焊接结构件材料的选择

选材是结构设计中重要的一环,除应满足载荷、环境等工作条件外,还必须满足焊接工艺性能要求,以及构件体积、重量及成本等方面的要求。

1.一般强度结构件的材料选择

设计承载能力要求不高的焊件时,应尽量选用具有良好焊接性能的低碳钢和强度等级低的低合金结构钢(ωC<0.4%),例如Q235A、16Mn、09Mn2等(表10-21)。若条件允许时,还可适当选用低合金钢代替碳钢,既可适用各种焊接方法制造成型,又可节省钢材、减轻结构重量,还可延长结构使用寿命。并且,由于这类钢塑性良好,焊接应力的影响较小,变形也易于校正,在一般情况下焊接时不需要采用特殊的工艺措施,就能获得优质的焊接接头。

表10-21 常用钢材焊接性分类

2.重要承载结构件材料的选择

在设计强度要求高的重要焊接结构时,应尽量选用强度等级较高的低合金结构钢,如15CrMo、15MnVN和18MnMoNb等;由于其含碳量也较低,焊接性能虽然比低碳钢差些(表10-21),但只要采用合适的焊接材料及工艺,也能获得满意的焊接接头。一般焊接工艺措施为焊前预热100~150℃,焊后立即消除应力等热处理。

3.异质钢材结构件材料的选择

用不同强度和性能的钢材拼焊而成的复合结构中,由于组成零件的钢号、状态及化学成分不同,选材时必须考虑两种不同钢材焊接的可焊性。若焊接结构为低合金钢体系,如Q235A+16Mn,20+16Mn,Q235A+09MnV等,因其化学成分、物理性能和金属组织比较相近,焊接时困难不大,一般要求接头强度大于被焊钢材的最低强度。

若焊接结构为低合金钢和不锈钢或珠光体耐热钢和不锈钢的焊接,如16Mn+1Cr18Ni9Ti或15CrMo+1Cr18Ni9Ti等,由于二者的化学成分、显微组织和物理性能不同,焊接性能也不同,焊接时要求焊接材料的选择和焊接工艺的拟定都比较严格,既要求接头强度,又要求接头成分和组织都必须满足使用性能要求。

4.异种金属连接件材料的选择

焊接结构由性能差别大的异种金属构成,如低碳钢与紫铜、低碳钢与铝合金等,由于二者化学成分、物理性能和金属组织等差别很大,焊接性能很差,不能用熔焊方法获得满意的接头,只能用钎焊才能焊在一起,但钎焊强度低,成本高,因此,仅适用于一般连接件。

5.型材和管材的优先选择

焊接结构应尽量选用型材和管材,这样不仅便于保证焊件质量,还可减少焊缝数量,简化焊接工艺,有利于增加结构的强度和刚度,对于形状比较复杂的结构,则可考虑采用铸-焊、锻-焊或冲-焊结构。图10-39是合理选材减少焊缝的例子。

图10-39 合理选材与减少焊缝

a.钢板焊 b.槽钢焊 c.弯曲钢板焊 d.铸钢法兰焊 e.方形梁设计示例

(二)焊缝位置的设计

焊接结构件中的焊缝布置与产品质量、生产率、成本及工人劳动条件等都有密切关系,合理的焊缝位置是获得优质焊件的关键。

1.焊缝分散布置的设计

焊接结构中,如果焊缝密集或交叉,会使热影响区反复加热而导致金属严重过热、组织恶化、接头性能严重下降,并在焊接残余应力的作用下极易引起断裂。因此,焊缝布置应尽可能地分散(图10-40d、e、f),一般要使焊缝与焊缝之间的距离大于3倍钢板的厚度且不小于100mm。

图10-40 焊缝分散布置的设计

a、b、c.不合理 d、e、f.合理

同时,焊缝长度和焊缝截面也应尽量减少,以便减少焊接加热面积和焊接残余应力及变形,既保证接头性能,又降低焊接材料成本,提高生产率。因此,对于无密封要求的构件,可设计为断续焊缝,或利用型钢和冲压件,以减少焊缝(图10-39)。当然,这需要综合比较结构的质量要求,各种加工方法的成本,以及加工条件的可能性。

2.焊缝对称布置的设计

如图10-41c、d、e所示,焊缝设置应尽量对称,并最好是同时或对称施焊,以减少焊接应力和变形。否则,如按图10-41a、b所示的设计方案施焊,将会产生较大的变形。

图10-41 焊缝对称布置设计

a、b.变形较大 c、d、e、f、g.变形较小

3.焊缝位置便于焊接操作的设计

焊缝设置应便于焊接操作,以满足焊接电极伸入、运条和放置焊剂等需要。图10-42a、b、c所示焊件中的内侧焊缝,焊条无法伸入,所以焊接操作困难,若改为图10-42d、e、f所示方法,施焊就比较方便。

图10-42 焊缝位置便于焊条电弧焊的设计

a、b、c.不合理 d、e、f.合理

又如,自动焊结构的接头应考虑施焊时存放焊剂(图10-43d),点焊与缝焊接头应考虑电极伸入方便(图10-43e、f)。

图10-43 便于自动焊及点焊和缝焊的设计

a.放焊剂困难 b、c.电极难伸入 d、e、f.操作方便

此外,焊缝应尽量放在水平位置,尽可能避免仰焊焊缝,减少横焊焊缝,以减少或避免大型构件的翻转。良好的焊接结构设计,还应尽量使全部或大部焊接部件能在焊前一次装配点固,以便简化焊接工艺、提高生产效率。

4.焊缝避开最大应力与应力集中位置的设计

对于受力较大、较复杂的焊接结构件,在最大应力和应力集中的位置不应该布置焊缝。例如大跨度的焊接钢梁,板料的拼接焊缝应避免放在梁的中间,宁可增加一条焊缝(图10-44d);压力容器的凸形封头应将图10-44b的无折边封头改成图10-44e的碟形封头,使封头与筒体接缝位于一水平直线段,可使焊缝避开应力集中的转角位置,水平直段应不小于25mm。在构件截面有急剧变化的位置或尖锐棱角部位,易产生应力集中,应避免布置焊缝,例如应将图10-44c改为图10-44f。

图10-44 焊缝避开最大应力与应力集中位置的设计

a、b、c.不合理 d、e、f.合理

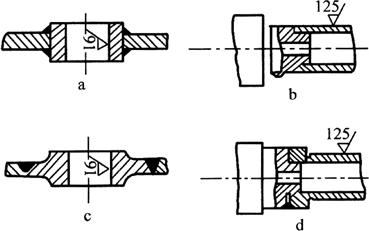
5.焊缝远离机械加工表面的设计

若焊接结构在某些部位要求有较高的精度,且必须加工后进行焊接时,为避免加工精度受到影响,焊缝位置的设计应尽可能离开已加工表面远一些,如图10-45c焊接轮毂件和图10-45d管配件合理的焊缝位置。

图10-45 焊缝远离机械加工表面的设计

a、b.不合理 c、d.合理

(三)焊接接头的设计

1.接头形式设计

焊接结构常用的接头形式有对接、搭接、角接和T形接等。接头形式应根据焊接结构形状、焊件厚度、焊缝强度要求及施工条件等情况来选择,要考虑易于保证焊接质量和尽量降低成本。

对接接头受力比较均匀,是用得最多的接头形式,尤其是熔化焊重要受力焊缝应尽量选用。生产中的锅炉、压力容器、船体、飞机、车辆等结构的受力焊缝常用对接接头。例如蒸压釜封头,若采用图10-46a所示的对接接头,虽然机加工费时费工,但接头容易焊透,易于用射线探伤照相法检查是否存在未焊透、裂纹、夹渣、气孔等焊接缺陷,便于保证焊接质量,是正确的接头设计方案。

图10-46 蒸压釜封头三种接头形式比较

a.对接(合理) b.T形接(不合理) c.搭接(不合理)

图10-45b、c所示的T形接和搭接,虽然机加工比较简单,但均不易焊透,不易用射线探伤检查焊接质量,且应力集中也大。因此,采用这两种接头形式不合理,其不能确保焊接质量。角接与T形接头受力情况较对接接头复杂,但接头成直角或一定角度连接时,必须采用这类接头形式。因此二者也是熔化焊重要受力构件常选用的接头形式。

搭接接头因两工件不在同一平面上,受力时将产生附加弯矩,既影响承拉能力,又耗费金属,但对下料和装配尺寸精度要求不高,承载剪切能力强,因此对于厂房屋架、桥梁、起重机吊臂等桁架结构多用搭接接头(图10-47)。对于异种金属钎焊接头和电阻焊的点焊及缝焊接头,因考虑到对接结合面小,承载能力较差,也必须采用搭接才易保证接头质量。至于电阻对焊的接头,由于受工件尺寸和截面的限制,只好用对接接头。

图10-47 工程起重机吊臂局部

此外,对于薄板气焊或钨极氩弧焊,为避免烧穿或省去添加填充焊丝,常采用卷边接头。

2.坡口形式设计

焊条电弧焊常有V形、U形、X形和双U形四种坡口形式供选择,如图10-48~图10-50所示。V形和U形坡口只需一面焊,可焊到性较好,但焊后角变形较大,焊条消耗量也大些。

图10-48 对接接头坡口形式(单位:mm)

a.Ⅰ形坡口 b.V形坡口 c.X形坡口 d.U形坡口 e.双U形坡口

图10-49 角接接头坡口形式(单位:mm)

a.Ⅰ形坡口 b.单边V形坡口 c.V形坡口 d.单边U形坡口 e.K形坡口

图10-50 T形接头坡口形式(单位:mm)

a.Ⅰ形坡口 b.单边V形坡口 c.K形坡口 d.单边双U形坡口

X形和双面U形坡口两面施焊,受热均匀,变形较小,焊条消耗量较少,但必需两面都可焊到,有时会受到结构形状限制。

U形和双面U形坡口根部较宽,允许焊条伸入与运条,容易焊透,而且焊条消耗量也较小。但因U形和双面U形坡口形状复杂,比V形和X形坡口需用的坡口加工成本高;V形和X形坡口常用气割、碳弧气刨或切削加工,而U形和双面U形必需用切削加工,因此,一般只在重要的受动载的厚板结构中采用。

所以,设计坡口形式时,一定要根据板厚、质量要求、坡口加工方法和焊接工艺的可行性等综合考虑确定,一般要求焊透的受力焊缝,能双面焊的都采取双面焊,首先保证焊接质量,其次才考虑生产率和成本。

同时,为了使焊接接头两侧加热均匀,保证焊接质量,要求两侧板厚或截面相同或相近,不同厚度金属材料对接时,允许的厚度差如表10-22所示,如果t-t1超过表中规定值,或者双面超过2(t-t1)时,应在较厚板料上加工出单面或双面斜边的过渡形式,如图10-51a所示,其斜边过渡长L≥(3~4)(t-t1)。

表10-22 不同厚度钢板对接允许厚度差(mm)

钢板厚度不同的角接接头与T形接头受力焊缝,可考虑采用图10-51b、c所示的过渡形式接头。对于管板熔焊接头,可采取图10-51d所示的接头形式。

图10-51 不同板厚及接头的合理连接

a.合理对接接头 b.管板接头不合理改合理 c.合理角接接头 d.合理T形接头

埋弧焊的接头形式与焊条电弧焊基本相同,但由于埋弧焊选用电流大、熔深大,所以板厚小于14mm时,可不开坡口单面焊接;板厚小于24mm时,可不开坡口双面焊接。焊更厚的工件时,须开坡口,坡口角度应比焊条电弧焊小些,一般为45°~60°,钝边应比焊条电弧焊大些,一般取7~10mm。可参考GB986-80《埋弧焊焊接接头的基本形式与尺寸》选用。

气焊同种金属一般多采用对接接头和角接接头,焊接小于2mm的薄板时,为避免烧穿,可采用卷边接头。而作为钎焊热源焊接异种金属时,多用搭接接头。

其他焊接方法的接头形式,目前尚无国家标准,一般可根据各种焊接方法的特点,参考焊条电弧焊接头形式进行设计。

(四)焊接结构设计举例

一般工程结构梁、容器等焊接结构只要求焊接接头具有足够的强度,对刚度和减振性等无特殊要求。而各种动力机械、传动机械和各类机床上的机体、底座、床身、立柱等焊接或铸-焊、锻-焊组合机器焊接结构件,则不仅要求具有承受各种动、静载荷的强度,而且还应具有较高的刚度和减振性,以及机器工作时整体及各零件之间的几何精度和尺寸稳定性。所以,进行机器焊接结构设计时,除应满足设计焊接结构的一般要求外,还必须满足以下特殊要求。

1.保证结构具有足够的动刚度

由于机器结构不是按强度条件而是按刚度条件设计的,所以其形状复杂,轮廓尺寸较大,且工作应力较低,实测机床床身和立柱的工作应力仅为10~30MPa,只相当于低碳钢许用应力的10%~20%,可见这类焊接结构满足强度要求是较容易的。

但在机器工作时,即使在较大的冲击、振动载荷作用下,也不允许产生超过容许限度的弹性变形,这就要求结构具有足够的动刚度。因此,在设计机器焊接结构时,常采用以下措施来提高结构的动刚度。

(1)尽量采用封闭形截面:如圆筒形、方框形、三角形、箱格形等截面(图10-52a)因为这种截面的结构具有较高的扭转刚度和抗弯性能,在焊接工艺上也容易实现。

图10-52 箱形结构

a.封闭形截面 b.加强肋板形式 1、2、3.简单箱形结构 4、5.箱格结构 6.纵向肋板 7.横向肋板 8、9.对角肋板 10.复杂形对角肋板

(2)合理布置肋板:肋板常用于开式结构中。为了提高抗弯刚性,肋板应平行于弯曲平面(图10-52b中6),采用横向肋板(图10-52中7)对提高抗弯刚性和抗扭刚性作用不大。机床结构常采用45°对角肋板加强的箱形结构(图10-52中8、9),既能显着提高抗扭刚度,也能提高抗弯刚度。图10-52b中10所示箱形结构,带有加强边框和低侧壁的对角肋板,箱内有较大的空间,既可容纳安装机件,又具有良好的刚性。

(3)采用双层壁板结构:如图10-53所示,其内外壁用较薄的钢板,在层间布置肋板。用这种双层板代替厚板,既提高刚性,又节省材料,减轻结构重量。

图10-53 双层壁板结构

2.保证结构具有优良的减振性

用铸铁件制成的机器机构具有优良的减振性,而焊接结构多用轧制型材或锻钢件,铸铁的减振性比钢好,要获得不低于铸铁件减振性的焊接结构,就必须从结构设计上采取相应的措施。

例如,某些结构可利用自身的摩擦阻尼作用来提高其减振性,如图10-54所示,设计时根据结构受力情况,在构件接头附近预留一定表面不焊,通过焊缝收缩,使这些面紧密接触并产生一定的压紧力。当结构受力产生弹性变形时,利用接触面微量相对运动产生摩擦阻尼来消耗振动能量,从而达到减振的效果。

图10-54 利用摩擦阻尼减振的设计示例

此外,采用断续焊缝时,由于未焊部分接触面间产生摩擦阻尼,也能在一定程度上提高结构的减振性,在大型封闭截面的焊接结构中,填入易吸振物质(如膨胀混凝土等)也可提高结构的减振性。

3.保证结构具有合理的焊缝设计

大型结构上的焊缝主要有对接焊缝和角焊缝两种。根据焊缝传递载荷的情况,可以分为工作焊缝和联系焊缝(图10-55)。工作焊缝与被连接元件是串联的,它起着传递全部载荷的作用。联系焊缝与被连接元件间是并联的,它主要起元件之间的相互联系作用,承受的应力比工作焊缝小得多。

图10-55 工作焊缝与联系焊缝

a.工作焊缝 b.联系焊缝

(1)对接焊缝设计:承受冲击、交变载荷的重要工作焊缝,一般应设计成对接焊缝。焊后应对焊缝进行加工,使之与母材平齐或光滑过渡。受拉伸载荷的焊缝,其尺寸应按最大载荷计算,应布置在结构刚性较好的部位。对于受压接头,应使压应力主要由接头接触面传递,可把焊缝设计成图10-55b所示的T形接头联系焊缝。

(2)角焊缝设计:机身、立柱、箱体等机器结构多采用角焊缝。多数情况下,这类焊缝实际承受应力并不大,为防止因焊接应力过大引起裂缝或变形,角焊缝的焊角尺寸不宜过大。根据国内外经验,这类焊缝的焊角尺寸可按以下经验公式确定。

工作焊缝:

4≤K≤0.375t

联系焊缝:

4≤K≤0.25t。

要求角焊缝与结构钢板厚度等强度时,单面角焊缝:

4≤K≤0.75t

双面角焊缝:

4≤K≤0.4t

式中t为被连接板的厚度(mm)。若为不等厚板连接,t值为较薄板的厚度。

当两板的厚度差较大时,为避免因厚板冷却过快而产生焊接裂缝,K值应不小于较薄板的厚度。

(3)肋板焊缝设计:大型结构内部筋板的连接一般为联系焊缝,宜采用间断焊缝。但对结构外表面上的焊缝,为避免应力集中和产生疲劳裂缝,必须设计成小焊脚连续焊缝。

(4)关键部位细节设计:实践证明,许多焊接结构发生的灾难性事故,往往与关键部位的细节设计不当有关。例如,在梁的受拉翼缘上,即使存在少量的堆焊焊缝,也会使结构的疲劳极限下降1/3左右。因此承受动载荷结构的受拉面上,应避免出现垂直于拉应力方向的横向焊缝。图10-56所示为液压挖掘机支撑耳板与主体结构的连接采用角焊缝,若将耳板周围的焊缝全部焊满(图10-56a),则A、B处焊缝出现横向应力集中,使结构支撑力下降。若按图10-56b设计,切去耳板两端尖角,并将纵向角焊缝向两端延长一段距离,使延伸焊缝的高度逐渐降低,与母材平滑过渡,即可大大提高结构的疲劳强度和承载能力。

图10-56 挖掘机支撑耳板焊缝设计

a.不合理 b.合理

4.大型结构的焊后热处理

大型结构焊后要进行低温退火处理,以清除焊接残余应力。对于形状复杂、精度要求高的重要结构,应在粗加工后再进行一次退火处理。

随便看

 

离鸟网收录3541549条中英文词条,其功能与新华字典、现代汉语词典、牛津高阶英汉词典等各类中英文词典类似,基本涵盖了全部常用中英文字词句的读音、释义及用法,是语言学习和写作的有利工具。

 

Copyright © 2004-2024 vtrois.com All Rights Reserved
更新时间:2026/4/6 14:12:09