网站首页  词典首页


请输入您要查询的字词:

 

字词 燃油供给系
类别 中英文字词句释义及详细解析
释义

燃油供给系


(一)功用

燃油供给系的功用是按柴油机工作循环的要求,将一定量的清洁柴油雾化后,定时地喷入燃烧室。

(二)组成

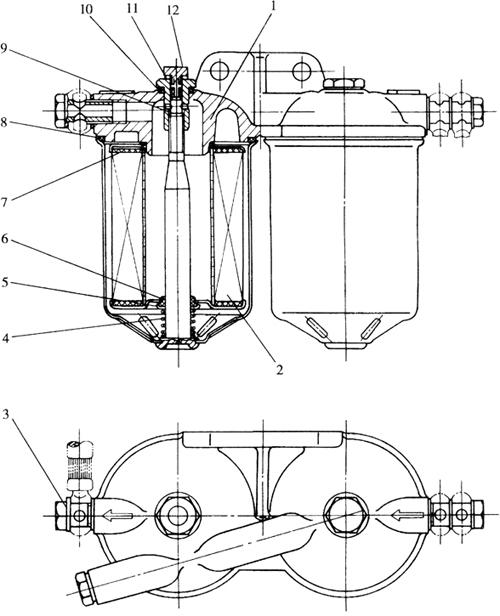
燃油供给系一般由油箱、粗滤器、细滤器、输油泵、喷油泵、喷油器及低压油管和高压油管等组成。单缸柴油机燃油供给系,由于油箱的位置高于喷油泵,所以一般不设输油泵。

单缸和多缸柴油机燃油供给系的组成分别如图1-23和图1-24所示。单缸柴油机油路为油箱→粗滤器(设在油箱内出油口处)→细滤器→喷油泵→喷油器→燃烧室。多缸柴油机燃油供给系的油路是:油箱→沉淀杯→输油泵→两级细滤器→喷油泵→喷油器→燃烧室。喷油器溢漏出来的油由溢流管回到油箱或两级细滤器。

图1-23 单缸柴油机燃油供给系

1.油箱 2.柴油滤清器 3.低压油管 4.喷油泵 5.高压油管 6.喷油器 7.燃烧室

图1-24 多缸(四缸)柴油机燃油供给系

1.喷油器 2.回油管 3.燃油箱 4.高压油管 5.喷油泵进油管 6.柴油滤清器 7.滤清器进油管 8.调速器 9.输油泵进油管 10.输油泵 11.喷油泵 12.预热塞

(三)主要部件

1.油箱 油箱的功用是储存柴油机工作时所需用的柴油。上部有油箱盖,油箱盖上设有小孔,使油箱内腔与大气相通,以便出油通畅。油箱下部出油口处设有油箱开关,在柴油机工作时,将其打开,不工作时,应将其关闭。

2.柴油粗滤器 小型柴油机粗滤器装在油箱出口管内端,它由多孔中心管外面套一个圆筒形纸质滤芯而成。柴油在重力作用下经滤芯过滤后通过出油管流出,使柴油得到初步的过滤。

大中型柴油机一般设有沉淀器,如图1-25所示。它串联在油箱开关和柴油细滤器之间,起粗滤器作用。当柴油经沉淀器的进油口流入时,通过旋流板的4个切向小孔使柴油产生旋转,较大的杂质在离心力的作用下甩向杯壁并沉落到杯底。油中尚存的杂质随柴油向上经滤网再次过滤后,经出油口流出。

图1-25 柴油沉淀器

1.沉淀器座 2.旋流板 3.导流罩 4.滤网 5.放水螺塞 6.密封圈

A.进油 B.出油

3.柴油细滤器 柴油细滤器的功用是滤掉柴油中细微杂质,减少精密偶件的磨损,延长精密偶件的使用寿命。

小型柴油机细滤器多为单级,其构造如图1-26所示。柴油经进油口首先进入滤芯和壳体之间,再透过滤芯流入滤芯内腔,经过细滤后,经出油口流到喷油泵。滤芯与滤清器座之间及滤芯下部的密封垫不得损坏或漏装。否则,柴油得不到细滤。

图1-26 单级柴油细滤器

1.盖 2.放气螺钉 3.固定螺母 4.出油口接头 5、6.密封垫 7.纸质滤芯 8.外壳 9.拉杆 10.密封垫 11.托盘 12.进油口接头

大中型柴油机多采用双级柴油细滤器,其构造如图1-27所示。双级细滤清器工作原理与单级相同,但滤清效果比单级的好,但柴油流动阻力较大。小型柴油机不设双级细滤器是由于未设输油泵,不能产生足够的输油压力,克服较大的流动阻力。

图1-27 双级柴油细滤器

1.滤座 2.滤芯 3.管接头螺钉 4.压紧弹簧 5.托盘 6.中心密封圈 7.滤芯密封圈 8.壳体密封圈 9.拉杆螺母 10.密封垫圈 11.垫圈 12.放气螺塞

4.输油泵 输油泵的功用是将油箱内的柴油吸出,并产生一定的压力,用以克服输油管路和柴油滤清器阻力,将柴油输送到喷油泵的低压油腔。输油泵有齿轮式、膜片式、旋板式和柱塞式等多种形式。柴油机多采用柱塞式输油泵,其构造如图1-28所示。当喷油泵凸轮轴上的输油泵驱动偏心轮的偏心转向推杆时,推杆将柱塞上推,柱塞弹簧受到压缩,柱塞将上腔的油压增加顶开出油阀,柴油经出油阀流到柱塞下腔。当偏心轮的偏心转离推杆时,柱塞弹簧伸张,柱塞在柱塞弹簧的弹力作用下下行,柱塞下方的油压增加,使柴油经出油口流向喷油泵。与此同时,柱塞上腔容积增大产生真空吸力,进油口处的柴油顶开进油阀进入柱塞上腔。只要偏心轮不停地旋转,输油泵就不断地进行泵油。由于利用弹簧弹力将油经出油口压出,利用了出油口处油的压力和弹簧弹力的平衡原理,所以能根据柴油机负荷大小自动的改变柱塞的泵油行程,调节输油量。

图1-28 柱塞式输油泵

1.出油管螺钉 2.出阀弹簧 3.出油阀 4.出油阀座 5.泵体 6.进油管螺钉 7.滤油网 8.进油阀 9.进油阀弹簧 10.手油泵 11.顶杆衬套 12.顶杆 13.滚轮 14.滚轮销 15.滚轮体 16.滑块 17.顶圈 18.螺塞 19.柱塞弹簧 20.柱塞

5.喷油泵 喷油泵的功用是提高柴油压力,并根据柴油机工作循环的要求,定时、定量地将柴油供到喷油器。

小型单缸柴油多采用齿杆齿扇式单体喷油泵和Ⅰ号系列泵,大中型多缸柴油机多采用Ⅱ号、Ⅲ号系列泵。

齿杆齿扇式单体喷油泵的构造如图1-29所示。

图1-29 齿杆齿扇式单体喷油泵

1.防污螺帽 2.出油阀紧帽 3.阻尼块 4.出油阀弹簧 5.出油阀密封圈 6.出油阀 7.出油阀座 8.柱塞套 9.O形密封圈 10.放气螺钉 11、 13.垫圈 12.进油管接头螺钉 14.防污垫圈 15.泵体 16.柱塞套定位销钉 17.调节齿扇 18.卡簧 19.铅封 20.柱塞 21.弹簧上座 22.柱塞弹簧 23.弹簧下座 24.推杆 25.调整垫片 26.滚轮 27.滚轮内圈 28.滚轮销 29.齿杆组件 30.导向销

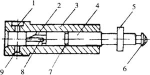
柱塞偶件如图1-30所示,它是由柱塞和柱塞套组成的精密偶件。柱塞头部开有直槽和斜槽,中部开有环形槽,尾部加工有凸肩和小圆台。套筒加工有进、回油孔,靠回油孔一边加工有定位槽,壳体上的定位螺钉拧入定位槽内,对套筒起定位作用。

图1-30 柱塞偶件

1.回油孔 2.斜槽 3.柱塞套筒 4.柱塞 5.凸肩 6.小圆台 7.环槽 8.直槽 9.进油孔

Ⅰ号系列喷油泵的柱塞偶件与上述不同的地方是柱塞头中部有轴向孔和径向孔,两孔相互沟通,尾部压有调节臂。

出油阀偶件如图1-31所示。它由出油阀和阀座组成。出油阀上部制成锥体,在不供油时与阀座锥面紧密贴合,防止高压油管的柴油倒流;下部制成十字形断面,在供油时,以便柴油流向高压油管,并对出油阀起导向作用;中部制有减压环带,在停止供油时,出油阀落座过程中,它首先切断高压油管与柱塞上腔的通道,当它全部落入阀座时,就让开在高压油路内所占的容积,使高压油路内的压力迅速降低,从而起到减压作用。降低高压油路内的剩余压力的目的是防止喷油器二次喷射和后期滴油。

图1-31 出油阀偶件

1.出油阀 2.出油阀座

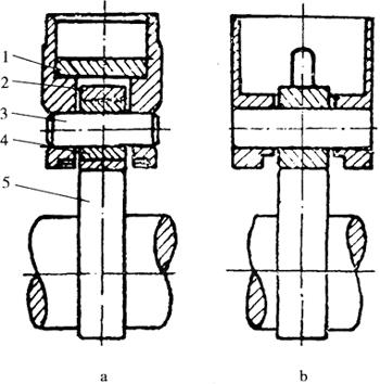
滚轮体如图1-32所示。齿杆齿扇式喷油泵的滚轮体如图1-32b所示。挺柱外圆上开有长槽,与泵体上的导向螺钉相吻合,使滚轮体只能作上下运动不能转动,保证滚轮与喷油泵的驱动凸轮正确的接触。Ⅰ号系列泵滚轮体的构造如图1-32a所示。与上述滚轮体的主要区别是它设有调节垫块,改变垫块的厚度,可以调节喷油泵开始供油的时间。

图1-32 滚轮体

a.Ⅰ号系列喷油泵滚轮体 b.齿杆齿扇式喷油泵的滚轮体

1.调节垫块 2.外滚轮 3.滚轮轴 4.内滚轮 5.凸轮

油量调节机构的功用是根据柴油机负荷要求,调节喷油泵的循环供油量。齿杆齿扇式喷油泵油量调节机构如图1-33a所示。当齿杆在加速杆或调速器控制下作左右运动时,通过与其啮合的齿扇带动控制套和柱塞作左旋或右旋,由于柱塞旋转到不同位置,供油量也不同,所以油量调节机构能调节供油量。

图1-33 油量调节机构

a.齿杆齿扇式喷油泵油量调节机构 b.Ⅰ号系列喷油泵油量调节机构

1.柱塞套 2.柱塞 3.齿杆 4.齿扇 5.调节套 6.锁紧螺钉 7.拨叉 8.供油拉杆 9.调节臂

Ⅰ号系列喷油泵油量调节机构如图1-33b所示。与上述调节机构相比,不同的地方是采用调节臂、调节叉式。调节叉固定在油量拉杆上,柱塞上的调节臂装在调节叉内,当油量拉杆移动时,调节叉通过调节臂带动柱塞旋转,进行供油量的调节。

四缸柴油机用的Ⅱ号系列泵的构造如图1-34所示。这种喷油泵实际上是由4个相同的分泵共处一个壳体、共用一根凸轮轴和一根油量拉杆组合而成的喷油泵,每个分泵内部构造与Ⅰ号单体系列泵相同只是在尺寸上有所差别。

图1-34 四缸柴油机Ⅱ号系列泵

1.出油阀紧座 2.出油阀弹簧 3.出油阀 4.橡胶圈 5.铜垫 6.出油阀座 7.定位螺钉 8.柱塞 9.柱塞套 10.喷油泵上体 11.拨叉 12.输油泵总成 13.凸轮轴 14.滚轮体 15.定位螺钉 16.调节臂 17.弹簧座 18.柱塞弹簧 19.喷油泵下体 20.供油拉杆 21.检查窗盖板 22.喷油泵固定板 23.调整垫片 24.定位接盘 25.花键轴套

喷油泵的工作原理如图1-35所示。

图1-35 喷油泵工作原理

a.吸油 b.开始供油 c.供油 d.供油中止 e.供油行程

1.出油阀弹簧 2.出油阀座 3.出油阀 4.柱塞套 5.柱塞 6.泵体 7.柱塞弹簧 8.弹簧座 9.滚轮体 10.凸轮轴

A.进油孔 B.回油孔

(1)供油原理:柴油机工作时,当凸轮的凸起部位转离滚轮体时,柱塞在柱塞弹簧的作用下向下运动(图1-35a),柱塞上部空间产生吸力,油泵低压油道的柴油从柱塞套的进、回油孔被吸入柱塞套,进行吸油过程;当柱塞移到最下方时,吸油过程结束。当凸轮转向滚轮时,凸轮的凸起部位通过滚动体使柱塞向上运动。当柱塞上移到封闭进油孔和回油孔时,柱塞上部空间形成一个封闭油腔(图1-35b);柱塞稍一上行,油腔内的油压急剧增加,克服出油阀弹簧的弹力和高压油管中的剩余压力,使出油阀打开,高压柴油经出油阀进入高压油管,即开始供油。供油开始后,柱塞还继续上行,继续供油(图1-35c)。当柱塞上移到其上的斜槽与柱塞套的回油孔相沟通时(图1-35d),柱塞上腔的油经柱塞的轴向油道、径向油道、斜槽和柱塞的回油孔流回低压油道,上腔的油压迅速降低,出油阀在出油阀弹簧的弹力和高压油管中的油压作用下急剧下落,关闭出油口,供油结束。但柱塞仍继续上移,走完整个供油行程。此后,柱塞又开始向下移动,进行吸油过程。只要柱塞不停止上下运动,喷油泵就不停地供油。

(2)油量调节原理:从上述的供油过程可以看出,柱塞上的斜槽对准回油孔的时间愈迟,柱塞供油的有效行程就愈大,供油也就愈多。相反,如回油愈早,则供油愈少。因此,该喷油泵是在供油总行程不变的条件下,通过油量调节机构转动柱塞,改变回油时刻(即改变供油有效行程)即可实现对油量的调节。

(3)供油时刻的调节原理:供油时刻的早晚常以供油提前角的大小来表示。供油提前角是喷油泵在压缩行程上止点前开始供油时,曲柄和汽缸中心线之间的夹角。供油提前角愈大,则开始供油的时刻就愈早;反之则晚。供油提前角的调节原理是改变柱塞的安装高度。改变柱塞安装高度的方法,是更换不同厚度的调节垫块。调节垫块愈厚,柱塞安装高度愈大,封闭柱塞套进、回油孔的时刻愈早,供油提前角愈大。螺旋齿杆式喷油泵的供油提前角,是采用改变喷油泵与机体之间的调节垫片厚度的方法进行调节的。

6.喷油器 喷油器的功用是将喷油泵输送来的柴油以一定压力和方向喷入汽缸,并使柴油雾化后与空气形成良好的可燃混合气。

喷油器的构造如图1-36所示。它由壳体、调整螺钉、弹簧、推杆、针阀和针阀体等主要零件组成。壳体通过油管接头和高压油管与喷油泵相通,内部加工有径向油道和轴向油道,其内腔装有顶杆、弹簧,上端拧有调整螺钉。拧动调整螺钉,改变弹簧的预紧力,可以调整喷油器的喷油压力。当喷油压力调到符合要求后,由锁紧螺母锁紧。锁紧螺母上装有回油管接头。针阀和针阀体是一对精密偶件,用紧帽与喷油器壳体下端紧密连接。针阀体上端开有环形油槽,与壳体的油道相通,下面与针阀大锥面下方的压力室相通。针阀体下端开口有喷孔,在不喷油时,为针阀下部的小锥面所封闭。

图1-36 喷油器

1.管头螺钉 2.锁紧螺帽 3.调整螺钉 4.弹簧 5.喷油器壳体 6.油道 7.顶杆 8.喷油器紧帽 9.针阀体 10.针阀 11.压力室

在喷油泵不向喷油器供油时,弹簧的预紧力通过顶杆使针阀紧密地封闭针阀体的喷孔。在喷油泵向喷油器供油时,供来的高压油经喷油器壳的径向和轴向油道、针阀体上端的环形油槽和针阀体向下的斜形油道进入针阀大锥面下部的压力室,压力室内的油压对针阀产生向上的推力,当这一推力超过弹簧的预紧力时,针阀即被顶起,让开喷孔,压力室内的油在压力室和汽缸的压力差作用下,被喷入汽缸。在喷油泵供油结束时,压力室的油压下降,针阀在弹簧的作用下又迅速下落,封闭喷孔。

当针阀和针阀体磨损后,压力室内的油将从针阀与阀体之间的缝隙流到针阀的上方,如果针阀上方的油积累过多,将对针阀向上运动产生附加阻力而影响开始喷油压力和喷油时刻。为了克服这一影响,所以在喷油器上部装有回油管接头,通过回油管将渗漏到柱塞上部的油及时地引回到油箱或柴油滤清器中。

随便看

 

离鸟网收录3541549条中英文词条,其功能与新华字典、现代汉语词典、牛津高阶英汉词典等各类中英文词典类似,基本涵盖了全部常用中英文字词句的读音、释义及用法,是语言学习和写作的有利工具。

 

Copyright © 2004-2024 vtrois.com All Rights Reserved
更新时间:2026/5/30 19:30:02