网站首页  词典首页


请输入您要查询的字词:

 

字词 电子束焊接原理
类别 中英文字词句释义及详细解析
释义

电子束焊接原理


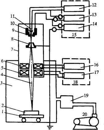
图6-22是电子束焊接原理示意图。阴极10加热后发射电子,电子在加速电压的作用下,被加速到光速的0.3~0.7倍,形成高速电子束流。经电子透镜(聚焦线圈)6聚焦,偏转线圈5导向,高速电子束流导入焊接区。高速电子束流撞击工件,电子动能转变成热能,使金属迅速熔化和蒸发,在高压金属蒸气的作用下,熔化金属被排开,为电子束流继续撞击深层的固体金属创造了条件。在不断的撞击过程中,电子束迅速在工件上钻出一小孔,小孔周围被液态金属所包围。随着电子束与工件的相对移动,液态金属沿小孔周围流向熔池后部,随后冷却凝固成焊缝。

图6-22 电子束焊接原理示意图

1-焊接台 2-焊件 3-真空室 4-电子束 5-偏转线圈 6-聚焦线圈 7-电子枪 8-阳极 9-聚束极 10-阴极 11-灯丝 12-灯丝电源 13-轰击电源 14-高压电源 15-高压电源系统 16-聚焦电源 17-偏转电源 18-控制系统 19-扩散泵 20-机械泵

随便看

 

离鸟网收录3541549条中英文词条,其功能与新华字典、现代汉语词典、牛津高阶英汉词典等各类中英文词典类似,基本涵盖了全部常用中英文字词句的读音、释义及用法,是语言学习和写作的有利工具。

 

Copyright © 2004-2024 vtrois.com All Rights Reserved
更新时间:2026/4/8 7:16:52