网站首页  词典首页


请输入您要查询的字词:

 

字词 电感式接近开关
类别 中英文字词句释义及详细解析
释义

电感式接近开关


1.电感式接近开关的适用范围

电感式接近开关适用于交流50Hz,额定工作电压90~250V,直流额定工作电压10~30V的电路中,具有短路保护电路,起反连接保护电路之用。

2.电感式传感器工作原理

电感式接近开关一般有圆柱螺纹型、圆柱型、角柱型、方型、扁平型、槽型等类型。电感式传感器由三大部分组成:振荡器、开关电路及放大输出电路(见图1-120)。振荡器产生一个交变磁场,当达到感应距离时,在金属目标内产生涡流,从而导致振荡衰减,以至停振。振荡器振荡及停振的变化被后级放大电路处理并转换成开关信号,触发驱动控制器件,从而达到非接触式检测的目的。

图1-120 电感式传感器工作原理

3.电感式接近开关的常用型号及主要技术参数

电感式接近开关的主要技术参数见表1-154。

表1-154 电感式接近开关的主要技术参数

4.电感式接近开关的外形及安装尺寸

(1)圆柱螺纹型系列电感式接近开关的外形尺寸见图1-121和表1-155。

图1-121 圆柱螺纹型系列外形尺寸

表1-155 圆柱螺纹型系列电感式接近开关的外形尺寸

注:响应频率为直流,交流的响应频率为25Hz。

(2)圆柱型系列电感式接近开关的外形尺寸见图1-122和表1-156。

图1-122 圆柱型系列电感式接近开关尺寸

表1-156 圆柱型系列电感式接近开关的外形尺寸

注:响应频率为直流,交流的响应频率为25Hz。

(3)矮圆柱型系列电感式接近开关的外形尺寸见图1-123和表1-157。

图1-123 矮圆柱型系列电感式接近开关尺寸

表1-157 矮圆柱型系列电感式接近开关的外形尺寸

(4)角柱型系列电感式接近开关的外形尺寸见图1-124和表1-158。

图1-124 角柱型系列电感式接近开关尺寸

表1-158 角柱型系列电感式接近开关的外形尺寸

注:交流的响应频率为25Hz。

(5)方型系列电感式接近开关的外形尺寸见图1-125和表1-159。

图1-125 方型系列电感式接近开关尺寸

表1-159 方型系列电感式接近开关的外形尺寸

注:交流的响应频率为25Hz。

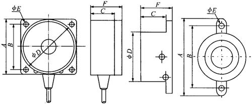
(6)扁平型系列电感式接近开关的外形尺寸见图1-126和表1-160。

图1-126 扁平型系列电感式接近开关尺寸

表1-160 扁平型系列电感式接近开关的外形尺寸

注:交流的响应频率为25Hz。

(7)槽型系列电感式接近开关的外形尺寸见图1-127和表1-161。

图1-127 槽型系列电感式接近开关尺寸

表1-161 槽型系列电感式接近开关的外形尺寸

随便看

 

离鸟网收录3541549条中英文词条,其功能与新华字典、现代汉语词典、牛津高阶英汉词典等各类中英文词典类似,基本涵盖了全部常用中英文字词句的读音、释义及用法,是语言学习和写作的有利工具。

 

Copyright © 2004-2024 vtrois.com All Rights Reserved
更新时间:2026/4/9 5:41:38