网站首页  词典首页


请输入您要查询的字词:

 

字词 畜类屠宰装备
类别 中英文字词句释义及详细解析
释义

畜类屠宰装备


1 概述

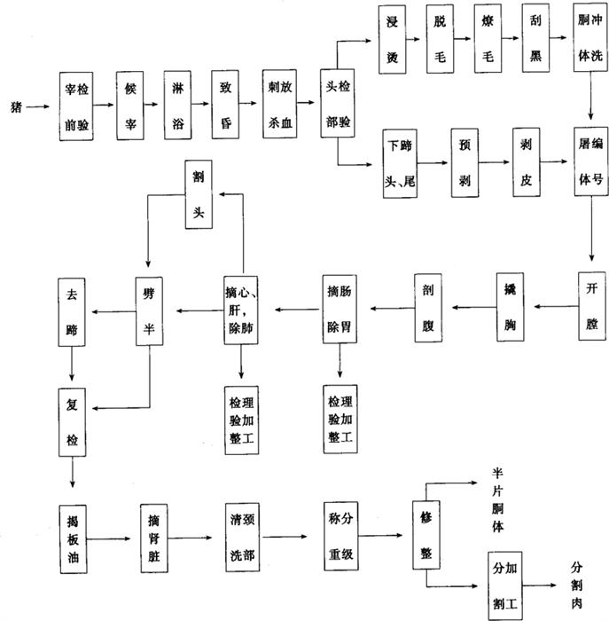
畜类屠宰装备主要用于对猪、牛、羊及兔等家畜进行工厂化宰杀加工获得净膛胴体及副产品。猪、牛、羊及兔等畜类的屠宰工艺基本类似,但固型体差异较大,所采用的屠宰设备也不尽相同。一般将其分为猪屠宰设备、牛羊屠宰设备和兔屠宰设备。国内畜类屠宰装备与国外同类产品相比,差距较大。主要体现于:

(1)缺少新工艺及与之配套的设备。

(2)制造质量粗糙,尤其是外观质量及气动、液压传动元件质量不过关。

(3)卫生状况不佳。国内尼龙材料强度不过关,不锈钢型材品种少,因此大部分设备均采用普通碳钢制造,达不到国外机械卫生条件。

2 加工工艺

猪屠宰一般有剥皮猪加工和带皮猪加工两种加工工艺,但大部分工序相同。因此,图1-4-1中,单流程部分为相同加工工序;双流程部分上部流程表示为带皮猪加工工艺,下部流程为剥皮猪加工工艺。

图1-4-1 猪屠宰加工工艺流程

牛和羊的屠宰加工工艺基本相同(图1-4-2)。只是羊加工成品为带骨胴体,因此屠宰加工中没有劈半、分截等工序。此外,牛和羊的屠宰设备除外形和构件尺寸差异较大外,其结构形式与工作原理基本相同。

图1-4-2 牛屠宰加工工艺流程

兔因其形体比其他家畜小得多,因此它的屠宰加工工艺较类似于家禽,所采用的屠宰设备也比较特殊(图1-4-3)。

图1-4-3 兔屠宰加工工艺流程

下面以猪屠宰为主,介绍畜类屠宰加工工艺流程。

2.1 宰前检验

宰前检验是确保屠宰的生畜来自安全非疫区,健康无病,并取得非疫区证明和产地检疫证明。对可疑的生畜进行隔离观察;对确定的病畜及时送急宰间处理;将健康的生畜送待宰间候宰。

2.2 候宰

生畜在屠宰场待宰间内,一般需断食、饮水,休息12~24h(兔为6~12h),屠宰前3h停止给水。待宰间空气要流通,并有自动洒水装置,以保证生畜在安静和清洁的状态下,被致昏放血,以获得好的肉质。

2.3 致昏

致昏即使生畜暂时失去知觉,避免屠宰时因挣扎、痛苦等刺激造成血管收缩,放血不净而降低肉的品质。致昏还有利于保持环境安静,保证工作人员的安全和降低劳动强度。

大型生畜的致昏一般采用CO2气体麻醉法和电击昏两种方法。CO2气体麻醉法费用较高,国内目前尚未在加工生产线上使用。通常采用电击昏,工作电压一般在70~90V,工作电流为0.5~1.5A,电麻时间为5~10s。

2.4 刺杀与放血

生畜击昏后要尽快刺杀,刺杀位置要准确,使进刀口能充分流血。丹麦、瑞典、德国等发达国家已采用空心放血刀刺杀,利用真空设备收集血液,卫生条件好。国内基本上为人工刺杀、放血。

2.5 浸烫、脱毛及胴体表面处理

猪体一般在水温58~60℃的热水中浸烫,浸烫时间为6~8min。浸烫后的猪体送到脱毛机内脱去鬃毛。残余的部分细毛和茸毛可采用喷焰法烧灼,再送入刮黑机和擦净机内将胴体表面处理干净。

2.6 剥皮加工

畜体刺杀放血后,割去头、蹄、尾及预剥下颌区、大腿部和前肢飞节部的皮层,然后采用机械将整张皮革剥除。

2.7 摘除内脏

对于大型生畜摘取内脏时,一般分为摘除腹部内脏和摘除胸腔内脏两个操作程序。

摘除腹部内脏应注意:

(1)开膛准确。

(2)刺杀后最迟应在30min之内取出全部肠子。

(3)不能损坏肠子,以防粪便污染胴体内腔和其他器官。

(4)与胴体同步检验。

摘除胸腔内脏应注意:

(1)开胸准确。

(2)与胴体及腹部内脏同步检验。

2.8 劈半

沿胴体背脊椎骨正中线的软组织部分切开,将胴体分割成2片。

2.9 冷却

经水洗和检验后的胴体或半片胴体(猪、牛等大型生畜),除热剔骨用于肉制品加工外,应尽快送到冷却间预冷。预冷温度0~5℃,相对湿度75%~84%,冷却后的肉中心温度不高于7℃。

3 关键装备

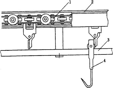
3.1 悬挂输送机

悬挂输送机主要用于将屠体以及白条肉传送到各道工序进行作业。

悬挂输送机一般由驱动装置、张紧装置、牵引构件(即链条)、回转装置、轨道及其吊架等组成。根据其运行方式又可分为牵引式(图1-4-4)和推动式(图1-4-5)。

图1-4-4 牵引式悬挂输送链

1-轨道 2-输送链 3-滑架及吊钩

图1-4-5 推动式悬挂输送链

1-传运链 2-槽轨 3-管轨 4-承载滑架及吊钩

牵引式悬挂输送机主要特点是承载与运行共用同一滑架和轨道,一般多用于单向性工艺流程。

推动式悬挂输送机分别有运行滑架(即推进滑架)和承载滑架,并在各自轨道上同步运行。它的运送特点在于借助道岔可使承载滑架由一条承载轨道(主线)进入支线(辅线)或另一条承载轨道,实现工艺流程所需的分类、储存及其他作业要求。

在选用悬挂输送机时,还要注意有的牵引构件可进行水平及垂直面运行,有的只限于水平面运行。

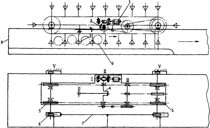
3.2 麻电笼(图1-4-6)

麻电笼用于猪屠宰的击昏工序,以利刺杀放血。麻电笼一般由笼体、电极侧门、防护门、活动门等部分组成。

图1-4-6 麻电笼

1-麻电笼体 2-电极侧门 3-防护门 4-电极牵引 5-栅栏 6-活动门 7-底板

当猪被赶进麻电笼内,马上被2个电极侧门、底板和上部栅栏组成的锥形口定位夹紧。随即麻电电流回路接通,电击猪头部,将其麻昏。麻昏2~4s后,切断麻电电流回路,同时电磁铁回路接通,打开电极锁闩。2个侧门被猪体自重打开,猪体滑到输送带上进行扎脚挂钩。侧门在弹簧作用下回到原位。

3.3 烫猪机

烫猪机用于完成猪带皮加工工艺中的浸烫作业。国内大中型猪屠宰线-般使用摇烫式烫猪机(图1-4-7)。它主要由烫池、碟式推挡架、驱动装置和传动装置等部分组成。

图1-4-7 摇烫式烫猪机

1-电机 2-蜗轮蜗杆传动 3-碟式推挡架 4-曲轴连杆传动 5-六角轮 6-滚轮 7-傍架 8-烫池 9-猪体

猪宰杀放血后,逐条落入烫猪机碟式推挡架内(每挡限装一条猪体)。电机通过蜗轮蜗杆传动机构驱使碟式推挡架往复运动,从而达到对猪体的振烫作用。同时曲轴端头的链轮带动六角轮转动,使传送带带着猪体缓速向前运行。对于体重过大的猪体,通过烫池一侧预留空道,人工浸烫,输送。

3.4 刮毛机(图1-4-8)

图1-4-8 三滚筒式猪刮毛机

1-摆杆 2-小凸轮 3-大凸轮 4-软刮毛滚筒 5-连杆 6-小硬刮毛滚筒 7-大硬刮毛滚筒 8-机身 9-捞耙

刮毛机用于完成猪带皮加工工艺中的脱毛作业。根据屠宰加工能力可选用三滚筒式、四轴或五轴刮毛机。刮毛机主要由机架、捞耙、软刮毛滚筒、硬刮毛滚筒和活栅栏门等组成。

浸烫好的猪体拨入捞耙内,然后启动离合器,打开活动栅门。同时,捞耙上升将猪体抛入刮毛机内。捞耙回位,栅栏门关闭。猪体在软刮毛滚筒和硬刮毛滚筒的作用下,连续翻滚,刮毛机刮去猪毛。刮毛作业完毕,启动离合器,软刮毛滚筒上升,猪体被硬刮毛滚筒上的刮毛片拨出机外。同时,捞耙和活动栅栏门等重复前述动作。

3.5 劈半设备

劈半设备用于将净膛后的胴体从脊背中线分割成两片。国内普遍使用的有往复式劈半电锯和桥式圆盘劈半机。最近又研制出更为先进的ZFP160自动猪体分剖机,这种劈半机模拟人工劈切动作,自动仿形劈半,劈切位置准确,碎肉末少。

3.5.1 往复式劈半电锯(图1-4-9) 往复式劈半电锯主要由偏心块、连杆、锯弓、锯条、电机等组成。

图1-4-9 往复式劈半电锯

1-挂钩 2-锯弓 3-锯条 4-把手 5-电机 6-平衡器

往复式劈半电锯悬吊在与钢梁相连的平衡器上。当胴体到达劈半位置时,人工把持电锯启动开关、定位。电机带动偏心块,通过连杆使滑块产生直线往复运动。劈半锯条与滑块连接,随之往复运动。在人工辅助下,完成对胴体的劈半作业。

3.5.2 桥式圆盘锯劈半机(图1-4-10) 桥式圆盘锯劈半机主要由圆盘锯片、分导头、V型引进槽、U型引出槽和加力输送架等部分组成。

图1-4-10 桥式圆盘锯劈半机

1-加力输送架 2-U型引出槽 3-分导头 4-圆盘锯片 5-V型引进槽

胴体送入加力输送架轨道后,传送链推爪推动载重滑架,将胴体送入锯片前端V型引进槽内,使胴体脊背中线正对锯片。传送链继续推动滑架,从而完成劈半作业。锯片后端设有U型斜槽,使劈半后的胴体恢复立挂状态,自行进入常行轨道。

3.5.3 自动猪体分剖机 自动猪体分剖机主要由机架、升降架、同步平移系统、劈切装置、气动系统、自控系统和冲洗系统等部分组成。

当输送链将胴体送到劈半作业区时,传感器将讯号传递给控制系统。控制系统发出“执行命令”给气动系统等。劈切装置到位,由上下仿形轮保证劈切位置对正胴体脊背中线,两把劈切刀对胴体进行劈切。同步平移系统保证劈切装置与输送链同步运行,垂直劈切。劈切作业完毕,传感器发出讯号,由控制系统发出“回位命令”给各工作系统。同时命令冲洗系统对劈切位置进行冲洗,准备对下面一个胴体进行劈半作业。

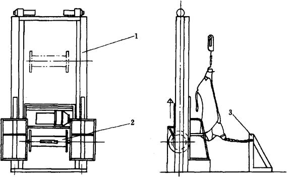
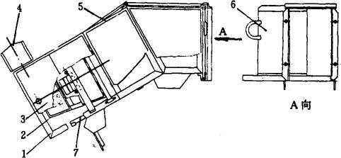
3.6 牛翻倒箱(图1-4-11)

图1-4-11 牛翻倒箱

1-箱体 2-曲柄连杆机构 3-脚踏板 4-活动侧门 5-翻转底板 6-钢丝绳 7-机架

翻倒箱用于将大生畜在箱内电麻或枪击致昏,使其翻倒便于扎脚和刺杀。它主要由机架、箱体、活动侧门、翻转底板和控制机构等部分组成。

牛进入翻倒箱,经电麻或枪击致昏后倒下,操作者踩压脚踏板,通过曲柄连杆机构打开活动侧门锁钩。在牛体重量作用下,底板向下翻转并通过钢丝绳带动侧门上升,畜体顺势滑出。然后活动侧门在自重下回位,底板随之由钢丝绳带动复位。

3.7 倾斜提升机(图1-4-12)

图1-4-12 倾斜提升机

1-驱动装置 2-机架 3-推进器 4-钢梁 5-传动链

倾斜提升机用于将击昏后的畜体提升到放血轨道上或将刺杀放血后的畜体提升到解剖轨道上。倾斜提升机主要由机架、驱动装置、传动链和推进器等部分组成。

作业时,传动链带动按一定间隔布置的推进器,推进器推动滑架吊钩沿倾斜轨道上升,从而将滑架吊钩上的畜体推入放血或解剖轨道。

3.8 剥皮机

剥皮机是牛、羊、兔屠宰加工中的主要设备之一。常用的牛、羊剥皮机有链(或钢丝绳)式剥皮机和滚筒式剥皮机。牛剥皮时一般配有独立的可升降工作台,用于剥皮过程中,随时修割,防止带膘和破皮。兔皮一般采用三角皮带的夹持来完成。

3.8.1 链式剥皮机(图1-4-13) 链式剥皮机主要由机架、扯皮链、驱动装置和栓腿架等部分组成。

图1-4-13 链式剥皮机

1-驱动装置 2-机架 3-扯皮链 4-栓腿架

牛预剥后,先把两前腿固定在栓腿架上,再用套链将预剥开的颈部皮套夹住,挂到扯皮链上。启动机器,扯皮链由下而上运行,完成剥皮作业。

3.8.2 滚筒式剥皮机(图1-4-14) 滚筒式剥皮机主要由机架、扯皮滚筒、驱动装置和栓腿架等组成。

图1-4-14 滚筒式剥皮机

1-机架 2-滚筒 3-栓腿架

牛预剥后,先把两腿固定在栓腿架上,将预剥好的皮套头塞进滚筒夹口内。启动驱动装置,扯皮滚筒由下而上转动运行,完成剥皮作业。

3.8.3 兔剥皮机(图1-4-15) 兔剥皮机主要由机架、驱动装置、三角带和扯皮轮等组成。

图1-4-15 兔剥皮机

1-驱动装置 2-机架 3-扯皮轮 4-三角皮带

工作时,将预剥下的皮套头夹入扯皮轮入口,扯皮轮一边转动一边将兔皮剥下,兔胴体随悬挂输送链向前运行。

3.9 同步卫生检查设备(简称同步卫检设备)

同步卫生检查是畜类屠宰工艺中的重要工序,胴体与内脏分别同步输送,准确检查生畜内脏有否病变,确保肉质质量。常采用的同步卫检设备有落地式同步卫检盘式输送机和链板传送同步卫检装置二种。

3.9.1 盘式输送机(图1-4-16) 盘式输送机主要用于输送生畜内脏等副产品,它与悬吊胴体的悬挂输送机(参见本节3.1)同步运行,进行内脏同步卫检以及初步加工处理。

图1-4-16 盘式输送机

1-机架 2-主动滚筒 3-托盘 4-传送链 5-从动滚筒 6-罩板盘式输送机主要由机架、主动滚筒、托盘、传送链和从动滚筒等部分组成。

3.9.2 链板传送同步卫检装置(图1-4-17) 链板传送同步卫检装置由2台推进器、1台电机和2条传送链组成传送系统。2条传送链平行同向运行,一条悬挂输送胴体,一条悬挂输送脏器,从而满足同步卫检要求。

图1-4-17 链板传送同步卫检装置

1-链板推进器 2-脏器输送链 3-电机 4-胴体输送链

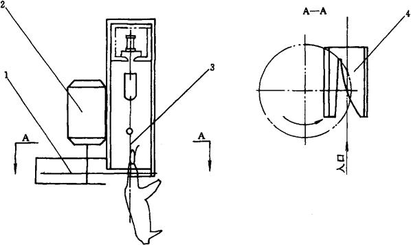
3.10 开胸锯(图1-4-18)

图1-4-18 开胸锯

1-手把 2-驱动装置 3-圆盘锯片

开胸锯用于锯开牛胸骨。它主要由圆盘锯片、驱动装置和手把等部分组成。作业时,操作者手持开胸锯(配有重量平衡器),将锯片对正牛胸骨自上而下运动,锯开牛胸。

3.11 电麻割兔头机(图1-4-19)

图1-4-19 电麻割兔头机

1-传送链 2-机架 3-兔脖卡 4-电麻触头 5-割刀 6-驱动Ⅰ 7-驱动Ⅱ

电麻割兔头机用于完成兔击昏和宰杀两道工序。它主要由机架、传送链、兔脖卡、割刀、驱动Ⅰ和驱动Ⅱ等部分组成。

工作时,操作者用手掣住兔耳,将活兔颈部推进兔脖卡。传送链向前传送,兔脖卡与电麻触头接通,将活兔击晕。然后将兔右后脚吊挂到悬挂输送线上的吊钩内,随之兔头被高速旋转的割刀切掉,兔身随悬挂输送线继续向前运行。

3.12 割前脚机(图1-4-20)

图1-4-20 割前脚机

1-驱动Ⅰ 2-割刀 3-卡盘 4-机架 5-驱动Ⅱ

割前脚机用于割去兔的两只前脚。它主要由机架、卡盘、割刀、驱动Ⅰ和驱动Ⅱ等部分组成。

工作时,兔右后脚吊挂在悬挂输送线上,操作者用手握住兔前脚最前端,将前脚对齐后,卡入卡盘,卡盘卡片推动兔前脚至切割位置,由高速旋转的割刀切去,兔身随悬挂输送链向前运行。

3.13 割左后脚机(图1-4-21)

图1-4-21 割左后脚机

1-割刀 2-护罩 3-驱动电机 4-机架

割左后脚机主要由机架、割刀、护罩和驱动电机等组成。

工作时,兔右后脚吊挂在悬挂输送线上,由操作者用手分别握住兔脚前端和腿部,借输送线运行之势,推入切割口,由高速旋转的割刀切去左后脚,兔身随输送链继续向前运行。

3.14 割右后脚机(图1-4-22)

图1-4-22 割右后脚机

1-割刀 2-驱动装置 3-吊钩 4-引导块

割右后脚机安装在悬挂输送线上,用于切割兔胴体吊挂在悬挂输送线挂钩内的右后脚。它主要由吊挂架、驱动装置、割刀和引导块等组成。

工作时,兔胴体随输送线向前运行,吊挂在吊钩上的右后腿进入引导块切割位置,高速旋转的割刀切断右后脚,胴体从悬挂输送链上落下,兔右后脚则由卸脚机卸下。

3.15 洗兔脖头机(图1-4-23)

图1-4-23 洗兔脖头机

1-护罩 2-刷盘 3-机架 4-驱动装置

洗兔脖头机用于涮洗兔脖颈部的血污等。它主要由护罩、刷盘、机架和驱动装置等组成。

作业时,打开喷水管,操作者用手将兔脖颈割口端面按到高速旋转的刷盘上,涮去颈部血污等。

随便看

 

离鸟网收录3541549条中英文词条,其功能与新华字典、现代汉语词典、牛津高阶英汉词典等各类中英文词典类似,基本涵盖了全部常用中英文字词句的读音、释义及用法,是语言学习和写作的有利工具。

 

Copyright © 2004-2024 vtrois.com All Rights Reserved
更新时间:2026/4/7 22:57:31