网站首页  词典首页


请输入您要查询的字词:

 

字词 硅藻土过滤机
类别 中英文字词句释义及详细解析
释义

硅藻土过滤机


(一)用途与特点

硅藻土过滤机是采用硅藻土作为过滤剂的压力式过滤机械,适用于各类果汁的过滤。

(二)结构与工作原理

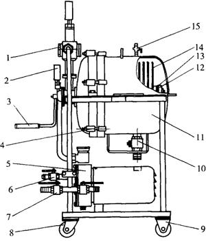
硅藻土过滤机按结构可分为卧式与立式两种。卧式容积相对较大,立式容积相对较小。一般由筒身、中空轴、滤板、滤网、压力表、放气阀等组成,如图4-2-15所示。

图4-2-15 硅藻土过滤机

1-观察装置 2-压力表 3-摇把 4-卡子 5-自吸泵 6-入口阀门 7-出口阀门 8-活动脚轮 9-固定脚轮 10-排滞留物阀门 11-外壳 12-贝帽 13-密封圈 14-滤盘 15-排气阀

工作时,首先将滤液与硅藻土在助滤剂添加机组进行混合搅拌,使这种混合溶液在容器内不断循环,混合均匀,然后由筒身进液口进入,充满在壳体中。此时硅藻土就预涂在滤布上,并形成过滤层。在压力的作用下,滤液通过滤布、滤网、滤板和空心轴,由出液口排出,完成过滤过程。使用硅藻土过滤机的关键是助滤剂的预涂,在预涂时,助滤剂要在滤液中搅拌均匀,并控制液体流动的速度,使形成的助滤层均匀稳定,滤液达到澄清度的要求。

(三)主要技术参数

硅藻土过滤机主要技术参数见表4-2-4。

表4-2-4 硅藻土过滤机主要技术参数

注:灯塔县轻工机械厂制造。

随便看

 

离鸟网收录3541549条中英文词条,其功能与新华字典、现代汉语词典、牛津高阶英汉词典等各类中英文词典类似,基本涵盖了全部常用中英文字词句的读音、释义及用法,是语言学习和写作的有利工具。

 

Copyright © 2004-2024 vtrois.com All Rights Reserved
更新时间:2026/4/8 18:31:39