网站首页  词典首页


请输入您要查询的字词:

 

字词 碳酸根和碳酸氢根的测定
类别 中英文字词句释义及详细解析
释义

碳酸根和碳酸氢根的测定


(一)中和法

1.原理 用标准酸溶液滴定,测定样品中CO32-和HCO3含量。

2.适用范围 海水、卤水。

3.测定手续

CO32-的测定 吸取100.0ml样品溶液,加4滴1%酚酞指示液,用0.05N盐酸标准溶液滴定,至红色消失为止。

HCO3的测定 在测定过CO32-的无色样品溶液中,加4滴0.1%甲基橙指示液,继续用0.05N盐酸标准溶液(表7-1-16)滴定,至淡桔红色为止。

4.计算

式中 V1——滴定CO32-时0.05N盐酸标准溶液用量(ml)

V2——滴定HCO3时0.05N盐酸标准溶液用量(ml)

NHCI——盐酸标准溶液的当量浓度

VS——样品溶液用量(ml)

30.005——每毫克当量CO32-的毫克数

61.017——每毫克当量HCO3的毫克数

(二)电导法

1.原理 样品溶液酸化 碳酸氢根分解产生的二氧化碳,被氢氧化钡定量吸收,形成BaCO3沉淀,使Ba(OH)2浓度降低,比电导值下降,其下降的大小与吸收CO2的量成正比,为此间接测定样品溶液中HCO3含量。

2.适用范围 卤水。

3.测定手续

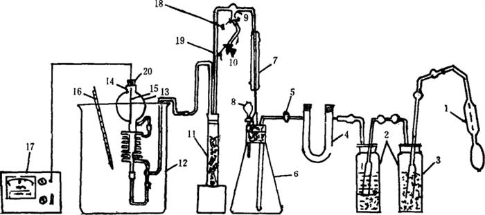
(1)测定装置,见图7-3-1

图7-3-1 碳酸氢根测定装置示意图

1-双联打气球 2-洗气瓶 3-氢氧化钠溶液 4-U形管 5-二通活塞 6-二氧化碳发生瓶 7-冷凝管 8-加料管 9-三通活塞 10-抽真空皮管 11-氯化镉溶液吸收管 12-恒温槽 13-螺旋管吸收瓶 14-出气口 15-电极 16-温度计 17-DDS-ⅡA型电导仪 18-螺旋夹 19-螺旋夹 20-电极塞子

(2)标准曲线的绘制 吸取50ml氢氧化钡溶液,置于干的螺旋管吸收瓶(13)中塞紧电极塞(20),测定氢氧化钡溶液的比电导,通入无CO2空气时,缓慢启开活塞(5)至全开,再仔细启开活塞(9)(此时(10)、(8)均关闭,出气口(14)开着),使气泡连续沿着螺旋管吸收瓶自上而下的通入Ba(OH)2溶液,至溶液的比电导不变为止,记录比电导为P1

测定CO2标准溶液时,旋转三通活塞(9)通向CO2发生器(6)橡胶管(10),关上活塞(5),打开螺旋夹(18),用针筒将橡胶管(10)抽成真空后,关上螺旋夹(18);分次取CO2标准溶液2.00、4.00、6.00、8.00、10.00、12.00ml,(即2.00、4.00、6.00、8.00、10.00、12.00mg CO2),从加样管(8)加入反应瓶(6);用无CO2水洗加样管后,加10ml 1∶1硫酸溶液,又用无CO2水洗加样管五次关上活塞;通入空气时将出气口(14)打开,缓慢开活塞(5)至全开,再开活塞(9)通向吸收瓶(此时橡胶管(10)和加样管(8)均关上),使气流连续将产生的CO2进入吸收瓶,被Ba(OH)2溶液吸收,直至比电导不变为止,记下比电导值为P2

P1和P2的差值,就是CO2标准溶液相应的比电导值,按上述操作,分别求出不同CO2含量的比电导值,并换算为25℃时的比电导值,以比电导值为纵座标,CO2含量为横座标绘制标准曲线。

Tx=T0〔1+(t-25℃)+0.019〕 (7-3-27)

式中 Tx——吸收瓶内氢氧化钡溶液的比电导值

T0——25℃时溶液的比电导值

t——吸收瓶内溶液的温度

0.019——温度变化1℃时碱溶液的比电导的校正系数

(3)样品测定 吸取一定量样品溶液(50.00ml岩卤、25.00ml黑卤、10.00ml黄卤)于加样管至反应瓶,以下操作同标准曲线,先测得P1用卤水样代替二氧化碳标准溶液,再测得P2,求出P1和P2的差值即样品中相应的比电导值。从标准曲线上查出相应的CO2 mg数,计算出样品中HCO3含量。

4.计算

式中 m——从标准曲线查得的二氧化碳量(mg)

Va——取卤水量(ml)

1.3864——二氧化碳换算为碳酸氢根的系数

注:加酸后,用无CO2水洗加样管时,不要把洗水放完,否则CO2从此逸出,会造成大的误差,若洗水放空必须重作。

随便看

 

离鸟网收录3541549条中英文词条,其功能与新华字典、现代汉语词典、牛津高阶英汉词典等各类中英文词典类似,基本涵盖了全部常用中英文字词句的读音、释义及用法,是语言学习和写作的有利工具。

 

Copyright © 2004-2024 vtrois.com All Rights Reserved
更新时间:2026/5/25 7:58:01