网站首页  词典首页


请输入您要查询的字词:

 

字词 离心式薄膜浓缩机
类别 中英文字词句释义及详细解析
释义

离心式薄膜浓缩机


(一)用途与特点

在真空条件下,被浓缩料液借助高速旋转的离心盘产生的离心力作用,在离心盘上形成液膜并受热蒸发。因而传热效率高,蒸发强度大,物料受热时间很短。因设置有CIP清洗装置方便操作,必要时还可方便地将蒸发室拆开清洗。该设备适于浓缩黏度大的物料,但不适于易结晶、结垢的物料。而且设备结构比较复杂、传动系统的密封易泄漏,造价较高。

(二)结构与工作原理

离心式薄膜浓缩设备由离心薄膜蒸发器、抽真空系统、管道过滤器、平衡槽、进料螺杆泵、浓缩液罐、出料螺杆泵、电控制仪表箱和操作台构成。

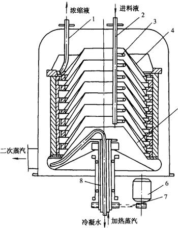
离心薄膜蒸发器结构见图4-8-11,其核心由具有夹套结构的锥形碟和一个刚性环组焊成离心盘(也称锥形换热盘)构成。数只离心盘一个个套在转鼓上构成整个加热器,盘与盘之间的间隙成为蒸发空间,刚性环上开有数十个轴向孔和数十个径向孔。蒸汽从蒸发室下部引入,通过转鼓径向孔进入离心盘的夹套内加热在其表面的膜状料液,蒸汽冷凝水受离心力作用甩到夹套的内下边缘周边汇集后,经径向孔被甩到转鼓内汇集在转鼓底部的冷凝水槽内,从冷凝水排出管排出。

图4-8-11 离心薄膜蒸发器

1-吸料管 2-分配管 3-喷嘴 4-离心盘 5-间隔盘 6-电动机 7-三角皮带

料液从蒸发室上部的分配管喷嘴喷入各离心盘间的间隙,靠离心盘的旋转离心力呈膜状受热蒸发,浓缩液通过离心盘轴向孔向上流至集液槽内,由吸料管抽吸出去。

二次蒸汽经排出管引至冷凝器冷凝,并与真空系统衔接。

CIP清洗装置由一根装有不同角度喷嘴的垂直总管和一根装有喷嘴的环形管组成,可通冷水和热水冲洗离心盘表面,清洗水由出料管排出。

蒸发器中离心盘的转动是依靠由电动机、液力联轴器、三角皮带轮、主轴组成的拖动系统带动的。

(三)主要技术参数

离心薄膜蒸发器主要技术参数见表4-8-7。

表4-8-7 离心薄膜蒸发器主要技术参数

随便看

 

离鸟网收录3541549条中英文词条,其功能与新华字典、现代汉语词典、牛津高阶英汉词典等各类中英文词典类似,基本涵盖了全部常用中英文字词句的读音、释义及用法,是语言学习和写作的有利工具。

 

Copyright © 2004-2024 vtrois.com All Rights Reserved
更新时间:2026/4/9 7:13:44