网站首页  词典首页


请输入您要查询的字词:

 

字词 管膜吹塑法双向拉伸薄膜
类别 中英文字词句释义及详细解析
释义

管膜吹塑法双向拉伸薄膜


1.双向拉伸薄膜及其特性

薄膜的双向拉伸就是在熔点以下、玻璃化温度以上的温度范围内把未拉伸的薄膜或片材在纵、横两个方向上拉伸,使分子链或特定的结晶面与薄膜表面平行取向,然后在张紧的条件下进行热处理。拉伸薄膜改进了力学强度即提高了拉伸强度、拉伸弹性模量、撕裂强度、疲劳弯曲性等,并且改善了耐热性、耐寒性、透明性、光泽、透气性、防湿性、电绝缘性等。

双向拉伸薄膜在加热时,分子取向松弛,薄膜发生收缩,所以,又称为热收缩薄膜。用热收缩膜包装商品有这样几个特点:

①密封、防湿,对商品的保护性好。

②薄膜紧贴商品,可显示商品的造型。

③能均匀捆扎、固定商品,特别适用于多个商品的包装。

④能包装一般方法难以包装的商品。

⑤包装工艺、设备简单,有通用性,便于实现机械化包装。

⑥节省了包装材料,减少包装体积。

因此,热收缩膜在包装业中应用相当广泛。热收缩塑料薄膜以PVC、PE为主要原料;其中PE热收缩膜产量最大,它具有如下几个特点:

①使用性能好。主要表现在:无毒、韧性和低温脆性比PVC、PP要好,热收缩率高,贮藏稳定性好。

②生产工艺较简便。

③厚度和幅宽的范围较大。

④价格比较便宜。

双向拉伸薄膜的生产有两种方式:平膜法(见第八章)和管膜法。

RPVC热收缩薄膜执行ZBG3309-89;热收缩范围:纵向10%~30%;横向40%~60%。

2.生产工艺过程(管膜法)

管膜法PE热收缩薄膜的生产工艺有三种:一泡法、二泡法和辐射交联法。所谓一泡法就是只有一次吹胀,工艺流程与普通吹塑薄膜相同,所不同的只是吹胀比和牵引比都比较大。辐射交联法的工艺流程与第三节中“PE辐射交联热收缩套管”相同,所不同的只是厚度的区别。现简要介绍二泡法工艺。

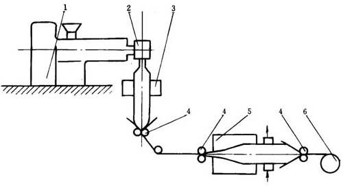
二泡法工艺流程见图7-18。

图7-18 二泡法热收缩薄膜工艺流程图

1-挤出机 2-机头 3-水套 4-夹紧辊 5-加热箱 6-卷取

选用Φ45的挤出机,采用平挤下吹法,第一次的吹胀比1.2~1.5,第一次稍有拉伸。第一次吹胀后的膜管通过冷却水套,水温为15~20℃,待膜管冷却到40~50℃后,进入150℃左右的加热烘箱,同时吹胀和拉伸。纵向拉伸是由导入辊和牵引辊的速度差来实现的;横向拉伸是利用压缩空气将膜吹胀。吹胀比和拉伸比均为2.5左右。

随便看

 

离鸟网收录3541549条中英文词条,其功能与新华字典、现代汉语词典、牛津高阶英汉词典等各类中英文词典类似,基本涵盖了全部常用中英文字词句的读音、释义及用法,是语言学习和写作的有利工具。

 

Copyright © 2004-2024 vtrois.com All Rights Reserved
更新时间:2026/4/8 7:27:33