经纬仪是测量角度的仪器,兼有其他测量功能。根据测角精度的不同,我国的经纬仪系列分为DJ07,DJ1,DJ2,DJ6,DJ15等几个等级,D和J分别是大地和经纬仪的意思,数字表示其测角精度。
图3-3所示为一种DJ6光学经纬仪,图3-4所示为一种DJ2光学经纬仪。光学经纬仪主要由照准部、水平度盘、基座三大部分组成。

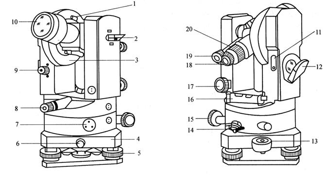
图3-3 DJ6光学经纬仪外形示意图
1-粗瞄器;2-望远镜制动螺旋;3-竖直度盘;4-基座;5-脚螺旋;6-轴座固定螺旋;7-度盘变换手轮;8-光学对中器;9-竖盘自动归零螺旋;10-物镜;11-指标差调位盖板;12-度盘照明反光镜;13-圆水准器;14-水平制动螺旋;15-水平微动螺旋;16-照准部水准管;17-望远镜微动螺旋;18-目镜;19-读数显微镜;20-物镜调焦螺旋