网站首页  词典首页


请输入您要查询的字词:

 

字词 耐热性能试验
类别 中英文字词句释义及详细解析
释义

耐热性能试验


耐热试验有马丁耐热、热变形温度、维卡软化点等通用试验方法。前两种方法都是试样在弯曲应力的作用下,进行恒速升温,当试样的弯曲变形达到一定值时的温度。试验不考虑升温速度及蠕变等的影响。对于同一种材料,一般马丁耐热温度比热变形温度低。这两种方法本质是一样的,只是试样条件不同。维卡软化点试验与上述两种方法不同,它是试样在等速升温下,以一定的负荷和截面的压头压入试样1mm时的温度,作为试样的软化点。

除了上述三种方法外,各种制品应根据不同要求制订不同的耐热试验方法,如加热损失、加热尺寸收缩率等。注意所有这些试验方法测得数据都不能当作材料的最高使用温度。最高使用温度应随使用环境,使用状态不同而异。对于结构件或受力的部件还应考虑到模量的大小。现把这几种试验方法简述如下。

(一)马丁耐热试验

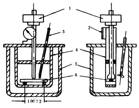
马丁耐热试验详见GB1035-70。试样在5.0MPa(50kgf/cm2)的弯曲应力作用下,以每小时50℃等速升温,试样弯曲达变形指示器下降6mm时,测定此时的温度即为马丁耐热温度。试样尺寸为:长度120±1mm,宽度15±0.2mm,厚度为10±0.2mm。试验装置见图10-1-3。

图1u-1-3 马丁耐热的试验装置

1-变形指示器 2-横杆 3-重锤 4-试样

(二)热变形温度试验

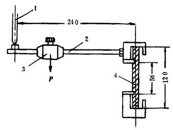
热变形温度试验,参见GB1634-79。将试样浸在液体介质中,以120℃/h等速升温,施加1.85MPa(18.5kgf/cm2)〔或0.46MPa(4.6kgf/cm2)〕的弯曲应力,当试样中点弯曲形变量达到规定值时,该温度即为试样的热形变温度。试验装置见图10-4-4,试样尺寸为:长120mm,高9.8~15mm,宽3~13mm。不同尺寸的试样施加负荷的大小由下式计算:

式中 W—砝码重量(kg)

b——试样宽度(cm)

h——试样高度(cm)

σ——试样最大弯曲应力(1.85MPa或0.46MPa,即18.5kgf/cm2或4.6kgf/cm2)

L——两支座中心间距(100±2mm)

R——负荷杆压头重量(kg)

T——形变测量装置附加力(kg)

当试样高度不同时,规定形变量相应变化,其对应值见表10-4-1。表格中对应值是根据不同高度的试样在试验中达到相同的弯曲弹性模量E时换算的数值。简支梁在简单负荷下,其最大挠度(形变)的公式为:

当J=bh3/12,P=2σbh2/3L时

式中 σ,L,E是固定的,则f×h=常数,因此表中的形变量f是随着高度h的增大而减小。

图10-4-4 热形变温度试验装置示意图

1-负荷 2-百分表 3-温度计 1-试样固定架 5-浴槽 6-试样

表10-4-1

(三)维卡软化点试验

维卡软化点试验详见GB1633-79。维卡软化点试验是把试样放在等速升温的液体传热介质中,在一定的负荷下,测定试样被1mm2的压头压入1mm时的温度。试验装置见图10-4-5。

图10-4-5 维片软化点试验装置示意图

1-百分表 2-负荷 3-负荷杆 4-压针头. 5-试样

试验尺寸为10×10×(3~6)mm,升温速度为5±0.5℃/rTin及12±1℃/6min两种,试样承受的静负荷为1kg和5kg两种。

不同试验条件所测得的数据不能互相比较,因此必须注明升温速度及负荷等条件。

(四)加热损失试验

加热损失试验是将试样放在恒定温度的环境中,经一定时间后,计算加热损失率。根据聚氯乙烯的不同制品,加热损失的试验条件参见表10-4-2(请见各种PVC制品标准)。加热损失率N(%)按下式计算:

式中 G0——加热前试样的重量(g)

G1——加热后试样的重量(g)

表10-4-2 各种聚氯乙烯制品的加热损耗试验条件

(五)加热尺寸收缩率试验

各种聚氯乙烯制品,由于加工过程中存在内应力,因此受热后普遍都有收缩现象,所以测定加热收缩率对工程设计及应用有很大的意义。测定时将试样在一定温度下处理(参见表10-4-3),然后测定其受热前后的尺寸变化。各种不同制品的标线及测定部位为:板材——试验前沿板的纵横方向分别划两条标记,其具体要求见图10-4-6,受热前后测定AB、CD的尺寸变化。管材——则在距离管端15mm处分别划两个环形标线,分别测量受热前后标线间的尺寸及试样中部直径尺寸(详见具体产品标准)。加热收缩率的计算公式为:

式中 BL——为长度收缩率

L0,L——试验前、后试样两标线间的距离(mm)

B0——直径收缩率

D0,D——试验前、后试样中间部分的直径(mm)

图10-4-6 板材试样标线图

表10-4-3 各主要制品的试样尺寸及试验条件

①h为制品厚度(mm)

(六)聚氯乙烯电缆料软化温度测定

试样为亚铃形,有效部分长25mm,宽6.5mm,厚1.0±0.1mm。

试样在40g重物的拉伸作用下,浸于盛有甘油的烧杯中,以5±1℃/min恒速升温,测定其有效部分伸长100%时的温度(详见SG22-73)。

随便看

 

离鸟网收录3541549条中英文词条,其功能与新华字典、现代汉语词典、牛津高阶英汉词典等各类中英文词典类似,基本涵盖了全部常用中英文字词句的读音、释义及用法,是语言学习和写作的有利工具。

 

Copyright © 2004-2024 vtrois.com All Rights Reserved
更新时间:2026/4/8 22:34:53