网站首页  词典首页


请输入您要查询的字词:

 

字词 芳香物质回收
类别 中英文字词句释义及详细解析
释义

芳香物质回收


(一)香气回收原理

果蔬的香味是由其本身所含的各种不同的芳香物质决定的。芳香物质包括水溶性芳香成分和挥发性油(精油),不同的果蔬具有不同的香气成分,一种果蔬的香气成分多达几十种乃至几百种。对芳香起主要作用的是碳水化合物、醇、醛、酮、酯这5类物质。果蔬中的芳香成分,特别是与果汁风味相关的香气成分,在加工过程中,特别是在加热和蒸发浓缩时很难完整保存下来。为此对于浓缩汁的加工,在蒸发浓缩前或浓缩过程中要进行香气成分的回收。

目前苹果、柑橘、菠萝,以及葡萄、梨、杏、桃、西番莲等果汁的加工已采用芳香回收装置,进行芳香物质的回收。

香气回收主要采用蒸馏原理,根据果蔬汁各组分挥发性的差异,即各成分的沸点不同使之分离,通过加热使果蔬汁部分蒸发汽化,汽相中的轻组分即易挥发性组分较为富集,将汽相部分冷凝,并反复汽化和冷凝过程,就可获得高浓度的香气回收液。

由果蔬汁回收芳香物质的流程参见图2-1-12。

图2-1-12 果蔬汁芳香物质回收流程图

提香时需要从果汁中蒸发的水分量(二次蒸汽量)与果汁种类、操作条件和香精产量有关。为了获得绝大部分芳香物质,-般的蒸发水量为提香果汁量的10%~45%,见图2-1-13。例如:仁果类果汁在常压下需要蒸发提香果汁量的10%以上,而桃、杏、榅桲等果汁中难以挥发的芳香成分较多,需要蒸发提香果汁量的15%~20%。同样原因,黑醋栗和樱桃汁的蒸发量需达20%~30%,草莓和树莓原汁的水分蒸发量甚至需要达到30%~40%。尽管如此,果蔬中的芳香物质仍有相当损失,不可能全部回收。

图2-1-13 果汁提香时的蒸发水量

1-苹果汁 2-梨汁 3-葡萄、黑加仑汁 4-草莓汁

回收的香精量一般为果汁量的0.5%~2%。根据香精的浓缩程度,1L香精可用于50~250L新鲜果汁的香气还原,在这种情况下可以说香精被浓缩了50~250倍。苹果和梨的回收香精一般为100~200倍,葡萄100倍,黑醋栗50~100倍。

(二)香气回收方法与设备

香气回收可以利用浓缩器的某一效,例如第二效,或在巴氏杀菌时利用加热器来蒸发一定数量的挥发物,然后将这些挥发物以蒸汽或冷凝液的形式送入提香器,经过多级蒸馏或精馏,回收和富集蒸汽中的芳香物质。

1.多级蒸馏法

果蔬汁芳香回收通常采用平衡蒸馏(闪蒸)法,加热果蔬汁使之部分蒸发汽化,将汽液两相分开,汽相为顶部产物,易挥发组分较为富集。液相为底部产物,其中难挥发部分得到蒸浓。将汽相部分冷凝,冷凝液再次加热蒸发,分离出的汽相成分再次冷凝,如此反复进行2~3次,通过汽化、冷凝达到增浓目的,加热汽化需要耗热,液相冷凝则需要提供冷却水量和制冷量。

图2-1-14是一板式提香器的原理图,在密封的容器内安装两个板式换热器,中间有挡板。两热交换器上方开放,为二次蒸汽通道,下方的相当于蒸发器,上方的相当于冷凝器。果蔬汁通过加热器预热后,进入蒸发器,由加热蒸汽再次加热、闪蒸,产生有挥发香气成分的二次蒸汽,二次蒸汽由挡板导向进入冷凝器,通过换热器中的冷却水,被冷凝成香液。

图2-1-14 提香器结构原理图

1-冷凝器 2-蒸发器 3-支架 4-密封容器 5-挡板

3级提香器是由第1级提香器(PAR-22)和第2、第3级提香器(PAR-01)组成。1级提香器蒸发水量1500kg/h,为提香果汁量的10%~25%,2~3级提香器的蒸发水量140kg/h,为前级香液量的10%~25%。

典型的3级蒸馏提香设备工艺流程见图2-1-15,这是瑞典a-LAval的PAR3级提香设备,与CT-9蒸发器配套的。

图2-1-15 三级提香工艺流程图

1-平衡罐 2、7、8、12-离心泵 3、9、13、16-流量计 4-板式换热器 5-PAR-22提香器 6、11、15-蒸汽调节阀 10、14-PAR-01提香器 17、18-螺旋冷凝器

由图中可知,待提香的果汁在平衡罐1内,由离心泵2经过流量计3送入板式换热器4,在离心泵与流量计之间有一个调节阀,控制进入板式换热器的果汁流量。新鲜果汁在换热器内被提过香的果汁预热后进入一级提香器PAR-225,在此进行第一次蒸发。蒸发量由气动薄膜调节阀通过蒸汽量来调节。由于各种果蔬汁中的香气化学成分不同,不同果蔬汁需要的蒸发量也不同,例如苹果汁,蒸发其汁量的10%就可充分提取所含的香气成分,而有些果汁则需要蒸发其汁量的20%~25%,才能将其香气成分提取充分。被蒸发的香气成分的蒸汽在上部换热器中被冷凝成香液,提过香的果汁通过另一离心泵7泵入外部的板式换热器,预热新鲜果汁,回收部分热量。冷凝的香液由离心泵8经流量计9进入二级提香器PAR-0110的下部换热器再次蒸发,通过另一薄膜调节阀11调节蒸汽进汽量,使蒸发量控制在20%~25%,此时剩余的75%~80%香液冷凝水中香气成分已极少,可当成废液通过排水管排出。再蒸发的香气蒸汽上升到上部换热器中冷凝成香精液。同样,香精液(二级香液)由离心泵12经流量计13进入三级提香器PAR-0114,蒸发20%~25%的香精量,香精蒸汽冷凝成浓香精,冷凝水被排除。对于像苹果汁仅需蒸发其汁量10%的果汁,二级提香足够。浓香精液经流量计16进入螺旋冷凝器18,另外在流量计16和螺旋冷凝器18之间有一除气管道通向另一个螺旋冷凝器17,使未被冷凝的少量残存香气在该螺旋冷凝器17冷凝并汇入螺旋冷凝器18中。螺旋冷凝器用冰水将浓香精液冷却至2~4℃,以保证香精的质量。

对于5t/h苹果浓缩汁生产线来说,与其匹配的3级提香设备,按操作规程用流量计控制一、二、三级的进料量分别为3900、820、90L/h,蒸发量分别为820、90、25L/h,浓香精产量25L/h,香精出口温度≤3℃。

按每次蒸发果汁(或香液)量的10%计,经二级提香获得的香精,习惯上称为100倍果汁香精。同理,三级提香的浓香精产品称为150倍果汁香精。

2.精馏法

平衡蒸馏只能达到组分的部分蒸浓,精馏是利用组分挥发度的差异实现连续的高纯度分离。精馏法常用的设备是精馏塔,有塔板式、填料式等多种形式,板式精馏塔结构如图2-1-16所示。由若干块塔板组成,每个塔板为一个汽液接触单元,汽相依靠压差穿过塔板上的小孔与板上液体接触,两相进行热质交换。汽相离开液层后升入上一块塔板,液相则自上而下逐板下降。塔板型式有泡罩、筛孔、浮阀和舌形等。含香冷凝液从塔中部的某一适当位置连续进入塔内,塔顶设有冷凝器,将塔顶蒸汽冷凝为液体,冷凝液的一部分回入塔顶,称为回流液,其余作为塔顶产品(馏出液)连续排出。塔顶回流量L与塔顶产品量D之比,称为回流比R,即,一般回流液的数量小于塔顶冷凝液量的总量。在塔内上半部(进料位置以上)上升蒸汽与回流液体之间进行逆流接触和物质传递。塔底部装有再沸器(蒸馏釜),以加热液体产生蒸汽,蒸汽沿塔上升,与下降的液体逆流接触并进行物质传递,塔底连续排出部分冷凝水。

在塔加料位置以上,上升蒸汽中所含的重组分向液体传递,而回流液中的轻组分向汽相传递,如此物质交换的结果使上升蒸汽中轻组分的浓度逐渐升高,只要有足够的相际接触表面和足够的液体回流量,到达塔顶的蒸汽将成为高纯度的轻组分。塔的上半部完成上升蒸汽的精制,即除去其中的重组分,因而称为精馏段。

图2-1-16 板式精馏塔

在塔的加料位置以下,下降液体中的轻组分向汽相传递,上升蒸汽中的重组分向液相传递,这样只要两相接触面和上升蒸汽量足够,到达塔底的液体中所含的轻组分可降至很低,塔的下半部完成下降液体中重组分的提浓,即提出了轻组分,因而称为提馏段。

一个完整的精馏塔应包括精馏段和提馏段。精馏与蒸馏的主要区别在于“回流”,包括塔顶的液相回流与塔釜部分汽化造成的汽相回流。回流是构成汽液两相接触传质的必要条件。另一方面,组分挥发度的差异造成了有利的相平衡条件,使上升蒸汽在与自身冷凝回流液之间的接触过程中,重组分向液相传递,轻组分向汽相传递。

目前精馏塔常用筛孔塔板和泡罩塔板,在加工不同种类果汁时,采用泡罩塔板可以适应加工量的变化和浓缩程度的需要。香精浓缩程度决定于果汁的种类,例如苹果汁香精仅从顶部回收(填料塔),草莓汁香精则从不同水平回收(泡罩塔)。

精馏塔回收果蔬汁芳香物质的流程见图2-1-17,含有芳香物质的冷凝水或二次蒸汽进入蒸馏塔内,在精馏段,含芳香物质的液体的沸腾状态随蒸汽上升而加剧。在提馏段,蒸汽由下向上运动,使上部液体沸腾,不再挥发的芳香成分留在液体中,仍然挥发的成分则随蒸汽上升,难以挥发的成分(冷凝水和极少量芳香物质)从精馏塔底部流出。提取的芳香物质经过冷凝器冷凝后,再经过水预冷和加有乙二醇的冰水冷却,香精浓液一般冷却至2~5℃。用乙二醇冷却的清洗冷凝器强化洗涤非冷凝气体,可以从精馏塔排出的气体中进一步回收部分芳香物质。

图2-1-17 精馏塔回收芳香成分流程图

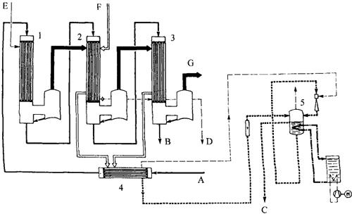
3.扩散香气精馏(DIFFAR)

利用扩散的香气精馏是通过部分蒸汽冷凝进行香精浓缩的。在这种情况下香气回收设备与三效降膜式蒸发器结合为一体,DIFFA设备提香流程见图2-1-18。新鲜果汁经过预热器(表面冷凝器)预热后送至1效蒸发器,产生含有香气的二次蒸汽,用于二效蒸发器加热。在此过程中,纯水被冷凝,二次蒸汽中的香气成分浓度增加,在冷凝结束时,余下的二次蒸汽中含有很多香料物质。这些香料成分可以从带有惰性气体的列管冷凝室中提取,惰性气体的用量决定于要蒸发的果汁种类和蒸发器的结构。在许多场合下,溶解于果汁中的气体是足够的,不需要更多的气体送入冷凝室中,甚至可以从第3效列管冷凝室中提取香精。香精在预加热器中被冷凝并被送至香精洗涤器中。稍加改变,该系统也可用于2效、4效或多效蒸发器中。与预蒸发器含香气成分的二次蒸汽一起,某些不溶性和不凝结的气体(1%~10%)总要从果汁中逸出,这些气体,包括某些高挥发性的香气成分。为了防止这些成分的损失,通常在洗涤塔中将这些不凝结的气体与冷浓缩香精一起洗出。

图2-1-18 DIFFA设备提香流程图

1-一效蒸发器 2-二效蒸发器 3-三效蒸发器 4-表面冷凝器 5-气体洗涤器与香气冷却器

A-果汁进口 B-浓缩汁 C-浓缩香液 D-冷凝液 E-新鲜蒸汽 F-惰性气体 G-进冷凝器的蒸汽

如果榨汁后果汁不进行中间处理,香料回收可以与蒸发浓缩组成一个系统,该系统包括一个多效降膜式蒸发器和一个香气回收装置,分馏塔设在1效和2效蒸发之间的蒸汽流中,组合设备可用于加工葡萄、柑橘、李、苹果、梨及榅桲的汁。这些果汁使用香料回收与蒸发的组合设备是因为回收香料时需要从果汁中蒸发相对高百分比的水分。

在浆果汁中,葡萄汁是一个例外,由于存在酒石酸沉淀的危险,因此与其他果汁相比,必须保持相对较高的温度。另一方面,高温对于有效脱硫也是必需的。

在苹果汁加工中,组合设备的蒸发器多达5效,其中1效和2效用于果汁的预蒸发和香料回收,辅助效顺次用于清汁或浑汁的最终浓缩,在相同生产能力下,组合设备能耗小、成本低,同时还可与真空冷却设备组合。

图2-1-19为果汁从11%浓缩至72%时果汁量、回收香料和蒸汽耗量的关系,表2-1-49为不同型号的提香(从11%浓缩至13%)和蒸发(从11%或13%浓缩至72%)设备的蒸汽、冷却水和电力耗量,表中冷却水是将冷却水加热至1效提香设备温度50℃、2效蒸发器40℃、3至6效蒸发器37℃时的耗量。TVR为二次蒸汽热压缩系统。

图2-1-19 回收香料量与蒸汽耗量的关系

表2-1-49 管式降膜蒸发器性能表

随便看

 

离鸟网收录3541549条中英文词条,其功能与新华字典、现代汉语词典、牛津高阶英汉词典等各类中英文词典类似,基本涵盖了全部常用中英文字词句的读音、释义及用法,是语言学习和写作的有利工具。

 

Copyright © 2004-2024 vtrois.com All Rights Reserved
更新时间:2026/4/5 18:12:05