网站首页  词典首页


请输入您要查询的字词:

 

字词 葡萄的破碎与除梗
类别 中英文字词句释义及详细解析
释义

葡萄的破碎与除梗


一、葡萄的输送设备

葡萄的输送有采用筐装、翻斗车、螺旋输送机和带式输送机等几种。

(一)筐装

筐装一般采用木头或竹条制成,另外还有塑料筐。容量为20kg左右。

(二)螺旋输送机

1.性能

主要用于输送各种粉状、粒状和不太坚硬的小块状物料,不宜输送粘性大的、易结块的大块物料。

2.结构

见图3-1-5。

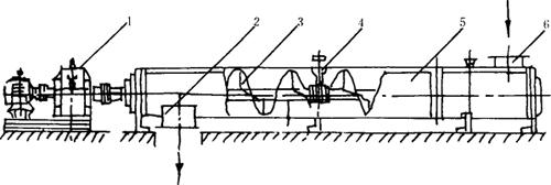
图3-1-5 螺旋输送机结构示意图

1-减速传动装置 2-出料口 3-螺旋输送器 4-中间吊挂轴 5-机壳 6-进料口

3.设备的优缺点

优点:

(1)结构简单,设备体积紧凑,占地面积小,可以吊装在空中使用。

(2)加工制造与维修都很方便,只要加强传动装置与轴承的维修,就可正常生产。

(3)用于输送固体物质,容易密封,不仅可以用于水平式输送,也可用于水平成倾斜20°角以内的输送,并可以在中间装卸料。

(4)操作安全,允许操作环境温差范围大,温度为-20~50℃。

缺点:

(1)喂料如不均匀,易造成堵塞。

(2)输送距离不能过长,一般不超过30~40m。

(3)输送过程中物料易破碎。

(4)输送阻力大,动力消耗大。

(5)若输送质地较坚硬的小块物料,设备本身磨损大,影响使用寿命,因为制作这种设备的钢板是不太厚的,螺旋片一般厚4~8mm。

(三)带式运送机

1.性能

带式输送机即用皮带进行输送物料,适应于输送细散的物料,也可输送块状物与成件、成箱的物品,适应范围比螺旋输送机较为广泛。

2.结构

带式输送机可根据需要分以下几种,如图3-1-6。

图3-1-6 皮带输送机基本形式图

H——皮带输送机输送高度

Ln——皮带输送机投影长度

水平输送机安装形式如图3-1-7所示。

图3-1-7 皮带输送机一般安装形式

3.设备优缺点

优点:

(1)与螺旋输送机相比,结构稍复杂。

(2)输送能力大,最高可达20000m3/h。

(3)可以输送粉状物、块状物、成件包装物,对物料适应性强,应用范围广。

(4)输送物料平稳,运输阻力小,耗能低。

(5)输送物料破损小,损耗低。

(6)输送距离可达300~400m。

(7)可以在输送带任何部位装卸,操作方便。

(8)维修保养简便。

缺点:

(1)造价较高,若短距离输送或输送量小,采用带式输送机在经济上不合算。

(2)输送时倾斜度不能超过17~18°,水平输送较适宜。

4.输送带的规格

(1)橡胶输送带 以棉织物或化纤织物挂胶后的胶布层为带芯,以橡胶为上下覆盖层。

表3-1-13 橡胶输送带主要品种和带宽

普通橡胶输送带的层数为3~12层,可根据强度计算使用。

(2)塑料输送带 以维尼纶棉混纺织物为带芯,用聚氯乙烯塑料作为覆盖层。

表3-1-14 常用塑料输送带的规格

二、葡萄的破碎与除梗

(一)破碎的技术要求

(1)每粒葡萄都要破碎。

(2)籽实不能压破,果梗不能压碎。

(3)破碎过程中,葡萄及汁不得与铁、铜等金属接触。

(二)葡萄破碎机的种类及性能

在我国的河南新乡、山东烟台等厂家近几年来生产出几种葡萄破碎机,表3-1-15为新乡轻工机械厂生产的系列产品及有关技术参数。表3-1-16为烟台轻工机械厂生产的JYG20葡萄除梗破碎机的性能表。

表3-1-15 葡萄破碎机的性能表

表3-1-16 烟台轻工机械厂生产的JYG20葡萄除梗破碎机性能表

(三)国际上几种常见的除梗破碎机

1.卧式除梗破碎机

如图3-1-8所示,这种除梗破碎机是先除梗后破碎。

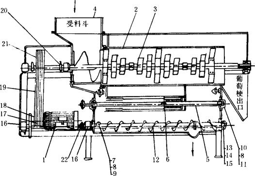
图3-1-8 葡萄除梗破碎机结构图

1-电动机 2-筛筒 3-除梗器 4-输送螺旋 5-破碎辊轴 6-破碎辊 7、8、9、10、11-轴承 12-旋片 13、14、15-轴承 16-减速器 17、18、19、21-皮带传动 20-输送轴 22-.联轴器

葡萄穗从受料斗落入,整穗葡萄由螺旋输送器输入除梗装置内,由除梗器打落或打碎的葡萄粒,从筛筒上孔眼落入破碎滚中,葡萄梗从机尾部排出,排出的葡萄梗用鼓风机吹送至堆场,葡萄破碎后,用泵经出汁口输出。

目前,这种设备能力有20~35t/h几种。

2.立式除梗破碎机

在欧洲有这种设备,机身为立式圆筒形,装有固定圆筛板和除梗器推进。葡萄浆则由筛孔流出,未击碎的葡萄粒则落入下部的破碎辊中进行破碎,葡萄汁从上部排出。

立式除梗破碎机基本性能如下:

生产能力:10~12t/h,功率5.5kW

40~45t/h,功率10kW

立式除梗破碎机结构如图3-1-9。

图3-1-9 立式除梗破碎机

1-螺旋输送机 2-机体 3-除梗器 4-传动装置 5-筛筒 6-破碎装置

三、葡萄浆和汁、酒所用的泵

葡萄酒酿造工业中用泵来输送葡萄浆、葡萄汁或酒和其他半成品。最常用的泵有转子泵和离心泵两种。

(一)转子泵

常见的为椭圆芯转子泵。

1.用途

用于输送颗粒葡萄、葡萄浆或发酵后的残渣。其作用原理如图3-1-10所示。

图3-1-10 椭圆芯转子泵输送葡萄粒过程图

2.技术特性

能力:12~60t/h(整粒葡萄)

10~20t/h(发酵后残渣)

转速:60r/min

3.优点

(1)在供料充足的情况下,输送量及输送比例均衡,没有跑空车的现象。

(2)应用调速电机,可根据需要调整输送量。

(3)结构简单,操作方便,不会压碎葡萄籽,且价格便宜。

湖南湘潭轻工机械厂生产的ZZ30-20/3型椭圆芯转子泵,其技术特性如表3-1-17所示,结构如图3-1-11所示。

表3-1-17 ZZ30~20/3型椭圆芯转子泵技术特性

图3-1-11 ZZ30-20/3型椭圆芯转子泵结构图

1-电动机 2-BL2联轴器 3-螺旋轴进料器 4-螺旋壳体 5-泵 6-手孔 7-底座

(二)离心泵

1.用途

广泛用于生产中输送葡萄酒、水及其他液体。

2.结构及工作原理

图3-1-12为离心泵示意图。离心泵的工作部分是安在轴1上的工作轮2。它由两个圆盘3和4及它们之间的叶片7组成。当工作轮很快转动时,泵体内形成真空,液体就经过吸入管6和侧孔5进入工作轮,液体由工作轮被抛向泵身9,并从那里压往扬水管8。

图3-1-12 离心泵示意图

3.技术指标

能力:5~40t/h

扬程:低压泵 20m以下。

中压泵 20m以上,50m以下。

高压泵 50m以上。

表3-1-18为湖南湘潭市轻工机械厂生产的不锈钢离心泵的主要性能及技术参数。

表3-1-18 湖南湘潭轻工机械厂生产的不锈钢离心泵的技术参数

*1mmH2O=980665Pa

4.优点

(1)用离心泵所升举的液体,流量均匀连续,没有时多时少之弊。

(2)离心泵可用电动机直接带动,无须皮带齿轮等项传动装置。因此,一般制造和装置费用均较小。

(3)离心泵的出口活门可以任意启闭,以调节流量,即于全闭之时,也无损于泵壳或其他部分。此泵用于过滤设备尤为有效,因当滤机上的滤渣加厚,阻力增加时,离心泵自动调节流量,增加压力。

(4)离心泵适应于没有或含有部分悬浮固体的液体。

(5)离心泵只有一个活动部分,因此易于采用特殊抗酸抗腐蚀材料,如橡皮、陶瓷、塑料、不锈钢等制造,适应于葡萄酒工业。

随便看

 

离鸟网收录3541549条中英文词条,其功能与新华字典、现代汉语词典、牛津高阶英汉词典等各类中英文词典类似,基本涵盖了全部常用中英文字词句的读音、释义及用法,是语言学习和写作的有利工具。

 

Copyright © 2004-2024 vtrois.com All Rights Reserved
更新时间:2026/4/6 23:38:14