网站首页  词典首页


请输入您要查询的字词:

 

字词 蔬菜腌渍制品加工装备
类别 中英文字词句释义及详细解析
释义

蔬菜腌渍制品加工装备


1 概述

我国蔬菜腌渍制品生产,历史悠久,风味独特,品种繁多,不仅畅销国内,还出口20多个国家和地区。

根据蔬菜腌渍制品生产行业的要求,按各种酱菜加工特点,各有关食品机械厂,研制了各种不同类型、不同形状的适于腌渍制品生产的各种机械,使我国蔬菜腌渍制品行业全面实现机械化生产已初具规模。

随着人民生活水平的提高,各种腌渍菜已由传统的佐餐下饭菜变为菜肴中的一种点缀,正向风味化、多样化、包装化趋势发展。整个蔬菜腌渍行业的发展方向是向低糖、低盐、低色、多品种、方便型发展;同时,积极推广真空速制腌渍菜新工艺。

为加速酱菜新工艺、新品种的发展,急需开发和完善其加工成套设备。同时,应提高机器与设备的通用化和系列化程度。

2 加工工艺

2.1 工艺流程

2.1.1 传统工艺 腌制→切型→脱盐→脱水→酱制→包装→成品

2.1.2 真空渗透速制新工艺腌制→切型→脱盐→脱水→真空渗透速酱→包装→成品

2.2 流程说明

2.2.1 腌制 将新鲜蔬菜预处理后,根据品种、季节的不同加入适当的食盐腌制。腌制主要靠食盐的扩散和渗透作用,使原料脱水、变软,产生咸味。

2.2.2 切型 根据酱菜的品种要求,切制成不同形状的条、块、丁、丝、片等菜型。

2.2.3 脱盐 因腌制菜坯用盐量多,使腌菜含盐量高,则酱料不易渗入坯料内部。因此,在酱腌渍前应用清水浸泡脱盐。有条件最好用流水脱盐,速度快,效果好。脱盐浸泡时间应根据季节和含盐量不同而异。

2.2.4 脱水 脱盐的菜坯应沥尽明水并晾干,以便酱制。

2.2.5 酱制 为了便于菜坯的翻动和外形保持完整,酱制通常采用以下几种方法。

(1)直浸法 把菜坯直接浸于酱缸中,保持菜体完整,不易损伤。

(2)袋酱法 把菜坯装入布袋中,用酱覆盖。适用于菜形较小,品质较脆的菜坯。

为保证酱制质量,在酱制时应倒缸并换加新酱,一般每100kg菜坯用酱50~100kg。

酱渍时间,春秋季10天左右,冬季15天左右。

2.2.6 真空渗透速酱 真空速制新工艺只是对酱制工序用真空加压快速酱制代替原来的酱制,此法使酱液迅速渗透到菜坯中,浸渍均匀,故提高了酱制质量,并大大地缩短酱制时间,使生产率得以提高。

3 关键设备

酱菜加工所需的关键设备主要有切菜机、脱水机、真空酱制机及真空包装机等。

3.1 切菜机

蔬菜种类繁多,其性质各异,加之对切割物要求不同,因此切菜机的种类较多。在此仅就主要的几种切菜机给予介绍。它主要用于切割各种蔬菜。

根据切割部分的形式、安装位置和工作方式,切菜机分类如下:

3.1.1 盘式切菜机

(1)立式盘刀切菜机 立式盘刀切菜机的特点是刀片圆形轨迹面与水平轴垂直。常用的垂直盘刀式切菜机有:

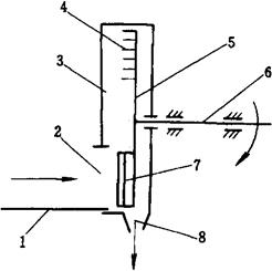
①简易切菜机(图1-6-24):刀片圆盘垂直安装在主轴上,圆盘上装有2~4把切刀,物料从偏置的喂料斗1进入,被切制菜片由下侧方排出。

图1-6-24 立式简易切菜机示意图

1-喂料斗 2-圆盘 3-切刀 4-转轴

该机结构简单,使用方便,造价低廉,主要用于切割较大块状物料,切割质量一般。

②双排圆盘式切菜机(图1-6-25):该机在2根平行轴上,平行交错地安装数把圆盘切刀,两组切刀相对回转,物料从喂料斗进入后被切割。

图1-6-25 双排圆盘式切菜机

1-切刀 2-喂料斗

该机用于切割多种蔬菜,亦可用于肉类和果品切割。其特点是切割质量好,汁液损失少,耗能少,但结构比较复杂。

③多功能圆盘式切菜机(图1-6-26):该机工作时可根据制片的不同要求,更换切割圆盘上的切刀。如将块状物料切片或将片状物料切丝,在切割圆盘上仅安装切片刀即可;如将块状物切丝或将片状物料切成细末,还应拆掉一半切片刀,装相应数量的切丝刀即可。工作时送料由喂料输送带强制送料。

图1-6-26 多功能圆盘式切菜机

1-喂料输送带 2-喂料口 3-切割室 4-切丝刀 5-切割转盘 6-传动轴 7-切片刀 8-出料口

该机适应性强,可切割多种物料,切割质量好,蔬菜汁液损失少,结构较简单。

(2)水平盘刀切菜机

①水平盘刀式切菜机(图1-6-27):它由喂料斗、水平切割圆盘、切片刀、传动轴等组成。在切割圆盘2上安装2~4把切刀3。该机工作时主轴转速不能太高,否则块状物料会因受离心力的作用集中在喂料斗的内壁处,降低了切刀的利用率。为防止物料随同圆盘-道旋转,通常在喂入斗的侧壁装有阻挡板5,以增加切割机会。

图1-6-27 水平盘刀式切菜机

1-喂料斗 2-水平切割圆盘 3-切刀 4-传动轴 5-阻挡板

该机适应性较好,结构简单,生产率较高。

②两用切菜机(图1-6-28):该机在水平切割圆盘上可装切片刀或切丝刀,根据切制品要求选择,如需切片仅装切片刀,要求切丝,则在圆盘上装相同数量的切片刀和切丝刀即可。工作时,原料进入切割室后,靠切割圆盘高速旋转所产生的离心力和挡料板的作用,使物料紧贴切割室内壁,便于切割。按切片要求,切割间隙可在一定范围内调整,以满足不同制片厚度要求。

图1-6-28 水平盘刀两用切菜机

1-切片刀 2-喂入斗 3-切割室 4-切丝刀 5-挡料板 6-卸料板 7-出料口 8-传动轴 9-切割圆盘

该机适用性好,切割质量高,汁液损失少,效率高,主要用于块状物料切片或切丝。

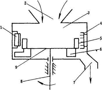
3.1.2 离心式切菜(丁)机(图1-6-29)

离心式切菜机,种类很多。如图1-6-29所示为一种切丁机。该机主要由回转叶轮、横切刀、定刀片、圆盘刀等组成。

图1-6-29 离心式切菜(丁)机

1-回转叶轮 2-横切刀 3-圆盘刀 4-切片刀座 5-切片机壳 6-定刀片

工作时,物料经喂入斗进入回转叶轮1,物料受离心力作用紧贴机壳内壁表面,在回转叶轮带动下,通过定刀片6切成片料。片料经机壳顶部外壳出口,通过定刀刃口向外移动。改变定刀刃与机壳侧壁之间的距离,可调节片料厚度。片料外露时,被横切刀2切成条状。条料继续沿着切刀座移动,最后被圆盘刀3切成立方块或长方块,即切割成丁。

该机用于将多种蔬菜切成丁、块状或条状。切割质量好,适应性强,效率高,工作可靠。

3.2 真空浸渍机与真空压力浸渍机

真空浸渍机与真空压力浸渍机结构和工作原理参见本章第3节。

这两种机器用于酱菜的酱制。工作时将物料置于浸渍罐内,并形成一定的真空度,使物料组织中的空气减少,降低空气压强。当酱制液进入时,在压力差及酱液渗透压的作用下,酱液将快速向物料组织深层渗透,这就是真空浸渍原理。此法比自然浸渍先进。目前最先进的设备是真空压力浸渍机,该机在于将物料抽真空浸渍之后,再加压,使物料组织内外形成一个比真空浸渍更大的压力差,促使酱液更快地向物料深层渗透。故使制品质量好,生产率高。

3.3 真空包装机

参见第2篇第5章。

随便看

 

离鸟网收录3541549条中英文词条,其功能与新华字典、现代汉语词典、牛津高阶英汉词典等各类中英文词典类似,基本涵盖了全部常用中英文字词句的读音、释义及用法,是语言学习和写作的有利工具。

 

Copyright © 2004-2024 vtrois.com All Rights Reserved
更新时间:2026/4/8 9:20:47