网站首页  词典首页


请输入您要查询的字词:

 

字词 螺杆泵
类别 中英文字词句释义及详细解析
释义

螺杆泵


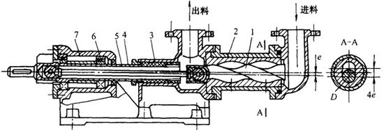
螺杆泵是饮料生产中适合输送带有黏性物料的一种回转式容积泵,也可输送高黏度黏稠液体,如果酱等。

螺杆泵送料连续均匀、无脉动现象、运转平稳、自吸性能好、排出压力高、结构简单。结构见图4-14-30,规格见表4-14-37。

表4-14-37 螺杆泵规格

注:上海水泵厂产品。

图4-14-30 螺杆泵

1-螺杆 2-螺栓 3-填料函 4-平行销连杆 5-套轴 6-轴承 7-机座

随便看

 

离鸟网收录3541549条中英文词条,其功能与新华字典、现代汉语词典、牛津高阶英汉词典等各类中英文词典类似,基本涵盖了全部常用中英文字词句的读音、释义及用法,是语言学习和写作的有利工具。

 

Copyright © 2004-2024 vtrois.com All Rights Reserved
更新时间:2026/5/30 17:04:27