网站首页  词典首页


请输入您要查询的字词:

 

字词 计量充填装置
类别 中英文字词句释义及详细解析
释义

计量充填装置


计量充填装置可以单独使用,所以又可称为计量充填机。在本章中,计量充填装置作为包装机主机的重要配套装置而单独介绍。因为其是自动包装中极为重要的一个工序,其作用就是根据设定的量(重量、容积或数量)和精度将被包装物准确计量,然后充填入包装袋中。

计量充填系统一般由贮料器、供送装置、计量装置和下料装置组成。

从计量方式上分,计量充填装置可分为容积式、称重式和计数式。三种计量方式的特点如表2-6-8所示。

表2-6-8 计量充填装置的分类及特点

袋充填包装机配用计数式计量充填装置很少,本章不再介绍计数式计量充填装置。

1 容积式计量充填装置

容积式计量充填装置形式有多种,如量杯式、柱塞式、气流式、螺杆式、计量泵式、插管式和定时式等。在此仅介绍袋充填包装机最常用的两种容积式计量充填装置——量杯式和螺杆式计量充填装置。

表2-6-9 量杯式和螺杆式计量充填装置工作原理和特点

1.1 量杯式计量充填装置

量杯式计量充填装置分量杯固定式和量杯可调式。固定式装置每种量杯对应一种容积,变更计量的量,通过更换不同内径的量杯达到;可调式可不更换量杯,通过调节上下量杯相对位置改变容积来达到。

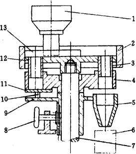
1.1.1 固定式量杯计量充填装置 固定式量杯计量充填装置常见的结构如图2-6-11所示,物料由料斗1落到圆盘7上,圆盘装有若干(图中为4个)个量杯3和对应的活门底盖4,当转盘主轴8带动圆盘7转动时,刮板10将量杯3上的多余物料刮去,当量杯到达卸料工位时,活门底盖4打开,打开方式有多种,图中所示为活门由开启圆销6顶开,由关闭圆销5关闭。

图2-6-11 固定式量杯计量充填装置定量装置图

1-料斗 2-外罩 3-量杯 4-活门底盖 5-关闭圆销 6-开启圆销 7-圆盘 8-转盘主轴 9-壳体 10-刮板 11-下料闸门

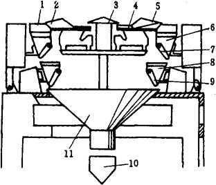
1.1.2 可调式量杯计量充填装置 可调式量杯计量充填装置的核心部分——定量装置结构如图2-6-12所示。工作原理:转动调节手轮8,通过齿轮齿条机构,调节活动量杯托盘4的位置,达到改变量杯深度的目的,增大或减小容积,固定量杯3的上下位置不动。

图2-6-12 可调式量杯计量充填装置的定量装置

1-料斗 2-护圈 3-固定量杯 4-活动量杯托盘 5-下料斗 6-包装容器 7-转轴 8-手轮 9-转盘 10-活门导柱 11-活门 12-调节支架 13-刮板

1.2 螺杆式计量充填装置

螺杆式计量充填装置是用螺杆的螺旋容积计量的。准确地控制螺杆转数和转速,就可以获得所需的计量和计量速度。

螺杆式计量充填装置结构如图2-6-13所示。

图2-6-13 螺杆式计量充填装置

1-料仓 2-插板 3-水平螺旋给料器 4-料位检测器 5-搅拌器 6-垂直螺旋计量充填器 7-闸门 8-输出导管 9-包装容器

2 称重式计量充填装置

称重式计量充填装置可分为有秤斗式和无秤斗式两种。本章仅介绍国内目前最多的,与袋充填包装机配用的有秤斗式计量充填装置。在有秤斗式计量充填装置中,又分为单秤斗、多秤斗和多秤斗电子组合式称量装置。在称量方式、供料形式等方面又有多种形式。

2.1 工作原理

2.1.1 单秤斗称量充填装置这是有秤斗式称量充填装置的最基本形式,图2-6-14所示为一种常见的电磁振动给料的称量装置结构。工作原理:物料经上进料斗4,下进料斗3,经大加料器8和小加料器2,向秤斗11供料。当秤斗进料达到预定称量值的80%~90%时,大加料器8停止加料,由小加料器2继续工作,使物料达到预定值,此时开斗机构9动作,经下料斗1放出物料,然后开始下一循环。

图2-6-14 单秤斗称量充填装置

1-下料斗 2-小加料器 3-下进料斗 4-上进料斗 5-闸板 6-流量控制机构 7-称量机构 8-大加料器 9-开斗机构 10-控制系统 11-秤斗

2.1.2 多斗式称量充填装置 多斗式称量充填装置一般有一个进料斗和出料口,但有多套供料器和称量系统,多个秤斗和开斗机构。各个系统交替依次工作,实际上是单斗秤的组合,其工作速度是单斗秤的倍数关系。

图2-6-15所示为一种双秤斗称量充填装置简图。

图2-6-15 双秤斗称量充填装置简图

1-上进料斗 2-导管 3-供料机构 4-称量机构 5-秤斗 6-出料口

2.1.3 电子组合式称量充填装置(图2-6-16) 电子组合式称量充填装置是多斗称量式,与一般多斗式称量充填装置的最根本区别是秤斗同时工作,每一秤斗都不达到称量预定值,而由控制系统判定哪几个秤斗的称量值相加的和在规定的误差范围内,且最接近设定值,而决定哪几个秤斗打开,下料充填。这与传统多秤斗系统的思路完全不同,其速度很快,是一般多秤斗称量装置的数倍,精度可提高一个数量级。但价格也为数倍。目前,一般多用于形状不规则、较大的块状物料称量。

图2-6-16 电子组合式计量充填装置简图

1-称重台 2-振动加料器 3-喂料台 4-电磁振动器 5-导料槽 6-料斗 7-料斗闸门 8-称重斗 9-称重斗闸门 10-包装容器 11-集合下料斗

2.2 称量机构

称量机构是称重装置的核心,对称量的精度、稳定性、可靠性和速度的影响极大。常用的结构有杠杆式、簧片式、杠杆簧片式和电阻应变片式等。

2.2.1 杠杆式称量机构(图2-6-17) 这是一种传统的机构。结构简单,维修方便,但稳定性,动态特性差。

图2-6-17 杠杆式称量机构图

1-秤斗 2-撑杆 3-微调秤杆 4-主秤杆 5-副秤杆 6-吊杆 7-限位架 8-电磁铁 9-阻尼器 10-接近开关 11-料仓 12-闸门 13-给料器 14-活门 15-细供料活门 16-落料控制阀

2.2.2 簧片式称量机构(图2-6-18) 簧片式称量机构的支杆由一对平行的弹簧片5安装在固定安装板7上,弹簧片既是秤本体构件,又是秤盘的弹性支撑,起平衡作用。预载弹簧用于改变称量值时进行平衡的调节。与杠杆式相比,簧片式称量精度高,反应灵敏。

图2-6-18 簧片式称量机构示意图

1-秤盘 2-预载弹簧 3-限位架 4-阻尼器 5-弹簧片 6-差动变压器 7-固定安装板

2.2.3 杠杆簧片组合式称量机构(图2-6-19) 杠杆簧片组合式称量机构的支撑点用刀口或簧片。此结构结合簧片和杠杆两种方式的主要优点,提高了称量精度和速度,但调整不方便。

图2-6-19 杠杆簧片组合式称量机构

1-横梁重心调节螺母 2-刀口支撑 3-横梁 4-秤斗 5-板弹簧 6-限位架 7-传感器 8-阻尼器 9-配重 10-砝码

2.2.4 电阻应变片式称量机构(图2-6-20) 电阻应变片式称量机构的工作原理是由应变片测量支撑弹性体的变形而测量出所称的质量,应变片可线性地测出微米级位移。因此,动态性能好,称量范围宽,精度高。但控制原理复杂,维护调整不方便,成本较高。

图2-6-20 电阻应变片式称量机构示意图

1-称量台 2-轻合金应变框架 3-应变片

2.2.5 供料机构 供料机构是称量充填装置中比较重要的组成部分。对称量速度和精度有一定影响。常见几种供料机构的使用特点和应用范围如表2-6-10所示。

表2-6-10 供料机构使用特点和应用范围

2.2.6 秤斗与开斗机构 往往秤斗和开斗机构同为一个单元。

图2-6-21所示为常见的几种秤斗与开门机构。

图2-6-21 秤斗与开门机构示意图

(1)双侧摆式活门 (2)单侧摆式活门 (3)下摆式活门 (4)翻转式活门 (5)直移式活门 (6)对开式活门

随便看

 

离鸟网收录3541549条中英文词条,其功能与新华字典、现代汉语词典、牛津高阶英汉词典等各类中英文词典类似,基本涵盖了全部常用中英文字词句的读音、释义及用法,是语言学习和写作的有利工具。

 

Copyright © 2004-2024 vtrois.com All Rights Reserved
更新时间:2026/4/9 11:28:20