网站首页  词典首页


请输入您要查询的字词:

 

字词 设备
类别 中英文字词句释义及详细解析
释义

设备


(一)挤出成型机

用作挤出单丝的挤出成型机通常是直径为40~65mm的单螺杆挤出成型机。主要技术参数和单丝细度范围见表4-5-1。

表4-5-1 挤出成型机主要技术参数

表4-5-2 挤出成型机规格与参考挤出量

挤出单丝时,应设有过滤板和过滤网,主要作用是增加螺杆背压,提高塑料熔体在组成与温度两方面的均匀程度和去除不熔的杂质。这对单丝挤出非常重要,因为单丝是一种比较纤细的制品,又是多根同时挤出,如果熔体均匀程度不好或含有不熔杂质,则不仅影响制品的质量,同时还可能由于单丝断头而影响操作。过滤板的孔径取喷丝孔直径的两倍为好,过滤网为60~100目的金属丝网(最好是不锈钢丝网),由2~3层组合而成。

(二)机头

组成机头的主要部件是模体、分流梭和喷丝板,参见图4-5-2,4-5-3和4-5-4所示。生产单丝主要用直角机头。

图4-5-2 直角式机头

图4-5-3 分流梭示意图

图4-5-4 喷丝板示意图

1-喷丝板 2-连接板 3-倒锥角 4-喷丝孔

1.直角机头

图4-5-2所示系生产单丝常用的一种直角下引机头。在分流梭前的流道外设计成“瘦颈”以增加料流阻力,使熔体均匀流经分流梭至喷丝板;其次是缩短了弯头处流道,使存料减少以避免塑料分解。生产单丝时,熔体在各喷丝孔中的压力须保持恒定和均匀,以免出料波动而使单丝粗细不一,故所设计的机头,其流道截面积应逐渐减小,以使料流具有一定的阻力。

2.分流梭

分流梭的锥角不宜过大,否则容易形成滞流,导致物料的分解,一般取30~80°,其表面应力求光滑,阻力要小,分流梭与模体构成的环隙流道截面积应大于喷丝孔截面积的总和。

3.喷丝板

喷丝板通常用钼钒钢(24CrMoV)、锰钒钢(25Mn2V)或铬钢(15Cr)制成。其结构见图4-5-4所示。喷丝板上出料孔呈环状排列,其孔数一般为20~60,但须视挤出成型机和处理能力等具体情况而定。孔与孔之间的距离应相等且不能太小。太小时,不仅对引丝不利,而且喷丝板的强度也会受到影响。

由圆柱形模头理论挤出公式,得知料流量与喷丝孔半径的四次方成正比。因此如果喷丝孔直径有10%的误差,则流量的误差能达47%,这在挤出工艺上想由机头或牵引的调整得到补偿是不容易的,所以喷丝孔的制造必须具有很高的精度,要求各孔的中心距、孔径、平直部分长度及倒锥角均一致。

由于从机头挤出的单丝还须在轴向上进行2~2.5倍的牵伸,所以喷丝孔的直径总是比制品的直径大,两者之间的关系见表4-5-3。

表4-5-3 聚氯乙烯喷丝孔孔径(mm)

为克服塑料熔体的粘弹性并在流动时具有一定的阻力,喷丝孔应有一定的长度,通常为孔径的4~10倍。喷丝机头部应做成倒锥形作为入口区,倒锥角的角度一般取60°。

(三)辅助装置

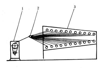
1.冷却水箱

由喷丝孔挤出的熔融单丝以适当的牵伸速度(冷却后的单丝直径基本与喷丝孔孔径相同,或根据经验,第一对牵伸辊的线速度与喷丝孔挤出速度之比为2.5左右),进入冷却水箱予以迅速冷却,冷却水箱见图4-5-5,其具体尺寸应视牵伸速度而定,一般长1~2m,水深1m左右,单丝在冷却水箱内通过的行程在1m以上,水面与喷丝板的距离小于50mm,为便于操作,水箱中的导向滑轮能够升降。

图4-5-5 冷却水箱结构示意图

1-挤出成型机 2-机头 3-蒸汽管 4-冷水管 5-水箱 6-导向滑轮 7-溢流及排水管

2.牵伸装置

牵伸装置一般由三对辊筒和二个热水槽所组成。每对辊筒的直径为150~200mm,长200~3OOmm,表面镀铬,上下排列,中心距约4OOmm,轴倾斜度为6~12°,上辊为主动辊有整流子电机或可控硅控制调速。热水槽长度一般为2~4m,装有蒸汽管或电热棒。热水槽和导向辊用铝或不锈钢制造,以防腐蚀生锈。冷却后的单丝由第一对牵伸辊(绕5~10圈防止单丝在牵伸中打滑)经第一个热水槽进入第二对牵伸辊(绕5~10圈)时.由于第二对牵伸辊的线速度大于第一对,单丝递被拉伸,然后经第二个热水槽(热处理定型,温度比第一个高2~3℃)进入第三对牵伸辊(速度比第二对降低5%左右),使牵伸取向后的单丝的内应力松弛并收缩定型,而后即被送入分丝卷取装置。

牵伸也有用多辊的,如图4-5-6所示。从第一辊到最后一个辊的直径依次放大约1%,使单丝张紧,在第二对牵伸辊拉伸时,不至于打滑。

图4-5-6 牵伸装置

图4-5-7 分丝卷取装置

1-第二牵引辊 2-分丝辊 3-卷取装置

3.卷取装置

卷取装置由卷取筒和卷取轴所组成。为使单丝均匀、平整地绕在卷取筒上,一般借用凸轮排丝。

卷取方法有两种,一种是将几十根单丝分开,每根单丝卷取在一个筒子上,每卷重约1kg见图4-5-7所示;另一种是将几十根单丝合股卷取在一个筒上,每卷重5~8kg,然后用分丝机将复丝分成单丝。也有不分丝而直接将复丝捻丝制绳的。分丝机结构见示意图4-5-8。。

图4-5-8 分丝机结构示意图

1-链条运动 2-凸轮 3-皮带运动 4-电机 5-分丝环 6-分丝排线架 7-分丝架

随便看

 

离鸟网收录3541549条中英文词条,其功能与新华字典、现代汉语词典、牛津高阶英汉词典等各类中英文词典类似,基本涵盖了全部常用中英文字词句的读音、释义及用法,是语言学习和写作的有利工具。

 

Copyright © 2004-2024 vtrois.com All Rights Reserved
更新时间:2026/4/9 8:43:43