网站首页  词典首页


请输入您要查询的字词:

 

字词 调速器
类别 中英文字词句释义及详细解析
释义

调速器


(一)调速器的功用

调速器的功用是根据柴油机负荷大小,自动调节喷油泵的循环供油量,稳定柴油机转速,并能维持柴油机最低稳定转速和限制最高转速,防止柴油机熄火和飞车。

(二)调速器构造和工作原理

1.小型单缸柴油机调速器 小型单缸柴油机多采用飞球或飞块离心全程式调速器。飞球离心全程式调速器的构造如图1-37所示。

图1-37 飞球离心全程式调速器

1.调速把手 2.限速板 3.调速连接杆 4.锁定螺母 5.调节螺钉 6.支轴 7.调速弹簧 8.调速臂 9.齿轮室盖上轴孔 10.钢球 11.调速器轴 12.机体 13.调速支架 14.调速齿轮 15.推力轴承 16.调速滑盘 17.调速轴 18.调速杠杆销 19.调速杠杆 20喷油泵 21.齿杆凸柄

当柴油机负荷减小,转速增加时,飞球的离心力通过滑盘对调速轴的转矩大于调速弹簧拉力对调速轴的转矩,使调速轴顺时针转动,与调速杆固定在一起的调速杠杆也顺时针转动,通过齿杆齿扇油量调节机构使喷油泵柱塞向减少供油量方向转动,减少循环供油量,使柴油机转速下降;当柴油机负荷增大转速降低时,飞球离心力通过滑盘对调速轴的转矩小于调速弹簧拉力对调速杆的转矩,调速轴逆时针转动,调速杠杆通过油量调节机构使柱塞向增大供油量方向转动,增大供油量,使转速提高。因此,当调速手柄位置不变时,由于调速器能根据柴油负荷的变化相应的调节供油量,所以能维持柴油机转速相对稳定。当离心力和弹簧拉力对调速轴的转矩达到平衡时,柱塞就停止转动,提供负荷所需的供油量,使柴油机相对稳定到一定的转速。如果改变调速手柄的位置,调速弹簧预紧力也相应改变,当调速弹簧预紧张力增大,就需要较大的飞球离心力才能得到平衡,由于转速提高才能得到较大离心力,所以当改变调速手柄位置增大调速弹簧预紧力时,调速器将使柴油机以较高的转速工作;反之,则以较低的转速工作。

飞块离心全程式调速器与上述调速器工作原理相同,在结构上的区别只是在感应元件上以飞块代替了飞球。其构造如图1-38所示。

图1-38 飞块离心全程式调速器

1.操纵手柄 2.调速弹簧 3.叉杆 4.调整器齿轮 5.飞块 6.滑杆 7.齿杆

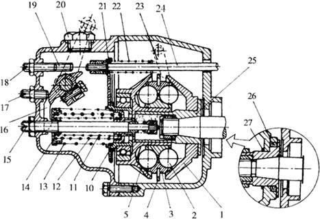
2.Ⅱ号泵调速器 Ⅱ号系列喷油泵调速器属于飞球离心全程式调速器,其构造如图1-39所示。

图1-39 Ⅱ号泵调速器

1.传动盘 2.钢球 3.球座 4.圆盘支架 5.推力盘 6.校正弹簧调整螺母 7.校正弹簧前座 8.校正弹簧 9.校正弹簧后座 10.调速弹簧滑座 11.内弹簧 12.中弹簧 13.外弹簧 14.弹簧座 15.支承轴 16.调速叉 17.低速限制螺钉 18.高速限制螺钉 19.拉杆停供挡钉 20.操纵臂 21.传动板 22.停供弹簧 23.停供转臂 24.供油拉杆 25.传动套 26.方形橡胶圈 27.卡环

(1)起动加浓过程:在起动时,操纵臂转到使调速叉与高速限制螺钉相接触的位置,内、中和外弹簧均受到压缩,由外弹簧直接作用在推力盘的轴承座上,使推力盘轴承座向前移动与调速弹簧滑座之间出现间隙,此间隙称起动行程,由于推力盘向供油量增大方向向前移动了一起动行程,所以供油量增大,起到加浓混合气的作用。起动后,由于柴油机转速提高,飞球离心力增大,推力盘后移克服起动弹簧弹力,使推力盘轴承座与调速弹簧滑座接触,起动加浓作用也就停止。

(2)调速过程:操纵臂处在一定位置,当柴油机负荷增加,转速降时,作用在推力盘上的飞球离心力小于调速弹簧的弹力,使推力盘前移,带动供油拉杆向供油量增大的方向移动,增大供油量,防止转速进一步降低,并基本上恢复到原来的转速。当柴油机负荷减小,转速提高时,作用在推力盘上的飞球离心力大于调速弹簧作用在推力盘上的弹力,推力盘后移,带动供油拉杆向减少供油量方向移动,减少供油量,使柴油机转速降低并基本上恢复到原来的转速。如果操纵臂处在最大供油位置(调速叉与高速限制螺钉接触),调速器就维持柴油机最高转速,因为此时3个调速弹簧均起作用,而且预紧力最大。如果操纵臂处在怠速位置(调速叉与怠速螺钉接触),此时只有外弹簧和内弹簧(怠速弹簧)有预紧力,由于预紧力较小,所以调速器就维持柴油机最低稳定转速。

(3)校正加浓过程:如果柴油机负荷为标定负荷,则柴油机以标定转速运转,此时调速弹簧滑座与校正弹簧滑座接触,但彼此无力的作用。当柴油机超负荷时,转速下降,作用在推力盘上的飞球的离心力虽然小于调速弹簧的作用力,由于受到校正弹簧的限制,推力盘仍不能向增大供油量的方向移动,不能起校正加浓作用。只有柴油机负荷达到一定程度,调速弹簧作用在推力盘的力与飞球离心力作用在推力盘上的力之差大于校正弹簧预紧力时,校正弹簧被压缩,其滑座离开调速轴凸肩出现间隙时,推力盘才能向供油量增加方向移动,起校正加浓作用。由此可见,起校正加浓作用的早晚,决定校正弹簧预紧力和柴油机超负荷程度。如果拧动调整螺母,减小校正弹簧预紧力则在相同超负荷程度条件下,起校正加浓作用就早;反之,则晚。如果拧动调整螺母使校正弹簧并圈后,则不起校正加浓作用。使用中,根据柴油机工作条件的需要,可作适当的调整。

随便看

 

离鸟网收录3541549条中英文词条,其功能与新华字典、现代汉语词典、牛津高阶英汉词典等各类中英文词典类似,基本涵盖了全部常用中英文字词句的读音、释义及用法,是语言学习和写作的有利工具。

 

Copyright © 2004-2024 vtrois.com All Rights Reserved
更新时间:2026/4/8 5:44:13