网站首页  词典首页


请输入您要查询的字词:

 

字词 调面设备的组成及工作过程
类别 中英文字词句释义及详细解析
释义

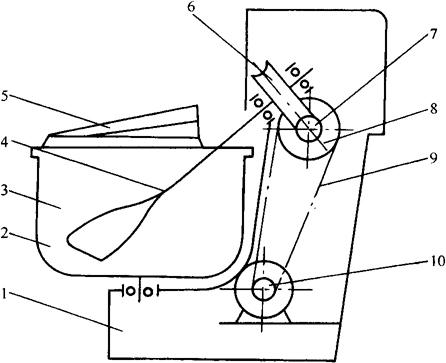
调面设备的组成及工作过程


面包面团调制所需的设备要求能具有提高面团的面筋力的性能,能起到混合、捏摔、加气的作用。一般选用装有韧性面团专用桨叶的卧式或立式调面机,也可采用专供调制面包面团使用的强力和面机。这种强力和面机一般由机架、电动机、传动机构、搅拌机构和面缸及保护罩等组成,见图3-2-1。其工作过程:电动机通过V带和蜗轮、蜗杆传动,带动倾斜安置的旋转主轴和搅拌桨转动,这种搅拌桨经特殊设计制成扭环状,能够促进面团面筋的形成。在面团的翻滚、摩擦作用下,和面缸也绕转动中心转动。这样,在桨叶与和面缸的同时转动下,面团得到充分的混合、摔打,对于面筋的形成极为有利。这种机型还有一个特点就是和面缸可以很方便地从机架上推卸下来。多配几只和面缸就可兼作发酵用的发酵槽,面团调制好后,不需更换容器就可推入发酵室内发酵,提高了工作效率。

图3-2-1强力和面机

1-机架 2-电动机 3-和面缸 4-扭环形搅拌桨 5-安全防护罩 6-传动蜗轮 7-传动蜗杆 8、10带轮 9-V带

这种和面机采用双速电动机,可使搅拌桨做高速或低速旋转,以满足不同的面包面团的调制工艺对和面机转速的要求。

随便看

 

离鸟网收录3541549条中英文词条,其功能与新华字典、现代汉语词典、牛津高阶英汉词典等各类中英文词典类似,基本涵盖了全部常用中英文字词句的读音、释义及用法,是语言学习和写作的有利工具。

 

Copyright © 2004-2024 vtrois.com All Rights Reserved
更新时间:2026/4/5 15:20:57