网站首页  词典首页


请输入您要查询的字词:

 

字词 豆奶加工装备
类别 中英文字词句释义及详细解析
释义

豆奶加工装备


1 概述

将以大豆或低变性大豆蛋白粉为原料,加入一定辅料,按照一定的工艺要求加工成豆奶的设备称豆奶加工装备。豆奶加工分湿法和半湿法两种加工工艺。由于半湿法省去了原料大豆的浸泡工艺,因而具有生产周期短、易于实现生产过程的连续化和自动化,是今后的发展方向。

2 加工工艺

湿法工艺采用的是需预先进行浸泡的传统制浆方法,此法与豆腐等制品的制浆工艺基本相同。因此本节主要介绍半湿法豆奶加工工艺(图1-14-17)。

图1-14-17 半湿法豆奶加工工艺流程图

2.1 烘干

由于原料大豆的含水率一般在13%~14%,为有利于豆皮的脱除,要求含水率在11%左右为好,为此在脱皮前需采用105~110℃的干热空气进行处理,冷却即进行脱皮。如采用120~200℃的干热空气进行10~30s处理,或采用远红外高温瞬间加热处理后速冷,既可脱除部分水分,同时也起到脂肪氧化酶的钝化作用,且蛋白质的热变性也低。采用的设备如振动干燥机、振动流化床干燥机、远红外加热设备等。

2.2 脱皮

通过脱皮可减少土壤中带来的耐热菌,改善豆奶风味,限制起泡性,同时还可缩短脂肪氧化酶钝化所需加热时间,降低贮存蛋白的热变性,防止非酶褐变,可使豆奶保持良好的色泽。大豆脱皮率应控制在95%以上。大豆脱皮采用砂轮磨。

2.3 失活

失活的目的是使脂肪氧化酶钝化而失去活性,以阻止油脂类物质产生氧化而形成豆腥味、苦涩等异味。豆奶生产中,目前普遍采用的是加热钝化法。如将整粒大豆在120~200℃的干热空气中加热10~30s,或用远红外高温瞬间加热,并进行速冷后即可进行脱皮处理;将脱皮后的豆仁,在专用失活设备中加入干热蒸汽(压力约0.25MPa),并辅以稀碱液进行处理;湿法工艺中,用80℃以上的稀热碱水进行磨浆后立即进行高温下保持10min的处理,然后再进行滤浆等。上述这些方法都能达到使脂肪氧化酶钝化的目的,同时也保留了蛋白的可溶性。使用的设备有流化床干燥机、隧道式远红外炉及脂肪氧化酶失活机等。

2.4 磨浆

一般采用80℃的热水进行磨浆,要求豆浆中应有90%以上的固形物能通过150目的筛孔,因此可采用粗、细两次磨碎的方法。采用的设备是磨浆机。

2.5 分离

分离的目的是为了将浆液和豆渣分开,一般控制豆渣含水量在85%以下。大规模生产时采用的分离设备是卧式螺旋沉降分离机,小型则用锥篮式离心机。

2.6 消泡

为了保证调合的质量,一般均需进行消泡处理。使用的设备一般为真空消泡设备。

2.7 调制

调制即根据豆奶品种的要求,在豆浆中加入各种添加剂,并将其充分搅拌均匀。对于各种添加物则要求应作必要的预处理:如作为甜味剂的蔗糖,需经溶化成50%水溶液后滤去杂质;营养补剂及其他辅剂,也应预调成水溶液;油脂类则需进行乳化处理等。使用的设备有带搅拌装置的混合罐、溶糖锅、双连过滤器等。

2.8 杀菌

加热杀菌的目的:一是杀灭豆奶中的微生物和腐败菌等;二是使豆奶中的抗营养物质钝化失去活性。采用传统的煮浆法,虽然能达到杀菌、灭酶的目的。但由于易引起大豆蛋白的变性,而使溶解度下降,进而影响豆奶制品的品质。近年来已广泛采用超高温瞬时连续杀菌、灭酶法。其操作方法是将已调制好的豆奶用泵输入蒸汽喷射式预热器,与干热蒸汽直接混合,在瞬间预热到80℃左右,然后进入杀菌罐再与干热蒸汽直接混合,被瞬间加热到130℃以上。豆奶在杀菌罐中的停留时间,与控制的杀菌温度有关,温度高则时间短,反之则长一些,一般在几秒至几十秒钟之间。

2.9 真空脱臭

真空脱臭的目的是最大限度地除去豆奶中的异味物质。该工序分两步完成。首先是利用高压蒸汽将豆奶加热到140~150℃,然后将热浆体迅速导入真空冷却室,对过热的豆奶抽真空,豆奶温度骤降,体积膨胀,部分水分急剧蒸发,发生爆破现象,豆奶中的异味物质随着水蒸汽迅速排出。一般经过真空脱臭后豆奶温度可降至75~80℃左右。真空冷却室真空度一般为0.026~0.39MPa。

在实际生产中杀菌与真空脱臭设备都采用配套使用,以求满意的效果。使用的设备有蒸汽喷射预热器、高温杀菌罐、真空脱臭罐等。

2.10 均质

均质的目的是为了改善豆奶的适口性和胶体的稳定性。它是豆奶生产中一道不可缺的工序。均质的效果与豆奶的初始温度、均质压力及均质次数有关。初始温度越高、均质压力越高及均质次数多就越好。在实际生产中一般是豆奶脱臭后即进入均质机进行均质处理。由于受生产力配套性的影响,在真空脱臭罐与均质机之间配置一过滤性质的暂贮罐(要采取保温加热措施)以适应配套生产。一般采用13~23MPa的压力进行均质,均质时温度一般控制在70~80℃之间较适宜。目前国内生产常采用一次均质。但要得到优质豆奶应进行两次均质。

2.11 罐装后的灭菌

如均质后采用的是无菌充填罐装工艺,则不再进行灭菌处理。对于不是无菌罐装的豆奶,为了提高保存期,尚需进行一次加热杀菌处理。要求在121℃下保温15min。冷却时需加反压以防冲盖或爆袋。使用的设备一般为卧式杀菌锅。

3 关键设备

3.1 脂肪氧化酶失活机(图1-14-18)

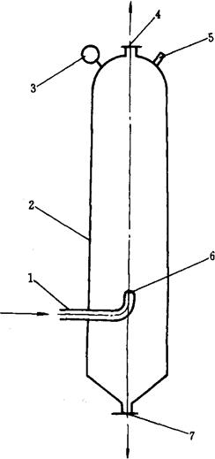
脂肪氧化酶失活机是使大豆中脂肪氧化酶失活的专用设备。经脱皮的豆仁和稀碱液从料斗2落入呈圆筒状机体3的腔内,被螺旋搅拌推进器4送入加热失活段,与从蒸汽进管5来的干热蒸汽混合并被加热,从而达到使大豆脂肪氧化酶失活的目的。加入稀碱液的目的是为了增强失活的效果,同时也可提高蛋白质的提取率。蒸汽工作压力为0.4Mpa,失活时间可通过无级调速装置1进引控制。失活后的物料被推送到出料口8,并与从热水进管7来的热水混合,通过管道进入粗磨。

图1-14-18 脂肪氧化酶失活机示意图

1-无级调速装置 2-料斗 3-机体 4-螺旋搅拌推进器 5-蒸汽进管 6-保温层 7-热水进管 8-出料口

3.2 胶体磨

参见第1篇第17章第3节。

3.3 混合机(图1-14-19)

图1-14-19 混合机结构示意图

1-罐体 2-液面指示器 3-进料口 4-传动装置 5-观察孔 6-搅拌器 7-出料口

混合机是用于将添加剂与豆浆混合均匀。工作时将豆奶和各种添加剂从进料口3输入罐内,开动搅拌器6进行搅拌,以使各种物料分布均匀。在罐体1上有一液面指示器2。混合机在豆奶生产线上,应配置2台交替使用,以保证整个生产过程的连续进行。

3.4 真空消泡罐(图1-14-20)

图1-14-20 真空消泡罐结构示意图

1-出料口 2-进料口 3-罐体 4-压力表 5-真空装置接口

真空消泡罐是利用抽真空,使泡沫内外的空气出现压差而爆破,达到消泡的目的。消泡罐的主体为一呈圆柱形的罐体3。从进料口2吸入的豆浆经消泡后从底部的出料口1排出,真空装置接口5与抽真空装置连接。工作时罐内的真空度控制在0.039~0.053MPa即可。真空度可从压力表4读出。

3.5 杀菌、脱臭装置

杀菌、脱臭装置用于将调制好的豆奶,连续完成预热、高温杀菌及真空脱臭三道工序。该机主要由3台功能各自独立的单机,即蒸汽喷射式加热器、高温杀菌罐及真空脱臭罐组装在同一机架上而成。与其配套工作的附属设备有水力喷射器及多级泵等。

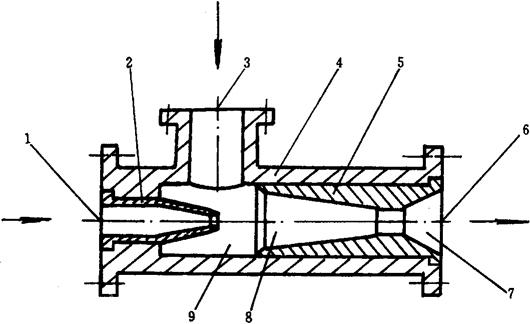
3.5.1 蒸汽喷射式加热器(图1-14-21) 蒸汽喷射式加热器用于将已调好的豆奶进行预加热。该加热器工作时,蒸汽在通过喷嘴2以很高的速度进入吸入室,喷嘴2的出口处形成压力较低的区域,豆奶被吸入后与高速汽流在混合室8均匀混合,豆奶也从高速汽流中获得部分能量。混合流迅速进入喷管的扩散室7,并逐渐减速、升压与升温。当混合流到达扩散室7出口处时,豆奶的压力及温度达到进入下一级高温杀菌罐的操作要求时,从豆奶出口6排出。由于豆奶与高速汽流在混合室的混合过程极快,来不及进行热交换即进入扩散室,因而其热交换过程主要是在扩散室完成。该加热器具有加热速度快(仅需1s左右)、噪音小,以及工作平稳、振动小等优点。

图1-14-21 蒸汽喷射式加热器

1-蒸汽进口 2-喷嘴 3-豆奶进口 4-本体 5-喷管 6-热豆奶出口 7-扩散室 8-混合室 9-吸入室

3.5.2 高温杀菌罐(图1-14-22) 高温杀菌罐用于豆奶的杀菌灭酶处理。工作时,从加热器出来的豆奶,经连接管路直接进入豆奶喷头5,并呈分散成雾状的微小颗粒喷入罐内,与从蒸汽喷嘴6出来的干热蒸汽接触后,在瞬间完成热交换使豆奶升温。蒸汽释放汽化潜热后,冷凝成水与热豆奶颗粒一起在重力作用下,落到罐底,从出料口8经连接管路直接进入真空脱臭罐,进行真空脱臭。罐内应维持一略高于与操作温度相应的饱和蒸汽压的压力,以防水分汽化,影响正常工作。罐内压力可在压力表上读出。温度控制则通过温度传感器,将信号传给自动控制装置,控制电磁阀的开关来实现蒸汽量的调节,达到温度的控制。

图1-14-22 高温杀菌罐

1-温度传感器 2-蒸汽进管 3-压力表 4-豆奶进管 5-豆奶喷头 6-蒸汽喷嘴 7-罐体 8-出料口

3.5.3 真空脱臭罐(图1-14-23) 真空脱臭罐用于将经高温杀菌灭酶后的豆奶,进行脱除异味及迅速降温。该机的基本工作原理是利用经高温杀菌后的高温高压豆奶,通过豆奶喷嘴6喷入具有一定真空度的罐体2时,由于突然降温降压,使喷出的液滴因水分的瞬间汽化蒸发爆破而细化。产生的蒸汽与挥发性气味,被抽真空系统通过废汽出口4吸出罐外。二次蒸汽与冷水进行热交换后凝结为冷凝水,同时夹带不凝结气体随冷水一起排出。因水汽化蒸发时,需吸收大量的热量,而在此过程中又无外部热能的补充,结果使得豆奶迅速降温,一般降至80℃左右。这时由于二次蒸汽被排出机外,因而豆奶的浓度也基本上恢复到开始蒸汽直接加热时水平。脱臭效果及冷凝豆奶的终点温度,与豆奶流量、豆奶初始温度、罐内的真空度及罐的结构等因素有关。冷却后的豆奶通过底部的出料口7,被泵连续吸出送入下一道工序。

图1-14-23 真空脱臭罐

1-进料管 2-罐体 3-真空表 4-废汽出口 5-清洗水进管 6-豆奶喷嘴 7-出料口

3.6 高压均质机

通过高压将豆奶中的脂肪球等粒子进一步打碎,以提高豆奶的乳化稳定性和改善豆奶的口感。该机结构原理参见第1篇第17章第3节。

随便看

 

离鸟网收录3541549条中英文词条,其功能与新华字典、现代汉语词典、牛津高阶英汉词典等各类中英文词典类似,基本涵盖了全部常用中英文字词句的读音、释义及用法,是语言学习和写作的有利工具。

 

Copyright © 2004-2024 vtrois.com All Rights Reserved
更新时间:2026/4/9 14:51:44