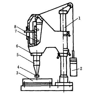
4.2.3.1 超声加工机床结构
超声加工时,工具与工件间作用力很校加工机床只需实现工具的工作进给运动及调整工具与工件间相对位置的运动,因此,构造较简单,见图4-10.

图4-10 CSJ-2型超声加工机床
1—支架;2—平衡重锤;3—工作台;4—工具;5—变幅杆;6—换能器;7—导轨;8—标尺
4.2.3.2 超声加工的进给运动
如图4-11所示,重锤加载式(a)与重锤杠杆加载式(b)结构简单,工件与与工具之间的作用力是工具和主轴质量与所加平衡质量之差,虽然工具对工件的作用力大小可以通过改变重锤质量或重锤的位置调整,但毕竟不太方便.弹簧加载式(c)结构紧凑,调整亦较方便.液压或气压加载式(d)多用于大功率超声加工机床中.

图4-11 超声加工的进给运动示意
(a)重锤加载式;(b)重锤杠杆加载式;(c)弹簧加载式;(d)液压或气压加载式