网站首页  词典首页


请输入您要查询的字词:

 

字词 超声振动系统
类别 中英文字词句释义及详细解析
释义

超声振动系统


超声振动系统的作用是将高频振荡电能变为机械振动能.它主要包括超声换能器、变幅杆及工具3个部分.

4.2.2.1 超声换能器

超声换能器的作用是将高频电振荡转变为机械振动.实现这种转变,目前主要采用压电效应及磁致伸缩两种方法.

(1)压电效应法 原理前文已述.这里需要指出的是:石英的逆压电效应较校300V电压才产生小于0.01μm的变形,而钛酸钡(BaTiO3)的逆压电效应(伸缩量)为石英的20~30倍,但其效率及机械强度太差.锆钛酸铅(ZrPbTiO3)则具有以上两者的优点,故应用较多.较之金属磁致伸缩器,压电材料来源广、价格低,但机械强度、效率低,易老化,故目前多用于中小功率换能器.

(2)磁致伸缩法 某些铁磁体或铁氧体在变化的磁场中,由于磁场的变化,其长度也发生变化(伸长或缩短)的现象,称为磁致伸缩效应(亦称焦耳效应).磁致伸缩换能器可分为金属(铁磁体,如铁、钴、镍)及铁氧体磁致换能器两类.几种铁磁体材料随磁场强度变化的相对延伸率曲线见图4-5.金属磁致换能器的特点是:机械强度高,工作效能稳定,单位面积辐射功率大,电声转换效率一般(30%~40%).金属磁致伸缩换能器中,由于镍磁致伸缩效应较好,且用纯镍片叠成封闭磁路的镍换能器,若事先经处理镍片有氧化绝缘膜可减少高频涡流损耗,镍片焊接性亦好,故通常用于大中功率换能器.

图4-5 几种铁磁体材料的磁致伸缩曲线

1—ω(镍)=75%,ω(Fe)=25%;2—ω(钻)=49%,ω(钒)=2%,ω(铁)=49%;3—ω(镍)=6%,ω(铁)=94%;4—ω(镍)=29%,ω(铁)=71%;5—退火钴;6—镍

铁氧体换能器电声转换效率高(>80%),但其机械强度不变,单位面积辐射功率校通常用于小功率的换能器.

需要指出的是,磁致伸缩效应与换能器温度有关,一般的规律是:换能器温度升高,则其相对延伸率降低.故在超声加工机床工作过程中,换能器应采取冷却措施.通常是:大功率换能器用水冷,小功率的用风冷或自然冷却.

4.2.2.2 变幅杆

变幅杆的作用是将来自换能器的超声振幅放大至0.01~0.1mm,以便于加工.在进行大功率的超声加工及精密加工时,往往将变幅杆与工具设计制成一个整体;在进行小功率的超声加工及加工精度要求不太高时,则将变幅杆与工具设计制成可拆卸式.

变幅杆的基本型式有圆锥形、指数形、阶梯形(见图4-6).此外,还可有两种以上单一形状组成的组合型.

图4-6 3种基本型式的变幅杆

(a)圆锥形;(b)指数形;(c)阶梯形

各种变幅杆在长度上的变化是不一样的,但在不计传播损耗时,杆上每一截面的振动能量是一个恒量.截面越校截面上能量密度越大,振动的幅值就越大,故各种类型变幅杆的放大倍数亦不同.设N为面积系数,=4/d,这里,S1、S2、D、d分别为变幅杆输入端及输出端面积及直径.则在不同N值时,几种常用的单一型变幅杆之振幅放大倍数Mp见表4-2.

表4-2 不同N值时几种变幅杆放大倍数Mp

由表4-2可见,在N值确定时,阶梯形变幅杆放大倍数最大.阶梯形变幅杆加工制作工艺简单,故应用亦较普遍.其缺点是当放大倍数过大时,可能发生侧振,且对附加于端面的负荷较敏感;因机械应力大,易损坏.

设计变幅杆主要考虑的因素如下.

①确定变幅杆类型.

②变幅杆与换能器应处于共振状态,目的是为获得较大的振幅放大倍数.

③制造简单.

④材料.变幅杆的材料要求声阻小、疲劳强度高.一般选用45钢、65Mn、40Cr等.

几种常用的单一型变幅杆主要设计计算公式见表4-3.

表4-3 几种单一型变幅杆的主要设计计算公式

注:对指数形变幅杆,必须满足β<ω/c,即相应于fp有一临界值Nn

4.2.2.3 工具

工具是变幅杆的负载,其结构尺寸、质量大小及与变幅杆连接好坏,对超声振动共振频率和工作性能有很大影响.工具对加工精度及加工表面质量亦有很大影响.

工具的类型见图4-7.

在图4-7中,(a)(b)两类工具的直径比变幅杆输出端直径要小得多,故对变幅杆共振长度不用修正;(c)(d)两类工具的直径与变幅杆输出端直径差不多,故对变幅杆共振长度必须修正;(e)为加工深孔时之工具,变幅杆长度应设计为超声波半波长的整数倍.

图4-7 超声加工工具类型

1—变幅杆;2—工具

4.2.2.4 换能器、变幅杆、工具三者之间的联接

(1)变幅杆与换能器的联接 见图4-8.

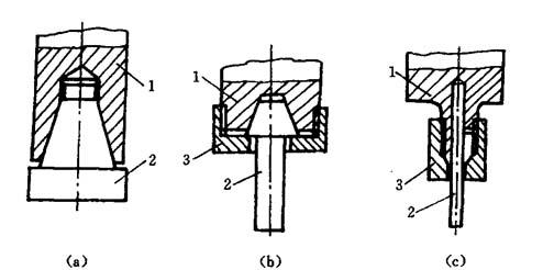
(2)变幅杆与工具的联接 见图4-9.

(3)注意事项 换能器、变幅杆、工具三者之间的联接状况,直接影响到振动能量的传递与损失.这种联接,可以是可拆卸的(如图4-8、图4-9),也可是不可拆卸的.在可拆卸联接方式中,应注意在各联接面上涂上凡士林油,否则存在空气间隙,会造成超声振动能量的快速衰减.

图4-8 变幅杆与换能器的联接

(a)螺纹联接;(b)楔联接;(c)外端螺帽联接.

1—换能器;2—变幅杆

图4-9 变幅杆与工具的联接

(a)螺纹外锥形联接;(b)外端螺帽联接;(c)弹簧夹头联接.

1—变幅杆;2—工具;3—螺帽

随便看

 

离鸟网收录3541549条中英文词条,其功能与新华字典、现代汉语词典、牛津高阶英汉词典等各类中英文词典类似,基本涵盖了全部常用中英文字词句的读音、释义及用法,是语言学习和写作的有利工具。

 

Copyright © 2004-2024 vtrois.com All Rights Reserved
更新时间:2026/4/8 11:32:35