网站首页  词典首页


请输入您要查询的字词:

 

字词 车架
类别 中英文字词句释义及详细解析
释义

车架


大中型拖拉机的车架分为全梁架式、半梁架式和无梁架式3种。全梁架式车架有一个完整的框架,部件的拆装维修方便,但金属耗量多。东方红-75、802型拖拉机的全梁架式车架如图4-13所示,由纵梁、横梁、前横梁、后横梁与后轴等组成。

图4-13 东方红-75、802型拖拉机的全梁架式车架

1.前梁 2.前横梁 3.后横梁 4、7.纵梁 5.后轴 6.台车轴

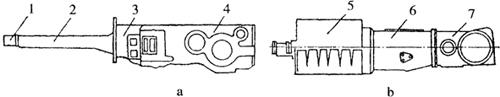
半梁架式车架如图4-14a所示,它的一部分为专门的梁架,用来安装发动机与前轴等,另一部分由传动系的壳体组成。其结构刚度好,维修较方便。铁牛-55、650型拖拉机采用这种车架。

图4-14 半梁架式与无梁架式车架

a.半梁架式车架 b.无梁架式车架

1.前梁 2.纵梁 3.离合器壳 4.变速箱和后桥壳 5.发动机壳 6.变速箱壳 7.后桥壳

无梁架式车架没有专门的梁架,而是由发动机机体、离合器、变速箱和后桥壳体连接而成,如图4-14b所示。其主要特点是重量轻,刚度好,拆装不方便。东风-50、上海-50型等轮式拖拉机采用这种车架。

随便看

 

离鸟网收录3541549条中英文词条,其功能与新华字典、现代汉语词典、牛津高阶英汉词典等各类中英文词典类似,基本涵盖了全部常用中英文字词句的读音、释义及用法,是语言学习和写作的有利工具。

 

Copyright © 2004-2024 vtrois.com All Rights Reserved
更新时间:2026/4/7 8:34:02