网站首页  词典首页


请输入您要查询的字词:

 

字词 转向器
类别 中英文字词句释义及详细解析
释义

转向器


(一)转向器的功用与类型

1.功用

(1)将转向盘的操纵力矩传给转向垂臂。

(2)放大操纵力矩,即在转向盘上施加小的操纵力矩,在转向垂臂上得到大的作用力矩。

(3)改变力矩作用平面。

2.类型 转向器按其结构特点可分为蜗轮蜗杆式、螺杆滚轮式、螺杆螺母循环球式、蜗杆指销式及齿条齿扇式。小型拖拉机和三轮农用运输车多采用蜗轮蜗杆式。

(二)转向器的构造和工作原理

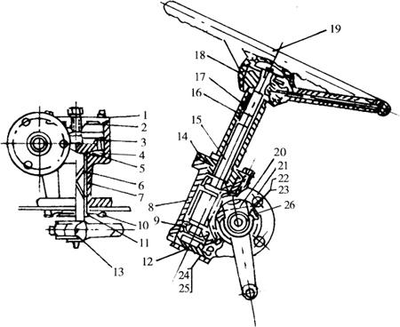
转向器(蜗轮蜗杆式)的构造如图3-12所示。由转向器壳体、蜗杆、蜗轮、调芯衬套等组成。转向器壳体由4个螺钉固定在车架上。其他零件都装在转向器壳内。转向轴下端焊有蜗杆,蜗杆由两个单列圆锥滚子轴承7204E支承在转向器壳体内。轴承下压板与转向器壳体之间有调整垫片,用来调整7204E轴承间隙。转向轴套管总成通过3个螺钉紧固在转向器壳体上。调芯衬套是一个偏心套,装在转向器壳内,伸出壳外的2个凸爪与调芯盘的内花键槽配合,蜗轮与转向垂臂轴制成一体,转向垂臂轴插入调芯衬套内,呈滑动配合。转动调芯盘时,带动调芯衬套转动,可改变蜗轮蜗杆的中心距,以调整其啮合间隙。在调芯盘外装有密封毡圈和防尘盖,由3个半圆头螺钉一起固定在机架上。蜗轮与调芯衬套间装有调整垫片,在蜗轮封盖中心装有止推螺钉,外端用螺母锁住。

图3-12 转向器

1.蜗轮封盖 2.纸垫 3.紧固螺钉 4.蜗轮 5.调整垫片 6.垂臂轴 7.调芯衬套 8.转向器壳 9.轴承7204E 10.调芯盘 11.防尘油毛毡 12.轴承下压板 13.挡圈 14.纸垫 15.转向轴 16.转向轴套管总成 17.转向轴套 18.键5×19 19.转向盘 20.转向垂臂 21.防尘盖 22、23、24、25.调整垫片 26.螺钉

当向左或向右转动转向盘时,蜗杆也随之转动,通过蜗轮带动垂臂也相应的作左右摆动。垂臂的摆动再通过转向系的传动杆件使前轮向左或向右偏转,实现机车向左或向右转向。

随便看

 

离鸟网收录3541549条中英文词条,其功能与新华字典、现代汉语词典、牛津高阶英汉词典等各类中英文词典类似,基本涵盖了全部常用中英文字词句的读音、释义及用法,是语言学习和写作的有利工具。

 

Copyright © 2004-2024 vtrois.com All Rights Reserved
更新时间:2026/4/8 3:53:33