网站首页  词典首页


请输入您要查询的字词:

 

字词 轿门地坎和轿门导靴
类别 中英文字词句释义及详细解析
释义

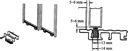
轿门地坎和轿门导靴


参见图19.3-3,保养程序如下:

图19.3-3 典型的轿门导靴与地坎

(1)用手晃动轿门下部,如果晃动较大,或者发出较大“咯咯”声,说明导靴磨损严重,需要更换导靴。

(2)用吸尘器清理地坎槽内的异物,然后用抹布擦拭清理。

(3)更换新的门导靴后,应检查门导靴在地坎凹槽内运行是否平稳,新导靴可能会有一些毛刺影响门开关的平稳,可以适当修理门导靴。

随便看

 

离鸟网收录3541549条中英文词条,其功能与新华字典、现代汉语词典、牛津高阶英汉词典等各类中英文词典类似,基本涵盖了全部常用中英文字词句的读音、释义及用法,是语言学习和写作的有利工具。

 

Copyright © 2004-2024 vtrois.com All Rights Reserved
更新时间:2026/4/9 12:37:28