网站首页  词典首页


请输入您要查询的字词:

 

字词 进气形式
类别 中英文字词句释义及详细解析
释义

进气形式


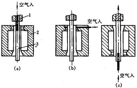
中空吹塑的进气形式很多,通常使用有针吹法、顶吹法和底吹法三种(见图15-17)。至于采用哪一种可根据设备条件、成品尺寸和壁厚分布的要求加以选择。但是,不论采用哪一种形式,应以压缩空气中不包含油和水滴,其压力足以吹胀型坯得到轮廓明显和字母花纹清晰的制品为原则。

图15-17 三种基本的进气形式

(a)顶吹法 (b)针吹法 (c)底吹法

1-机关 2-模具 3-型坯

(一)针吹法

针吹法也称横吹法,是装在模具的一半爿中的。当模具闭合时,吹针前进,穿破型坯壁,并以压缩空气吹胀型坯,然后吹针缩回。另一种方法是,为了引入吹针,在成品颈部上有一段延长部分,以便吹针插入延伸部分而不致损坏瓶颈。这种方法不只局限于用一根吹针,还可用几根吹针同时吹气,以缩短吹胀时间。针吹法的代表性设计如图15-18。这种方法目前国内较少应用。

图15-18 针吹法吹针的位置

1-吹针 2-夹口 3-夹 嵌件

针吹法优点是适合连续吹塑颈尾相连的小型容器,而且还可用于内具有切断装置的模具,生产用芯轴吹气不能成型的不带瓶颈的制品。

针吹法的缺点是在开口制品成型后,为了获得合格的瓶颈,需要整饰加工。同时,模具结构也较复杂。因此,与一般的芯轴吹塑相比,模具制造成本高,吹塑过程中压力损失大,只能用于中小型制品的吹塑。

(二)顶吹法

模具闭合时,型坯在底部被夹住而让顶部开口,以使压缩空气从吹气芯轴中通入。较先进的顶吹法是吹气芯轴由二部分构成:一部分是能定颈部内径的芯轴,另一部分是在吹气芯轴上滑动的旋转刀,下降后切除余料,见图15-19。

图15-19 兼有定径和切颈作用的顶吹法

顶吹法的优点是可以直接利用机头芯模作为吹气芯轴,压缩空气从机头进入,经芯轴进入型坯,从而简化了吹塑机构。

其缺点是采用本法较难定径(为便于插入型坯中,芯轴都较细)和需要增加颈部修饰工序。而且,压缩空气直接从机头芯模通过,影响机头温度。为此,就得设计与芯模无关的独立的顶吹芯轴。

(三)底吹法

底吹法见图15-20。从机头挤出的型坯,落到模具底部的吹气芯轴上。吹气芯轴的作用除用以吹胀型坯外,还能保证瓶颈尺寸精确。在采用底吹法,在底部的区域内必须提供过量的物料,这就导致瓶颈分模线处形成两个耳状飞边,制品成型后需整饰。

这种吹塑方法适用于口部偏离制品中心的大型容器,如化工包装容器、啤酒桶等,也能用于具有几个开口的容器。

底吹法的缺点是进气口设在型坯温度较低的部位,而且型坯接触吹气芯轴后,温度进一步下降,因此,若在吹气口旁边的制品形状较为复杂时,往往型坯吹胀不够充分,且瓶颈部分耳状飞边修剪后,留有较明显的痕迹,同时容器底部的厚度较大。

图15-20 具有定径作用的底吹法

1-定径吹塑杆 2-带齿轮转筒 3-分割瓶颈溢料

随便看

 

离鸟网收录3541549条中英文词条,其功能与新华字典、现代汉语词典、牛津高阶英汉词典等各类中英文词典类似,基本涵盖了全部常用中英文字词句的读音、释义及用法,是语言学习和写作的有利工具。

 

Copyright © 2004-2024 vtrois.com All Rights Reserved
更新时间:2026/4/9 7:17:35