网站首页  词典首页


请输入您要查询的字词:

 

字词 速溶豆浆晶加工装备
类别 中英文字词句释义及详细解析
释义

速溶豆浆晶加工装备


1 概述

速溶豆浆晶(也称豆乳晶)在温水或凉水中就能迅速溶化,是人们喜饮的蛋白质饮料,可替代牛奶和其他奶制品。

速溶豆浆晶(也称豆乳晶)加工装备。是用以大豆为主要原料,甜味剂及营养补剂等为辅料加工成固体饮料速溶豆浆晶所需的设备。根据加工工艺要求,加工成套设备,基本上是选用通用加工机械经组合而成。

2 加工工艺

速溶豆浆晶的生产工艺方法可分为传统的湿法(即大豆需进行浸泡)和半湿法两种。其中湿法较适合于小型厂。在此仅就半湿法的典型工艺作一介绍(图1-14-24)。

图1-14-24 半湿法速溶豆浆晶加工工艺流程图

从工艺流程图可以看出,从原料大豆清选至均质,其所采用的工艺及操作方法与半湿法豆奶生产工艺相同,详细说明见本章第4节有关内容。下面仅就后段工艺作一说明。

2.1 真空浓缩

在真空干燥前需对物料进行真空浓缩,一般要求浓缩后的浆液中固形物含量在60%~65%。使用的设备为真空浓缩锅。蒸汽压力为0.05MPa左右,真空度控制在0.089~0.095MPa左右,温度为50℃左右。

2.2 装盘

将浓缩后的浆料定量装入烘盘,以便进行真空干燥。盘中料层厚度一般为8~10mm,要做到均匀一致。

2.3 真空干燥

使装盘物料在真空系统作用下,进行减压蒸发排除水分、受热发泡、冷却固形,从而获得具有疏松多孔、呈蜂窝状结构的固体。并使粉碎后的颗粒也具有同样特性。这种结构特性具有良好的溶解度和冲调性。真空干燥过程中,操作条件的控制很重要。一般控制条件为:加热蒸汽压力为0.1~0.12MPa,真空度初期为0.09~0.092MPa,后期为0.095~0.097MPa。加热升温应在真空度达0.079MPa后才能开始。为加快恒速干燥的速度,在开始时采用加热蒸汽压力为0.25~0.3MPa,真空度为0.095MPa以上。这个过程一般需30min左右。如发现沸腾厉害,有可能溢盘时,应进行减压,并稍破真空,以防物料溢出盘外,造成浪费。发泡达到要求后,应在高真空度的状态下迅速冷却固形。断蒸汽、开冷却水阀。一般约进行30min。破真空出箱。设备为真空干燥箱。

2.4 破碎

干燥后的豆浆晶呈多孔板块状。需经破碎机破碎,然后用8~16目筛进行分级,使颗粒均匀。破碎工作间需空调,室温20℃左右,相对湿度在45%~50%。在破碎前应剔出不干及烤焦的部分。不干的可回箱再干燥,烤焦的则不能再用。该工序采用篮式粉碎机。

2.5 包装

经检验后的速溶豆浆晶,一般采用塑料袋包装。包装首先用小袋,每袋25g,然后再用大袋,每大袋为10小袋。包装时用塑料封口机进行封口,封口必须严密,不得有任何漏气现象。包装工作间的环境要求与破碎间相同。

3 关键设备

从工艺流程中可以知道,前段加工工艺、操作方法及手段与豆奶加工前段相同,仅均质工序所选用的设备不同,豆奶加工用的是高压均质机,而在速溶豆浆晶生产中一般选用卧式或立式胶体磨。

3.1 真空浓缩锅

真空浓缩锅用于将经均质处理后的浆液,在浓缩锅中排除大部分水分,约70%,使其固形物含量达到60%~65%左右,以便于后道工序的操作。真空浓缩锅工作原理参见第1篇第6章第5节。

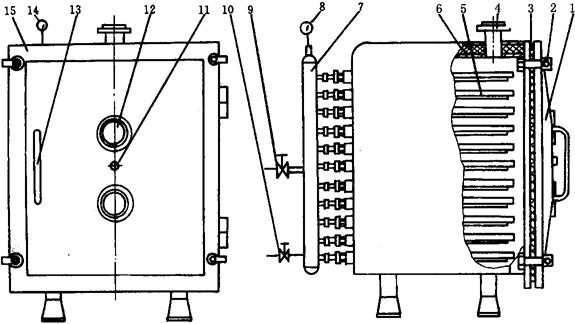
3.2 真空干燥箱(图1-14-25)

图1-14-25 真空干燥箱

1-门 2-压紧螺杆 3-橡胶密封圈 4-接真空系统法兰 5-加热板 6-保温层 7-分汽包 8-压力表 9-蒸汽阀 10-冷水阀 11-破真空孔橡胶密封板 12-观察孔 13-拉把 14-真空表 15-箱体

真空干燥箱工作时,料盘水平放置在加热板5上,门1与箱体15间采用橡胶密封圈3进行密封。通过连接法兰4与真空系统联结抽真空,真空度从真空表14读出。打开蒸汽阀9,蒸汽通过分汽包7分配给各层加热板,热量通过与加热板上表面平贴在一起的料盘底传给料液进行加热。使料液中的水分在高真空、低温下蒸发,起泡胀发定型。当达到要求后,关闭蒸汽阀,打开冷水阀10进行速冷固型。出料时首先揭下破真空孔上的橡胶密封板11进行破真空,然后出料。

3.3 篮式粉碎机(图1-14-26)

图1-14-26 篮式粉碎机

1-筛板 2-支脚 3-破碎指杆 4-筒体 5-托梁 6-传动装置

篮式粉碎机工作时,块料从顶部的进料口喂入筒体中,在破碎指杆的打击下破碎,破碎后的小颗粒穿过设有Φ4mm孔的筛板排出机外。不合要求的则继续被破碎后排出。

随便看

 

离鸟网收录3541549条中英文词条,其功能与新华字典、现代汉语词典、牛津高阶英汉词典等各类中英文词典类似,基本涵盖了全部常用中英文字词句的读音、释义及用法,是语言学习和写作的有利工具。

 

Copyright © 2004-2024 vtrois.com All Rights Reserved
更新时间:2026/4/9 7:07:59