网站首页  词典首页


请输入您要查询的字词:

 

字词 配料罐
类别 中英文字词句释义及详细解析
释义

配料罐


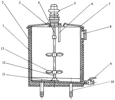
最简易的配料罐是一只空壳罐体,一般带有搅拌器。图4-14-1为带有搅拌器及保温层的配料罐,技术参数见表4-14-1。

图4-14-1 配料罐

1-保温层 2-罐体 3-中间盖板 4-联接轴 5-摆线针轮减速器 6-进料管 7-罐盖 8-温度计 9-旋塞阀 10-支架 11-轴座 12-搅拌浆轴 13-搅拌浆叶

表4-14-1 配料罐技术参数

随便看

 

离鸟网收录3541549条中英文词条,其功能与新华字典、现代汉语词典、牛津高阶英汉词典等各类中英文词典类似,基本涵盖了全部常用中英文字词句的读音、释义及用法,是语言学习和写作的有利工具。

 

Copyright © 2004-2024 vtrois.com All Rights Reserved
更新时间:2026/4/9 7:51:11