网站首页  词典首页


请输入您要查询的字词:

 

字词 钢制牛腿时地坎的安装(中分式)
类别 中英文字词句释义及详细解析
释义

钢制牛腿时地坎的安装(中分式)


钢制牛腿结构的地坎应用比较普及,现在电梯大多采用这种方式来固定地坎。钢结构的牛腿可以现场利用角铁制作,方便快捷,使用膨胀螺栓固定,安装速度快,效率高,结构简单,对井道土建没有额外要求,所以应用比较普遍。其标准操作流程如下:

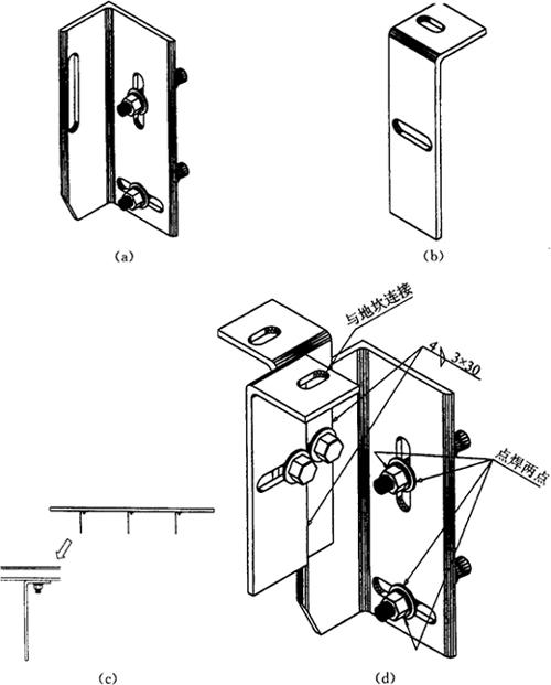
(1)使用撞拉式膨胀螺栓固定钢制牛腿,如图5.1-4所示。

图5.1-4 厅门地坎支承结构示意

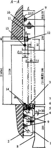
(2)地坎的安装如图5.1-5所示,图5.1-5中的零部件清单见表5.1-2。

图5.1-5 厅门地坎支承示意1

表5.1-2 厅门地坎支承零部件清单

①用撞拉式膨胀螺栓将层门踏板托架紧固在厅门侧井道壁上。如图5.1-6(a)所示。

图5.1-6 厅门地坎支承示意2

②把厅门踏板支架[图5.1-6(b)]与地坎组件临时紧固在一起,如图5.1-6(c)所示。

③用螺栓临时紧固厅门踏板支架和厅门踏板托架。

④层楼间的土建尺寸偏差较大时,即如图5.1-5中L>110mm时,应使用双地坎支架,如图5.1-6(d)所示。

⑤通过厅门踏板支架和厅门踏板托架上的长圆孔前后、左右、上下移动地坎组件,使地坎组件的安装精度达到:

·地坎端面与门口样线距离为31mm±1mm(该尺寸与放线尺寸相关,不同电梯可以根据实际放线尺寸来确定该尺寸),在门口宽上,该距离的误差应在1mm以内,如图5.1-3所示;

·地坎B面上门口宽划线应与门口样线对齐,偏差在1mm以内;

·地坎B面的水平误差应不超过1/1000;

·校正方法:用水平尺校核,手锤柄敲正;

·地坎B面应高出楼板装饰面2~5mm。

⑥将所有的紧固螺栓紧固。

⑦点焊(2个位置)撞拉式膨胀螺栓的平垫圈与层门踏板托架,另焊接厅门踏板支架与厅门踏板托架两端部,如图5.1-6(d)所示。

⑧把间隙封板焊接在地坎组件及厅门踏板托架上,如图5.1-5所示。

⑨在焊接位置刷上油漆。

⑩当开门宽度为1000mm、1100mm时,需要增加两档厅门踏板支架,如图5.1-5所示。

随便看

 

离鸟网收录3541549条中英文词条,其功能与新华字典、现代汉语词典、牛津高阶英汉词典等各类中英文词典类似,基本涵盖了全部常用中英文字词句的读音、释义及用法,是语言学习和写作的有利工具。

 

Copyright © 2004-2024 vtrois.com All Rights Reserved
更新时间:2026/4/9 2:46:55