网站首页  词典首页


请输入您要查询的字词:

 

字词 钻头
类别 中英文字词句释义及详细解析
释义

钻头


钻头是钻井时直接破碎岩石的工具,不同的地层和钻井工艺选择不同类型的钻头。合理选用钻头,对提高钻井效率和保证工程质量极为重要。

井矿盐目前常用的钻头为:三牙轮钻头、硬质合金钻头及金刚石钻头。

(-)三牙轮钻头

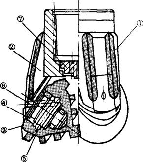
由钻头体、巴掌、牙轮、轴承和水眼组成。其结构见图3-2-10、3-2-11。

图3-2-10 有体式钻头

图3-2-11 无体式钻头

1-驱体 2-轮掌 3-牙轮 4-滚柱 5-钢球 6-塞销 7-水眼板 8-水眼套。

其系列、类型和规范见表3-2-24、3-2-25、3-2-26。

表3-2-24 三牙轮钻头系列及代号

表3-2-25 三牙轮钻头的类型及其选用条件

钻头型号中符号的意义

有时硬度用拼音字母代替。如S也可标ZY。

表3-2-26 三牙轮钻头主要规范

注:1.231A为正规扣,231为正规扣。

2.按世界通用扣型代号第-字为英制尺寸;第二字为扣型,即1为内平扣,2为贯眼扣,3为正规扣;第三字为公扣,即1为公扣,0为母扣。例:521代表贯眼公扣620代表贯眼母扣,331代表正规公扣。

(二)硬质合金取心钻头

轻型钻机钻进时,大多采用硬质合金钻头,进行取心钻进。目前厂家主要生产空白钻头,根据不同地层及需要自行设计镶嵌硬质合金(见图3-2-12)。合金镶焊角度如图3-2-13所示。其主要技术数据见表3-2-27、3-2-28、3-2-29、3-2-30。

图3-2-12 硬质合金取心空白钻头

图3-2-13 合金镶焊角度

1-正前角斜镶 2-直镶 3-负前角斜镶 Φ-前角 β-刃尖角 a-镶嵌角 θ-后角

表3-2-27 空白钻头尺寸表

表3-2-28 切削具的出刃

表3-2-29 不同规格钻头所需合金数量

表3-2-30 合金镶焊角度表

(三)金刚石钻头

1.金刚石钻头型号见表3-2-31。

表3-2-31 金刚石钻头型号

2.各型号钻头适用范围及特点

TM5系列:全面钻进钻头。适用于中硬至硬地层作全面钻进。其中TM5D型钻头适用于定向井钻进。该系列钻头有耐腐蚀胎体,Y形水眼,呈放射状的冷却水道和水集岩屑的水槽。钻头剖面顶部为圆弧形状,工作面上金刚石设计为两行或四行排列分布,切削强、机械钻速高。

TQ3,TQ4系列:取心钻头。适用于中软至中硬地层取心钻进。其结构特征为:耐腐蚀的胎体,金刚石设计为多排分布,金刚石镶嵌密度较大。工作面上有高低压水槽,便于液流的顺利通过,也利于金刚石的冷却和井底的冲洗,促进机械钻速的提高。

TQ5系列:取心钻头。适用于阳新统灰岩和震旦系白云岩。具有耐腐蚀的粉末冶金胎体、放射状高压水道和低压岩屑收集槽,金刚石能获得良好的冷却,并能及时排除井底岩屑,有利于提高机械钻速。

随便看

 

离鸟网收录3541549条中英文词条,其功能与新华字典、现代汉语词典、牛津高阶英汉词典等各类中英文词典类似,基本涵盖了全部常用中英文字词句的读音、释义及用法,是语言学习和写作的有利工具。

 

Copyright © 2004-2024 vtrois.com All Rights Reserved
更新时间:2026/4/5 14:23:56