网站首页  词典首页


请输入您要查询的字词:

 

字词 陶瓷片密封水嘴
类别 中英文字词句释义及详细解析
释义

陶瓷片密封水嘴


1.术语(表6-81)

表6-81 陶瓷片密封水嘴的相关术语

2.分类及代号(表6-82)

表6-82 陶瓷片密封水嘴的分类及代号

3.技术要求

(1)加工与装配

1)铸件不得有缩孔、裂纹和气孔等缺陷,内腔所附有的芯砂应清除干净。

2)管螺纹精度应符合相应的规定。

3)螺纹表面不应有凹痕、断牙等明显缺陷,表面粗糙度Ra不大于3.2μm。

4)塑料件表面不应有明显的填料斑、波纹、溢料、缩痕、翘曲和熔接痕。也不应有明显的擦伤、划伤、修饰损伤和污垢。

5)冷热水标志应清晰,蓝色(或C或冷字)表示冷水,红色(或H或热字)表示热水。双控水嘴冷水标志在右,热水标志在左,连接牢固。轮式手柄逆时针方向转动为开启,顺时针方向转动为关闭。

6)装配好的手柄应平稳,轻便、无卡阻。手柄与阀杆连接牢固,不得松动。单柄双控混合水嘴手柄扭力矩应大于等于6N-m±0.6N·m,在冷水、热水位置的开、关两个状态扭力矩应大于等于2.5N·m±0.5N·m;单柄单控和双柄双控水嘴手柄扭力矩应大于等于4N·m±0.5N·m。试验后,任何部件应无可见变形;阀芯密封、上密封、流量应达到标准要求。

7)陶瓷片硬度≥1000HV5。

8)与水嘴配接的软管应符合《卫生设备用软管》(JC 886)的规定。

9)水嘴连接螺纹应能承受扭力矩为:公称通径DN15,扭力矩≥61N·m;公称通径DN20,扭力矩≥≥88N·m。经扭力矩试验后,应无裂纹、损坏。

(2)外观质量

1)水嘴外表面涂、镀层应结合良好,组织应细密,光滑均匀,色泽均匀,抛光外表面应光亮,不应有起泡、烧焦、脱离、划伤等外观缺陷。

2)涂、镀层进行24h酸性盐雾试验后,达到标准10级的要求。

3)涂、镀层经附着力试验后,不允许出现起皮或脱落现象。

(3)使用性能

1)水嘴阀体的强度性能应符合表6-83的规定。

表6-83 水嘴阀体的强度性能

2)水嘴的密封性能应符合表6-84的规定。

表6-84 水嘴的密封性能

按表6-84中规定,用冷水进行试验和用空气在水中进行试验是等效的。

3)流量。

①在动态压力为0.3MPa±0.02MPa水压下,浴盆水嘴(不带附件)流量不小于0.33L/s,面盆、洗涤等其他水嘴(不带附件)流量不小于0.20L/s。

②面盆、洗涤及厨房水嘴(带附件)在动态压力为0.1MPa±0.01MPa水压下,流量不大于0.15L/s。

4)水嘴寿命。

①单柄双控水嘴开关寿命试验达到7×104周期,单柄单控和双柄双控水嘴开关寿命试验达到2×105次后,应符合2)的要求。

②转换开关寿命试验达到3×104次后,应符合2)的要求。

③旋转式出水管寿命试验达到8×104次后,应符合2)的要求。

④水嘴多冷热疲劳试验后,应符合2)的要求。

4.规格尺寸

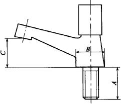
1)单柄单控陶瓷片密封普通水嘴规格尺寸应符合图6-9要求。

图6-9 单柄单控陶瓷片密封普通水嘴

2)单柄单控陶瓷片密封面盆水嘴规格尺寸应符合图6-10的要求。

图6-10 单柄单控陶瓷片密封面盆水嘴

3)单柄双控陶瓷片密封面盆水嘴规格尺寸应符合图6-11的要求。

(a)

(b)

图6-11 单柄双控陶瓷片密封面盆水嘴

4)单柄双控陶瓷片密封浴盆水嘴规格尺寸应符合图6-12的要求。

图6-12 单柄双控陶瓷片密封浴盆水嘴

5)陶瓷片密封洗涤水嘴规格尺寸应符合图6-13的要求。

图6-13 陶瓷片密封洗涤水嘴

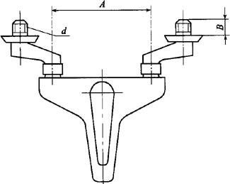
6)单柄双控陶瓷片密封净身器水嘴规格尺寸应符合图6-14的要求。

图6-14 单柄双控陶瓷片密封净身器水嘴

随便看

 

离鸟网收录3541549条中英文词条,其功能与新华字典、现代汉语词典、牛津高阶英汉词典等各类中英文词典类似,基本涵盖了全部常用中英文字词句的读音、释义及用法,是语言学习和写作的有利工具。

 

Copyright © 2004-2024 vtrois.com All Rights Reserved
更新时间:2026/4/9 9:04:14