网站首页  词典首页


请输入您要查询的字词:

 

字词 面团揉圆机的结构及工作原理
类别 中英文字词句释义及详细解析
释义

面团揉圆机的结构及工作原理


目前国内生产和使用的揉圆机,主要有伞形揉圆机和碗形揉圆机两种。这两种揉圆机的螺旋曲线基本相同。但旋转定位方向不同,面团运行速度与离心力的作用也不同,一般说来,碗形揉圆机适用于小面团的揉圆,伞形揉圆机适用于大面团的揉圆,能够方便地配合机械化生产。

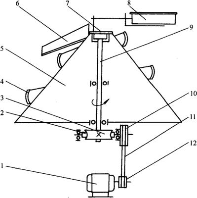
1.伞形揉圆机(图3-2-3)

图3-2-3 伞形揉圆机

1-电动机 2-蜗杆 3-蜗轮 4-螺旋导槽 5-伞形旋转体 6-面团输出导板 7-撒粉驱动偏心轮 8-撒粉器 9-旋转主轴 10、12-带轮 11-V带

伞形揉圆机是目前在国内应用最广泛的揉圆机。

工作过程:电动机带动带轮、蜗杆、蜗轮转动,从而驱动旋转主轴9和与主轴固连的伞形旋转体5转动。螺旋导槽4通过支撑与机架固连,不随伞形旋转体转动。

来自切块机的面块由伞形旋转体的底部进入螺旋导板,由于旋转体的旋转及固定螺旋导板的圆弧形状,使导板与面块、面块与伞形旋转体表面产生摩擦力,以及面块在旋转体旋转时所受离心力的作用,使面块沿螺旋导槽由下向上运动。在此期间,面块即有公转又有自转,既有滚动又有微量的滑动,从而把面块揉成圆形。揉圆完毕的球形面团从伞形转体的顶部离开机体,由输送带送出。

在揉圆机上还装有撒粉装置,通过转体顶部的撒粉驱动偏心轮7拉动拉杆,使撒粉器8的轴心做径向摆动。将撒粉器内的面粉均匀地撒在螺旋导槽内,防止操作时面团与转体、导槽及面团之间粘连。

由于伞形转体上下直径不同,使得面块从底部进入导槽由下向上的运动速度减慢,这种进口速度快,出口速度慢的特点,有利于面团的成形。

2.碗形揉圆机(图3-2-4)

图3-2-4 碗形揉圆机

1-电动机 2、4-带轮 3-V带 5-蜗杆 6-蜗轮 7-旋转主轴 8-碗形旋转体 9-螺旋导板

碗形揉圆机的结构与伞形揉圆机大致相同,只是转体倒置,大端在上,小端在下,呈碗形。固定螺旋导板安装在转体内侧,导板与转体组成面块成形的导槽。

碗形揉圆机的工作原理与伞形揉圆机大致相同。来自切块机的面块,由输送带送至碗形转体的下部,在复合力的作用下,面块沿螺旋导槽即公转又自转的由下向上运动,在运动过程中被搓成球形,到达转体的顶部。搓圆完毕,面团由输送带送出。

由于碗形转体的直径下小上大,所以面块的运动速度由慢到快,在离开搓圆机达到最大,前后面块间的距离也由小变大,这一点与伞形揉圆机相反。因此,不易像伞形揉圆机那样出现双生面团。但这种揉圆机的成形效果不如伞形揉圆机好。

随便看

 

离鸟网收录3541549条中英文词条,其功能与新华字典、现代汉语词典、牛津高阶英汉词典等各类中英文词典类似,基本涵盖了全部常用中英文字词句的读音、释义及用法,是语言学习和写作的有利工具。

 

Copyright © 2004-2024 vtrois.com All Rights Reserved
更新时间:2026/4/8 2:02:24