网站首页  词典首页


请输入您要查询的字词:

 

字词 面粉加工装备
类别 中英文字词句释义及详细解析
释义

面粉加工装备


1 概述

面粉是与人民日常生活紧密相关的消费品,随着人民生活水平的不断提高和食品工业的发展需要,面粉也由以前的单一标准粉生产向多品种、多用途的等级粉和专用粉方向发展。因此对制粉的机械装备也提出了更高要求。

我国制粉机械装备在引进消化吸收的基础上,其装备水平、造型标准化方面又上了一个新台阶,气力输送、“三散”技术、自动化技术得到一定的应用,已具备了用现代化技术全面振兴制粉工业的基础。

本节主要介绍小麦制粉工艺及其装备。

2 加工工艺

小麦是制粉的原料,不同产区、不同品质的小麦,其外表特性、物理特性、化学成分等均有所不同,因此其加工出的面粉质量、采用的设备及操作均有所不同。根据小麦的特性,合理搭配加工,并在设备和操作上采取相应措施,对提高出粉率,保证面粉质量有重要意义。

面粉加工工艺流程分为麦路和粉路。

2.1 麦路

麦路亦即小麦的清理,是制粉工厂从小麦进入车间到入磨前,对小麦进行连续清理的生产工艺过程。主要完成小麦的清理、水分调节和搭配,达到净麦的质量要求。麦路是保证面粉质量的重要环节。完善的麦路可以为提高出粉率,提高产量,降低动力消耗创造有利条件。

小麦清理流程又分为湿法清理流程和干法清理流程,其区别在于是否使用洗麦机。洗麦机对小麦洗涤充分,可有效清除小麦表面及腹沟中泥灰、农药、微生物等,还可能消除小麦中的并肩石。但其存在耗水量大、洗麦后污水难以处理的缺点。因而对水分较高的小麦不宜用湿法,但若采用干式,应加强打麦和去石工序。

2.1.1 湿法清理流程(图1-2-15)

湿法清理流程具有较强适应性,只要操作得当,即使在小麦含杂多变的情况下,亦能清理干净。

图1-2-15 湿法清理流程图

1-初清筛 2-自动秤 3-毛麦仓 4-配麦器 5-螺旋输送器 6-离心集尘器 7-振动筛 8-磁钢 9-擦麦机 10-平面回转筛 11-碟片精选机 12-抛车 13-去石洗麦机 14-水分调节器 15-水杯着水机 16-润麦仓 17-立式打麦机 18-永磁滚筒 19-净麦仓

(1)初步清理工序 清除小麦中大、中型杂质(麦秆、麦穗、破布、麻绳等)和轻杂质(草屑、泥灰等),以提高后道清理设备的除杂效果,减少车间污染。采用鼠笼式初清筛清除大杂质,如受条件限制,可用振动筛(带通风机)代替,但应将分离大杂质的筛孔适当放大些,以增加处理量。毛麦仓前装自动秤以记录进入车间的毛麦数量。有条件的工厂可在净麦仓后再安装自动秤,以记录净麦数量。

小麦搭配在毛麦仓下进行,通过配麦器控制搭配比例,在麦仓下的螺旋输送机中混合。

设有立筒库的制粉厂,初步清理在工作塔中进行,在立筒库下进行小麦搭配,然后直接进入毛麦仓。

(2)毛麦清理 集中清理小麦中尘荞杂质,使其降低到入磨净麦要求。采用两道筛选、一道打麦、两道磁选及精选、洗麦的清理过程。两道磁选分别在打麦机和洗麦机前,以保证金属杂质不落入机内。打麦采用擦麦机轻打,精选采用碟片精选机,先精选荞子,后精选大麦燕麦。分离出来的荞子再经过抛车检查。为减少精选机数量,亦可先将小麦进行大小粒分级,再从大粒麦中精选大麦和燕麦,从小粒麦中精选荞子。

(3)水分调节工序 小麦在制粉前利用水、热、时间三种因素的作用,改善小麦的工艺性质,称为小麦的水分调节。水分调节分为室温水分调节和加温水分调节两种。在室温条件下,将小麦着水后,再在仓内存放一定时间的水分调节方法称为室温水分调节;将小麦着水后,用水分调节器处理,再在仓内存放一定时间的水分调节方法称为加温水分调节。小麦水分调节的目的是调整小麦水分,借以改变麦粒的物理、化学性质,使其适应制粉的工艺要求,获得良好的工艺效果,同时减少润麦时间,而且对高水分小麦也能处理。对于高水分、含砂量大的小麦,可经洗麦机和水分调节器处理,对低水分、含砂小麦经洗麦机和水分调节器后,再进入水杯着水机进行二次着水。如果为加温水分调节,小麦“热”因素可加速水分调节过程的完成。但小麦在水分调节器内要经过预热、加热干燥和冷却三个阶段。

(4)光麦清理工序 毛麦清理后仍未达到理想的干净程度,另外小麦经水搅拌摩擦,有部分表皮被撕开混入麦中,这些杂质对面粉质量有影响。采用一道打麦、一道筛选,两道磁选的过程,经水分调节后的小麦,用立式花铁筛打麦机进行“重打”,以加强打麦效果。最后一道磁选,采用永磁滚筒,以保证入磨净麦中不含磁性金属杂质。

磨制等级粉时,最好在净麦仓前增加喷雾着水机,并利用净麦仓进行30min的润麦。

该湿法清理流程,可根据各地小麦含杂具体情况加以调整。如我国北方小麦砂石多,含荞子、小麦、燕麦少,在磨标准粉时可以不设精选机,而在头道麦筛后增加一道相对密度去石机,而在小麦水分偏低的地方,小麦清理流程可不采用水分调节器。

2.1.2 干法清理流程(图1-2-16)

图1-2-16 干法清理流程图

1-初清筛 2-自动秤 3-毛麦仓 4-配麦器 5-螺旋输送器 6-离心集尘器 7-振动筛 8-磁钢 9-吸式比重去石机 10-碟片精选机 11-抛车 12-吸式风选器 13-风机 14-平面回转筛 15-水杯着水机 16-润麦仓 17-永磁滚筒 18-净麦仓

(1)毛麦清理 采用筛选、去石、精选、打麦的工艺组合,目的是提高精选、去石效果,并减少打麦机的磨损。去石机采用吸式相对密度去石机,以改善操作条件。打麦机采用立式花铁筛打麦机,通过调节其转速及间隙,进行“轻打”。打后用吸式风选器分离出打下的轻杂质。

(2)水分调节 采用水杯着水机,不需动力,小麦在一般含水量下,能满足着水需要。但对低水分的硬质麦,宜使用自控强力着水机,以加大着水量。

(3)光麦清理 采用立式花铁筛对小麦“重打”,打后小麦经吸风分离出打下的麦毛、麦皮等轻杂质,然后进入平面回转筛进一步分离出小杂,再经磁选进入净麦仓。

上述方法适合南方地区。南方地区所产小麦软质较多,水分较高,含砂少,含荞子多,气侯温和。因此,在加强打麦、去石、吸风的基础上,可以不用湿法清理,也不需加温水调节器。

2.2 粉路

粉路亦即制粉流程。它是把经过清理及水分调节而适合加工的净麦,按一定的产品等级标准进行加工的生产工艺流程。它是磨粉、筛理、清粉、刷麸等工序的组合。制粉的装备与要求加工的面粉精度有关。

我国目前制粉方法大体可分为三种:前路出粉法(标准粉的工艺特征)、前路均衡出粉法(特二粉的工艺特征)、中路出粉法(特一粉的工艺特征)。

2.2.1 标准粉粉路在制粉中,把前后系统的好粉和次粉混合在一起,不分等级地组成一种面粉,在我国称为标准粉。其出粉率在85%左右,由于其颗粒较粗,允许少量麸屑混在面粉中,灰分较高。标准粉目前广泛采用前路出粉法,即在制粉流程的前路研磨系统(Ⅰ皮,Ⅱ皮,1心,1渣)大量出粉的制粉方法。采取的措施是:加大前路研磨压力,提前出粉;加宽前路,缩短研磨道数,合理简化粉路;光辊拉丝,适当放粗筛绢。图1-2-17所示为标准粉粉路图。

图1-2-17 标准粉粉路图

由图可知,该粉路采用800mm复式磨粉机12台,4仓式高方平筛10台。该粉路有如下特点:

(1)Ⅰ皮出粉率控制在15%,把出粉重点转移到Ⅱ皮及1心,Ⅱ皮粗出粉17.49%,Ⅱ皮细出粉10.49%,1心出粉21.62%,前路共出粉65.18%,如再加2心,则为74.43%。为适应这样的操作指标,Ⅰ皮磨配备比例较小,为16.7%,Ⅱ皮磨则扩大比例,为16.7%,Ⅲ皮采用筛后刷麸,以加强对麸片的处理。

(2)Ⅰ皮出粉量较低,为提高设备利用率,故加大流量至1369kg/(cm·24h),Ⅱ皮,1心流量也相应提高。为适应高流量,采用了稀牙,Ⅰ皮为4牙/cm,Ⅱ皮粗为6.5牙/cm,1心为8.5牙/cm。至于后路,为加强对麸片的剥刮,仍采用一般的流量指标。

(3)由于Ⅰ皮出粉量降低,Ⅱ皮的麦心质量转好,故Ⅱ皮麦心质量较好,Ⅱ皮麦心大部分去1心,小部分去2心。

由于采用以上措施,得到良好的生产效果,电耗较低,面粉质量亦较好。

2.2.2 等级粉粉路 等级粉粉路是指在制粉过程中,同时生产两种或两种以上面粉的粉路,通常指的是同时提取特制一等粉、标准粉;特制二等粉、标准粉;特制一等粉比例较高,同时又提取少量次粉的粉路。该粉路分工较细,粉路较长,一般除了皮磨、心磨、渣磨系统外,还有清粉系统。

该粉路有12台800mm长的磨粉机,2台八仓式高平筛,3台复式三层清粉机,3台撞击松粉机,7台松粉机,4台打麸机,2台立式振动圆筛,2台二仓式平筛。该粉路设备比较完善,既能生产等级粉,又可根据需要生产专用粉。当生产两种等级粉时,灰分为0.4%的一等粉出粉率为52%,灰分为0.73%的二等粉出粉率为23%左右,总出粉率(占入磨净麦)为75%左右。该粉路有如下特点:

(1)粉路比较完善,既有皮磨、心磨系统,又有尾磨、清粉系统。粉路有四道皮磨、九道心磨(包括二道尾磨),其中3皮,4皮,1心磨,2心磨分粗细。粉路比较灵活,既可加工硬麦,又可加工软麦。

(2)心磨系统采用光辊,皮磨系统采用齿辊,1皮,2皮,3皮采用较小的斜度及钝对钝排列,减少剪切力,使麸片完整,采用较小齿角,也利于降低电耗及得到皮磨应有的剥刮率。4皮粗,4皮细磨采用较大斜度的锋对锋排列,以加强对麸片的剥刮,并采用了较大齿角,使麸皮不致切得过碎。

(3)在操作方面,皮磨磨辊的轧距较松,占本道的剥刮率,特别是取粉率较低。1皮剥刮率控制在28%~30%(穿过20W),出粉率在2%左右;2皮剥刮率55%~58%(穿过20W),出粉率在2%~3%左右;3皮根据软硬麦不同调节轧距,继续剥刮麸皮上的胚乳,并提取部分粗粒;4皮以刮净麸皮上的胚乳为目的,保持麸皮不切丝。

(4)为提高一等粉的出粉率,采用心磨系统出粉为主的方法。心磨系统占全部磨辊接触长度的62.5%,皮磨仅占37.5%。

(5)清粉系统比较完整,不但对1皮,2皮分出的一等品质的麦渣、麦心进行了清粉,还对分出的粗粉进行了清粉。采用三层筛面的清粉机,清粉效果好。通过清粉,使细麸片进细皮磨(3皮细或4皮细),麸屑进尾磨,麦渣进粗心磨(1心细和2心细),这样可避免细麸、麦渣与麦心一起在心磨中强烈研磨,使麸皮研磨混入面粉,从而为提高出粉率,提高面粉质量创造了条件。

(6)该粉路没单独设渣磨,而是用1心粗和2心粗两对磨来代替渣磨,磨辊采用光辊(速比1.25∶1)。这样可将麦胚压成小片,然后进1尾磨将麦胚进一步压扁,再在1尾平筛18W粗筛上筛出胚片,直接打包。1心粗,2心粗,1尾磨下物进入平筛前,先用松粉机松粉。一方面将胚乳粉片打散,提高筛粉效率;另一方面将附在麦胚上的浮粉、麸屑分离掉。因此,麦胚相当纯净,出胚率一般在0.4%左右,最高达0.7%。

(7)在粉路中设有活动拨板,使物料流向灵活,以适当磨制软、硬两种小麦需要。

(8)心磨研磨后的物料,大部分经过了松粉机处理,除1心粗、2心粗等物料使用打板松粉机外,1心细,2心细研磨的物料比较纯净,基本上由纯胚乳组成。采用撞击松粉机将粉片撞碎,以提高平筛的筛粉效率。同时利用撞击作用粉碎麦心,减少后道磨辊负荷。6心磨下也设撞击松粉机是由于使用光辊,速比又小,故进入本道物料中粗粉较多,以便进一步粉碎粗粉,提高出粉率。5心磨下设松粉机是由于5心平筛处理4皮打麸粉筛上物,含粉较少的缘故。

(9)该粉路有的心磨粉筛筛绢配成“上密下稀”。这种方法比采用“上稀下密”配法多出粉。但这种筛网配法的先决条件是心磨采用了光辊,筛理物中细麸屑少,同时最下几层粉筛的面粉可以拨入二等粉,否则不宜用此法。

(10)该粉路在中筛的分配上,让一部分平筛每仓上、下分为两部分,各自独立,每个磨口各配半仓平筛,可解决磨粉机研磨的物稀少,不需要一仓平筛筛理的问题,使平筛的利用率得到提高。

图1-2-18 日加工150t小麦的等级粉粉路图

3 关键设备

3.1 麦路用关键设备

3.1.1 初步清理设备 初步清理设备主要有鼠笼筛和鼓形筛(国外常用)。本节重点介绍鼠笼筛(图1-2-19)。

图1-2-19 鼠笼式初清筛工作原理图

1-通风机 2-吸风道 3-沉降室 4-螺旋输送器 5-轻杂质出口 6-小麦出口 7-下筛筒 8-大杂质出口 9-上筛筒 10-阻杂翼片 11-进料口

工作过程是物料由进料口11按一定角度送入上筛筒9,小麦通过筛孔落入阻杂翼片10上,被逐步推送,滑落至小麦出口6处,经吸风处理后送出。大杂质从筛筒表面流出,经拨杂翼轮流到下筛筒7上,进一步分离大杂质的麦粒,大杂质由出口8排出。通风机1的作用是清除小麦中的轻杂质。机内空气通过小麦流时,带走尘土等轻杂,并降落在沉降室3,由螺旋输送器4送至轻杂质出口5排出机外。

3.1.2 毛麦清理设备 一般使用筛选、风选、磁选、去石、洗麦、打麦、精选等设备。筛选设备常选用振动筛和平面回转筛。打麦设备宜用擦麦机或立式花铁筛对小麦轻打。精选设备一般采用精选机或抛车。磁选采用磁钢,湿法清理中采用去石洗麦机或立式洗麦机与相对密度去石机并用,干法清理采用相对密度去石机。

(1)筛选设备 主要有振动筛、平面回转筛、高速振动筛,适于毛麦仓后作第一道筛理的有振动筛,它采用作直线往复的倾斜筛面,并带吸风,可同时清理大、小杂质和轻杂质。宜作第二、三道筛理的有平面回转筛和高速振动筛等。平面回转筛的倾斜筛面呈水平式回转运动,高速振动筛的筛体振动频率高于普通振动筛,这两种设备分离中、小杂质和轻杂质效果更为显着。另外,有些制粉厂把溜筛和六角回转筛用于下脚处理。振动筛、平面回转筛、高速振动筛结构及工作原理参见本章第1节。

(2)风选设备 制粉厂的风选设备大部分与其他设备组合在一起。如振动筛上的吸风装置等。

(3)打麦设备 打麦机的作用是使麦粒表面和腹沟中的无机杂质、麦毛和部分果皮被打下,强度比正常小麦低的泥块、虫蚀粒、病害粒等被打成碎块而成为小杂质。

打麦设备包括立式圆筒打麦机、擦麦机和撞击机等。

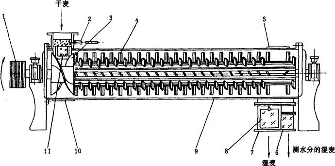
①立式圆筒打麦机(图1-2-20)。该机的工作原理是经过分离去大、小杂质和磁性金属物的小麦,自进料孔经环形中心喂料装置3均匀地落在快速旋转的第一层八角盘上,并甩向筛网壁四周,利用打板4的打击,使麦粒与麦粒、麦粒与筛筒、麦粒与齿条之间反复撞击和摩擦,从而将混杂在小麦中的泥块等打碎,并将麦粒表面的麦毛、麦壳、泥灰等打下。麦粒从出料孔6流出,穿过花铁筛孔的杂质从杂质出口5排出,灰尘和轻杂质被气流吸走,至集尘器沉降。

图1-2-20 立式圆筒打麦机结构图

1-筛筒 2-进料筒 3-环形喂料装置 4-打板 5-杂质出口 6-出料孔

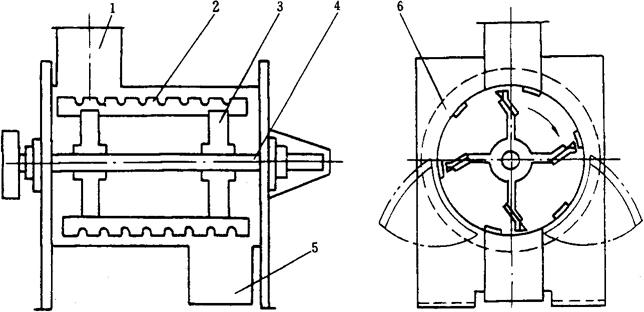
②擦麦机(图1-2-21)。擦麦机是一种打击作用较弱而摩擦作用较强的打麦设备。其工作原理是小麦由进料口1进入工作圆筒内,受到高速旋转的打板的打击,麦粒与齿形工作面产生撞击和摩擦,麦粒之间也产生相互摩擦,使泥块等杂质被击碎,麦粒表面的泥灰及麦毛等被擦离。这些轻杂质被吸入低压区,穿过筛网板7进入通风机8,经过打击的小麦,被打板推向出料口12,经过压力门后落入出口处又受到一次较强的吸风,吸去小麦中已被打下的杂质,通风机将吸出的轻杂质排出到外接集尘器沉降。

图1-2-21 擦麦机结构图

1-进料口 2-打板 3-上盖 4-齿板 5-光板 6-主轴 7-筛网板 8-风机 9-墙板 10-轴承 11-轴承座 12-出料口 13-底槽 14-电动机 15-三角皮带轮

(4)去石设备 参见本章第1节。

(5)洗麦设备 洗麦设备分为去石洗麦机和立式洗麦机等。前者起洗涤、着水和分离砂石作用;后者起洗涤和温和的打击作用。图1-2-22所示为去石洗麦甩干机的工作原理图。工作时,小麦从小麦入口1进入洗槽11。洗槽内装有2对绞龙,上面的一对为小麦绞龙5,为便于石子穿过,采用橹桨式叶片。当小麦进入洗槽中翻动着的水中,因不能及时下沉而呈悬浮状态即被送往甩干部分。下面的一对为石子绞龙4,采用满面式叶片,用来将石子送往相反方向。待砂石落入洗槽尾部的集石斗3后,由喷砂管2喷入滤砂盒内,由喷砂管2定时清理出机外。麦粒由小麦绞龙5送到甩干部分的底部后,由于甩板叶轮6的旋转作用,在离心力的作用下将麦粒抛向筛板圆筒8的内壁,将附着在麦粒表面的水和细小杂质从鱼鳞孔甩出。同时将麦粒从底部成螺旋形向上推送到甩干部分顶部,由刮板把麦粒从上帽的出麦口9排出。在甩板叶轮转动时,气流从上帽10、机座7的进风口引入而从筛板圆筒表面的鱼鳞孔排出,使麦粒进一步脱水,并使筛孔得到清理。被分离出来的污水,可直接从机器放出,也可重新回到洗槽的回水箱,经沉淀后使用。

图1-2-22 去石洗麦甩干机工作原理图

1-小麦入口 2-喷砂管 3-集石斗 4-石子绞龙 5-小麦绞龙 6-甩板叶轮 7-机座 8-筛板圆筒 9-出麦口 10-上帽 11-洗槽

(6)精选设备

①碟片精选机 碟片精选机具有体积小、产量大等优点,其结构示意图如图1-2-23所示。

图1-2-23 碟片精选机结构示意图

1-短粒出口 2-机架 3-碟片 4-进料斗 5-传动装置 6-长粒出口

其主要工作构件是一组同轴安装的圆环形铸铁碟片3,碟片的两侧工作面制成许多特殊形状的袋孔,碟片在经进料口流入的小麦中转动时,短粒物料会被嵌入袋孔而被带入较高位置。由于孔底逐渐向下倾斜,短粒物料受本身的重力作用再从袋孔中倒出,落入收集槽中;长粒物料则因长度较袋孔长,仍有可能装入袋孔,且因其重心仍在袋孔之中,故当碟片到一定的高度,即从袋孔中滑落下来。根据此原理就能达到长粒物料与短粒物料分离的目的。

②滚筒精选机 滚筒精选机是另一种利用袋孔分离杂质的设备。其主要工作构件为一内表面制成袋孔的旋转滚筒。如图1-2-24和图1-2-25所示。当物料进入滚筒后,长粒物料在进料的压力和滚筒本身倾斜度的作用下,沿滚筒长度方向由机器另一端流出;短粒物料则嵌入袋孔被带到较高的位置,落入盛物槽沟中,由此而得到分离。

图1-2-24 滚筒精选机工作原理图

1-带袋孔的滚筒 2-盛物槽

图1-2-25 快速滚筒精选机结构示意图

1-机架 2-集料槽调节装置 3-排料装置 4-吸尘口 5-后辐盘 6-窝眼筒 7-螺旋输送器 8-集料槽 9-前辐盘 10-进料口 11-传动装置 12-长物料出口 13-短物料出口

滚筒精选机有快速和慢速两种,基本结构相同,图1-2-25所示为快速滚筒精选机的示意图。

工作过程:物料从进料口10沿箭头方向进入机内。长粒物料沿长物料出口12的方向流动,短粒物料经绞龙送至短物料出口13流出,吸尘口4的箭头指示的是气流方向。

在使用时,可根据选出物料的质量情况来调整盛物沟的高低,滚筒的袋孔应向旋转方向倾斜。

滚筒精选机的特点是分离出的下脚含粮少。

其主要缺点是袋孔的利用系数低。原因在于物料自一端进入后,其轴向位移是依靠散粒体运动状态的压差来进行的,因此物料的堆积厚度较大。致使上层物料无料与袋孔接触,由于袋孔利用系数低,故产量亦较低。

③抛车 抛车的工作面为一静止的倾斜螺旋面。物料沿工作面下滑时沿螺旋线方向和沿倾斜面方向两种方向运动。

在第一种运动中物料是在螺旋角α的斜面上滑动;第二种运动可认为物料是在抛道倾斜角β(抛道面与水平线的交角)的斜面上滑动。

螺旋角α的大小影响物料下滑速度。α越大,下滑速度越大。抛车的α角要求使圆形的荞子等籽粒产生滚动,小麦则产生滑动,从而使两者产生不同的下滑速度和离心惯性力。

第二种运动中,物料受到本身的重力、离心惯性力和物料与抛道间的摩擦力作用。离心惯性力使物料向抛道外缘移动,而重力和摩擦力则起阻止外移的作用。因此,抛道的倾斜角β可以改变重力和离心惯性力的平行分力(平行于抛道面)的大小,β越大,离心惯性力的平行分力越小,物料就不易向抛道外缘移动。

在工作时,要求麦粒固定在内,抛道上滑动,而不向外抛出,即只产生第一种运动。因此,抛道倾斜角β的选择应使麦粒所产生的离心惯性力的平行分力平衡于重力的平行分力和摩擦力,这样抛车的工作就能稳定正常。

由上述可知,物料在倾斜螺旋面上运动,因麦粒与荞子等杂质籽粒形状的不同而抛出的轨迹亦不同,从而得以分离,抛车的螺旋角α和抛道倾斜角β必须配合恰当,使麦粒在内抛道上稳定滑动。

图1-2-26所示为抛车的结构示意图。它是由进料斗、放料闸门以及四周围绕在一垂直于轴上的螺旋形斜面组成。螺旋形斜面又称抛道,共有1层较宽的外抛道和3层较窄的等径内抛道,外抛道的外缘装有挡板,使其上籽粒不致抛出机外,下部出口管道(小麦出口、小麦与荞子混合物出口、荞子出口等)设在底座的上方,进料斗的上方装有吸风管。工作时,小麦由进料斗1通过放料闸门2均匀地分配到几层内抛道上,沿固定的抛道作螺旋线稳态运动,始终不离开内抛道,直至出口;而其中的荞子、豌豆等球状颗粒则以滚动的形式或沿螺旋面向下运动,因速度越来越快,故与垂直轴线的距离也越来越大,最后从内抛道抛至外抛道上,从而与小麦分离,从自己的出口流出机外。外抛道里侧为小麦和杂质的混合物,应视情况调节隔板6,以达最佳分离效果。

图1-2-26 抛车结构示意图

1-进料斗 2-放料闸门 3-内抛道 4-外抛道 5-挡板 6-隔板 7-出口管道

(7)磁选设备 磁选设备主要是去除磁性金属杂质。按其结构形式分为永磁滚筒和一般磁钢装置。图1-2-27所示为永磁滚筒。工作时,小麦及磁性金属杂质均匀落在磁铁滚筒后,小麦随滚筒转动而下落,从小麦出口5排出。磁性金属杂质被吸在外筒表面,被拨齿带着随筒滚动,一起转到磁场作用区外,自动从磁性金属杂质出口4排出。

图1-2-27 永磁滚筒

1-上机体 2-蜗轮减速器 3-下机体 4-磁性金属杂质出口 5-小麦出口 6-泄油孔 7-磁铁滚筒 8-观察窗

(8)小麦水分调节设备

①水杯着水机(图1-2-28) 该机在工作时,叶轮1借助小麦的下落冲击力旋转,通过齿轮2带动着水轮3,着水轮由一圆盘和上面装置的16个水杯6组成,在水箱7中转动,水杯待水舀起后倒入1个呈半圆形的接水槽4中,然后再流入斜槽10。斜槽中的水通过一细管流进着水绞龙中,与小麦混合,秤锤5用来控制调整叶轮的转速。

图1-2-28 水杯着水机

1-叶轮 2-齿轮 3-着水轮 4-接水槽 5-秤锤 6-水杯 7-水箱 8-控制水位机构 9-溢水口 10-斜槽

水箱中的水位由浮筒式自动控制水位机构8控制在一定水平上。当水由水管流入水箱时,由于浮球与木阀是用杠杆连接的,当浮球随水箱的水位高低而上下运动时,水阀就自动开大或关小,以保持稳定的水位。水箱上部的溢水口9是防止水阀失灵、水位太高而作排水用的。

水杯着水机是利用麦流的冲力来转动叶轮的,不需要动力,同时能根据麦流的大小,自动调节着水量。麦流大,着水轮转速提高,着水量增加;反之,着水轮转速降低,着水量减少;麦流终止,着水轮停止运转,着水量可达2.5%。着水量的调节可通过改变水杯口的方向来实现,如需着水量多,可把水杯口顺着旋转方向,水杯在转动时就将水舀起;如需着水量少,可把部分水杯调换方向,使杯底顺着转动方向,于是这部分水杯就不起舀水作用。

②自控强力着水机 该机采用微波自控和强力搅拌等措施进行小麦着水。特点是:着水量大(一次着水量可达4.25%);着水均匀;出机小麦含水量波动范围小(0.1%~-0.2%);对水分较低的小麦可实现一次着水。

自控强力着水机主要包括强力着水机和加水自控系统两大部分。

a.强力着水机 该机结构如图1-2-29所示。在封闭筒体内是一高速旋转的打板叶轮,打板叶轮由固定在打板支架上的打板4、支架、主轴组成。打板断面呈矩形,与主轴中心线的倾角为63°,以四头螺旋线的形式装在打板支架上,主轴每个断面上有4块打板,故主轴每旋转1周有4块打板对物料起作用,可加强搅拌。

图1-2-29 强力着水机

1-传动轮 2-进水管 3-螺旋推进器 4-打板 5-活门 6-水分检测管 7-出料口 8、11-观察窗 9-筒体 10-卸料门

在进料口下的主轴上,装有双头螺旋推进器3,加速对物料的起动,以减轻打板叶轮的搅拌阻力。进料和出料形式都采用与打板叶轮方向一致的切线进料和切线出料,以利于物料起动和排净。进水方式是采用在进料口处水管滴水。

工作过程:小麦进入机器与从进水管来的水接触后,落入螺旋推进器3进行混合,并被加速推送到打板工作圆筒。在打板4的高速旋转作用下,小麦沿筒体内壁的整个圆周作旋转运动,形成一个“麦流”。打板叶轮对麦流作相对运动,使麦流中每个麦粒受到打击,并引起相互摩擦,麦粒的表层被软化和部分撕碎。水滴在强离心力的作用下均匀撒到麦粒表面,并以较快速度均匀渗透到麦粒各部分。

着水后的小麦,一部分经水分检测管6检测水分后,与大部分从出料口7流出的小麦混合一起,进入润麦仓。

b.加水自动控制系统加水自控制系统是根据生产过程每一瞬间原粮水分和流量的变化自动调整着水量,使着水后小麦的水分稳定在制粉工艺所要求的范围内,以保证着水过程的稳定性。

加水自控系统由VS-1型微波测水仪和DDZ-Ⅱ型电动单元组合仪表构成,它以着水后的湿麦为监控对象,给以一定值。当湿麦水分发生变化时,信号反馈到执行器的输入端,成为执行器调节作用的依据,使着水后小麦水分保持不变,该系统组成如图1-2-30所示。

图1-2-30 自动控制系统的组成

1-微波测水仪 2-温度变送器 3-调节器 4-伺服放大器 5-电动操作器 6-直行程执行器 7-记录仪 8-恒位水箱

工作过程:经强力着水机着水后的小麦,一部分进入测量料筒,由微波测水仪1检测水分,并输出着水后小麦水分相对应的测量信号,输入温度变送器2放大,并将信号输入调节器3。调节器则把测量信号与给定值进行比较,将比较后的偏差值,按比例积分运算规律进行运算。运算结果输出调节信号给伺服放大器4,伺服放大器把信号放大变为触发脉冲,控制执行器的二相伺服电机,使它正转或反转,把调节阀门关小或开大。

当着水后的小麦水分接近给定值时,水分没有偏差,调节阀门开度就稳定在某一开度下,调节系统处于平衡状态。如生产中,流量或小麦原始水分有变化,则强力着水机出口流出的小麦水分亦随之变化,此时调节系统原有平衡状态就被破坏,调节器根据偏差大小,又开始指令执行器动作,以开大或关小调节阀门,直到调节系统建立新的平衡为止。

自控强力着水机的进水过程为:小麦进入机内,在进料口触动微动开关,使电磁阀全开。调节阀的动作比电磁阀滞后,须待着水后小麦的水分测量信号输出,才起调节作用。当进料停止,电磁阀先关,为此采用恒位水箱,使调节阀进水压力恒定。

③喷雾着水机 喷雾着水机的结构如图1-2-31所示。

图1-2-31 喷雾着水机

1-搅拌输送机 2-气压调节阀 3-水流量控制阀 4-水、汽开关 5-水、汽指示灯 6-气压表 7-水流量计 8-水、汽控制装置 9-料流检测挡板 10-雾化喷头

工作过程:定量水和高压气体同时进入雾化喷头,水以雾状喷向小麦,再由搅拌输送机使水在小麦中的分布更加均匀。输送机采用桨叶式叶片,以加强对物料的搅拌作用。叶片的外缘与机壳的间隙不超过2.5mm。喂料处设有料流检测挡板9,以测定有无来料。有料,则挡板在麦流冲力的推动下绕挡板轴转动,挡板轴端的压杆启动水气电磁阀的微动开关向喷头供水和供汽;无料,则水、汽停止供给。

喷雾着水机的主轴转速为105r/min,空气压力为200~400kPa,2个喷头,喷孔直径为0.21mm,雾滴粒径<100μm,雾化扇形宽度为180~200mm,功耗0.15kW/t(麦)。在其他类型的喷雾着水机中,在麦粒进料口处装有上、下两个可以高速旋转的圆盘,当麦粒落入上面圆盘时,圆盘以20m/s的线速度旋转,麦粒由于离心力作用而向圆盘四周甩出。而水流入下面另一圆盘,同样在离心力作用下扩散成雾状,并与上面圆盘落下的麦粒相遇,使麦粒润湿。湿润后的麦粒落入绞龙中拌和,其工作过程同上。

喷雾着水机着水均匀,着水量一般只在0.3%左右,最大不超过1.5%,故适合于入磨前的水分含量要求。

④润麦仓 润麦仓的作用在于小麦着水后,使水在小麦内部有一定渗透时间,以达到调节水分的目的。

润麦仓一般采用钢筋混筋土结构。截面呈方形或矩形,边长为1.5~2m,内壁表面要求光滑,四角做成宽为150~200mm的斜棱,以减少麦粒膨胀结块的机会,仓底部分做成漏斗形,尖底与水平的夹角为60°,便于湿麦流动。

小麦在麦仓中放出时,由于麦粒间的摩擦力小于麦粒与仓壁间的摩擦力,使得麦仓中心的小麦先行流出,而麦仓四角的小麦最后流出。这样,在中心部位的小麦流出后,上部接近仓壁的小麦不断向中心部位补充,由此造成了后入仓的小麦反而先流出的现象,使润麦时间不足,如图1-2-32所示(3)、(4)。

另外,小麦在入仓后,由于麦粒饱满程度不同和接受风力不同,出现自动分级现象。重的麦粒直落在麦仓中心部位,轻的麦粒则散落在麦仓的四周。因此,麦仓开始放出的是重而质好的小麦,后放出的是轻而质差的小麦,这就影响了制粉生产的均衡性。为解决上述这些问题,一般采用以下几种方法:

a.麦仓多设出口,以克服小麦出仓时中心部位先流出的现象。

b.在麦仓入口处装分散器,即在仓顶中心的入口处吊一铁皮制的圆锥如图1-2-32(1)。小麦流入时,撞在锥顶上向四面弹起,使重的、质好的小麦不致直落到麦仓的中心;轻的、质差的小麦不致全部落到仓壁处,以打破自动分级现象。改变分散器的锥度,可调节轻、重麦粒的分布。

图1-2-32 麦仓中小麦的流动

c.如未采取上述措施,则可使2个麦仓同时以不同的部位流出小麦,相互搭配,避免前后流出小麦的质量变化。

⑤水分调节器 水分调节器的作用主要是利用“热”的因素加速小麦水分调节过程的完成,以获得良好的制粉工艺效果。对高水分小麦可进行烘干。

工作过程:使用热水加热金属表面,把热传给小麦,促进水在麦粒中的传布,并利用空气来带走小麦蒸发出来的水汽。小麦在水分调节器内,要经过预热、加热干燥及冷却等几个阶段。

一般的水分调节器大都是热水式,仅个别是热空气热水式,它们都经过上述三个阶段。热水式水分调节器的结构如图1-2-33所示。

图1-2-33 热水式水分调节器

1-进料斗 2-杠杆 3-钢丝绳 4-放料机构

小麦自进料斗1流入,此进料斗通过杠杆2、钢丝绳3与放料机构4相连,使小麦放出量与入机流量相配合。

最上面一层安有铸铁散热管(热水管)的部分即为预热段,上、下两排散热器的排列是左右平行,上下交错的。在这一层中,设有通风用的气槽,小麦在这里升温。

自第二层是气槽与散热器相间排列,共有5层,这是加热干燥段。小麦在散热器之间和气槽之间的空隙中缓缓流下。气槽和散热器的形状,以使小麦容易在它的上部流下,而不流存为原则。

经过加热干燥后的小麦,进入冷却段。冷却段由几列气槽组成,气槽也有进气和排气两种,因为通过的空气量大,气槽比在加热干燥段中的要大些。空气流通的途径与加热干燥段相仿,当小麦经过各气槽时,空气穿过麦粒起冷却作用,小麦温度降至20~22℃。

最后,小麦进入放料部分,通过许多排列均匀的孔,由自动控制流量的放料门排出。

(9)小麦的搭配设备

①小麦搭配的目的

a.保证原料的工艺性质有一定的稳定性。使小麦与麦路、粉路相适应,制粉生产过程和操作方法相对稳定,避免粉路负荷不均、操作频繁及粉路堵塞等情况的产生。

b.保证成品的质量符合国家标准,并保持稳定。例如:特红麦与白麦搭配加工,可保证面粉的色泽。

c.小麦搭配可避免优质小麦单独加工的浪费,也可克服劣质小麦单独加工的弱点,以便更经济、更合理地使用小麦。

②小麦搭配的方法

a.毛麦仓搭配:有立筒库或毛麦仓的制粉厂,可将不同性质的小麦分仓存放。使用时,同时打开几个麦仓,由仓下放麦闸门或配麦器控制搭配比例,使小麦流入麦仓下的螺旋输送机或其他输送机中配合。

b.润麦仓搭配:分别把各批小麦清理、着水后,进入各个润麦仓,由仓下配麦器或放麦闸门控制配麦比例,在螺旋输送机中混合。也可将分别经过并行的清理流程,进行不同的清理、着水和润麦的小麦,在麦仓出口处进行搭配。

c.进机前搭配:将各批小麦由手推车推到下麦井处,按比例进行混合后入机。这种方法比较简单,但搭配不均匀,费工费时,比较落后。

③配麦设备 在配麦过程中常使用的设备为配麦器,配麦器的结构如图1-2-34所示。它由2个叶轮组成,每个叶轮带有四瓣翼片1,将空间隔成4个空格。2个叶轮由中间的隔板2隔开,在叶轮外面有外壳包住。当小麦流入配麦器后面的进口时,由于叶片的转动使麦粒落入空格内,然后被带到下部出口流出。

图1-2-34 配麦器

1-翼片 2-隔板 3-圆筒形盖 4-手轮 5-刻度表

小麦通过配麦器的流量,可以用改变叶轮的转速或空格的宽度来控制。改变宽度是用1个可移动的圆筒形盖3来进行的。圆筒形盖3的内壁与叶片靠的很近,它通过手轮4转动一对蜗杆与扇形蜗轮,将圆筒形盖3左右移动,以调节空格的宽度。配麦器中流过小麦的多少,可从两叶轮外壳的刻度表5表示出来。

配麦器可由1个麦仓进料,也可同时由2个麦仓进入配麦器的两个部分。

3.2 粉路用关键设备

小麦制粉使用的关键设备有磨粉机、平筛、清粉机、打麸机、刷麸机、圆筛和松粉机等。

3.2.1 辊式磨粉机 辊式磨粉机是磨粉的理想设备。该类磨粉机按磨辊数量可分为单式和复式磨粉机。复式磨粉机装有两对磨辊,可以用来研磨不同的物料。按照成对磨辊的排列方式来分,则可分为磨辊倾斜排列和磨辊水平排列。如果按照来料或断料时合闸或松闸的自动化程度来分,则可分为人工操作和由液压或气压控制的自动磨粉机。本文将以磨辊倾斜排列、油压自动控制的复式磨粉机为例介绍辊式磨粉机的工作原理(图1-2-35)。

图1-2-35 辊式磨粉机

1-机座 2-清理刷 3-慢辊 4-快辊 5-轧距调节手轮 6-喂料辊 7-喂料活门 8-存料传感器 9-观察窗 10-刮刀 11-磨膛门

该机顶部设有玻璃进料筒,机壳的上下各有两扇用以观察和操作的活门,机壳内部由隔板将磨粉机分成2个独立的工作部分,每个工作部分分别设有喂料机构、成对磨辊、轧距调节机构、传动机构、松合闸控制机构和清理机构。其工作过程是物料由进料筒进入,经喂料活门7、喂料辊6均匀地进入两磨辊之间,通过磨辊作用将物料磨碎,研磨后的物料从磨膛下部流出。为排除研磨时产生的湿热空气,在磨膛下面中部位置装有吸风道。

该机的喂料机构采用双辊喂料,位于内侧的喂料辊称为定量辊,其作用是承接物料,并将其向两端推送;位于外侧的称为分流辊,其作用是使物料摊成薄层,并准确送入研磨区。喂料辊上方装有喂料活门7,用以控制物料喂入量。根据磨粉机所研磨的物料不同,可以配备不同表面特性喂料辊以适应喂料要求。

该机两磨辊之间的轧距可以根据需要进行调节,以达到规定的研磨效果。轧距调节,既可以调节磨辊两头的轧距,也可以调节磨辊一头的轧距,分别操纵各自的调节机构即可。

该机的松合闸控制由油压机构根据磨粉机顶部物料情况自动执行,其能控制下列操作:磨辊的松合闸、喂料辊的运转或停止、喂料活门的启闭和红绿灯信号指示(绿灯亮表示磨粉机进入工作状态,红灯亮表示来料中止)。

该机的清理机构的作用是除去粘附在磨辊表面上的粉块,保证磨辊的正常工作。

3.2.2 松粉机 生产等级粉时,心磨系统一般采用光辊,所以麦心经研磨后容易形成粉片,故在心磨系统的平筛前面需加设松粉机,用来处理心磨系统的磨下物,松散粉片提高筛理效率,增加心磨的取粉率、为缩短心磨系统道数创造条件。

松粉机有撞击式松粉机和打板松粉机。

(1)撞击松粉机(图1-2-36) 撞击式松粉机的基本结构是一个大的圆柱筒体,下部连接集料斗。筒体由3个撑脚支撑,电动机安装在筒体内。工作时,电动机7轴直接传动甩盘3作高速旋转。从心磨出来带有粉片的物料从进料筒1喂入,落到甩盘上,受离心力作用被甩到周边的撞击圈5(铸铁制)上进行碰撞,使粉块松散。物料被减速后沿四周的环形料槽下落,经集料斗8从中央出口排出机体。部分弹回的物料则被销柱4拦截。

图1-2-36 撞击松粉机

1-进料筒 2-上盖 3-甩盘 4-销柱 5-撞击圈 6-环形料槽 7-电动机 8-集料斗 9-出料口

(2)打板松粉机(图1-2-37) 打板松粉机的基本结构为一横置的工作圆筒6,内衬钢板,筒体内4个打板2通过支架3与主轴4相连。工作时,打板随主轴高速旋转。物料从工作圆筒一端的进料口1进入机内后,即受打板的打击与推进,粉片被打碎,松散的物料即从圆筒另一端的出料口5排出。

图1-2-37 打板松粉机

1-进料口 2-打板 3-支架 4-主轴 5-出料口 6-工作圆筒

3.2.3 筛理设备 在工业上,对颗粒大小为0.074~6mm的物料的分级,都采用筛分法,按粒度分级。此类分级主要依靠松散物料的自动分级特性,并使用不同的筛孔,把中间产品混合物分成颗粒大小不同的几个等级。粉厂采用筛理方法按粒度分级,实质上也带有按品质分级的性质,因为含麦皮的物料比胚乳难以磨细。因此,粒度大,含麦皮多的颗粒在筛理时总是浮在上层,故颗粒粗的物料的品质总比颗粒细的次。

利用筛孔分选的设备有平筛和圆筛。平筛是粉厂最主要的筛理设备,其特点是:能充分利用厂房空间安装设备;在同样负荷下,筛理效率高;对研磨中间产品的分级数目多,单位产量的动力消耗少,由于入筛物料能充分自动分级,故可提高筛出的质量。圆筛多用于处理刷(打)麸机刷下的麸粉和吸风粉。在粉厂中,还利用刷(打)麸机处理麸片上残留的胚乳。其在刷净麸片上含粉的同时,也将物料分成筛出物和未筛出物,故也属筛理机械。

(1)高方平筛 高方平筛是平筛的一种。它的作用是将各研磨系统的磨下物料进行筛理,将面粉筛出,并把其他制品按粒度分级,分别送往相应的研磨系统进一步处理。它具有单位占地面积筛理面积大、筛格拆换轻便、筛理量大等优点,在制粉厂中被广泛采用。它主要由筛体、筛格、压紧装置,进出料装置,传动装置和筛面清理装置等部分组成,其结构和工作原理与白米分级筛类似。它由2个呈长方形的筛体,每个筛体内有1~3仓筛格,因此,按仓数可分为两仓式、四仓式和六仓式3种。每仓由16~24层木制的方形筛格叠成,并具有独立的筛理路线。一般以四仓式高方平筛使用较为普遍。

图1-2-38所示为FG4×22型高方平筛结构示意图,其中4×22表示该筛体为四仓式,每仓有22个筛格。筛体5用角钢作架,薄壁型钢复合柱作立柱,四周覆以普通薄钢板。筛体两侧腰部装有横梁4,横梁上装有吊挂机构3,通过钢缆把筛体吊挂在大梁下面。进料装置2由进料筒、绒布套筒和分料盘组成。物料由进料筒经绒布套筒到筛顶格的分料盘,即进入筛格筛理。木制筛格根据用途可分为筛顶格、筛底格和中间筛格三种。筛顶格用于承接物料,并引导物料流向筛面。它有物料单进口筛顶格,相同物料双进口筛顶格、不同物料双进口筛顶格三种形式。中间筛格为固定筛面,承接筛理物料,并使物料按一定路线进行筛理的框格,它主要由筛框,筛面格和底板(有的不设底板)组成。筛格高度应根据各物料流层的实际厚度来确定,使每一筛格能以最低高度取得较好的筛程效果,保证物料通行无阻。根据筛上物料和筛下物料所经路线的不同,筛格的形式可分为8种。高方平筛筛格的表示包括筛格形式、高度、出口位置。筛底格位于每仓筛格的最后一层,它本身装有一格筛面格,起筛理作用,它的底板上开有7个孔,让经过筛理分级后的各类物料,分别通过各个出口流出。筛低格亦有6种形式,两两左右对称。各种筛底格的2、4、6出口均供筛格外通道物料的出口用,流出的大都是筛上物;3、5出口均为筛格内物料的出口,流出的大都是筛下物和底格筛上物。只有1、7两个出口,各格流出物料有所不同。在筛程过程中,为及时清理筛面,在筛面格内设有筛面清理机构,其形式有橡皮球清理和帆布块清理两种。同时为防止筛格在运动中发生移动而错位,造成物料窜漏,影响产品质量,故设有筛格压紧装置,由水平和垂直压紧装置两部分组成。

图1-2-38 高方平筛结构示意图

1-传动机构 2-进料装置 3-吊挂机构 4-横梁 5-筛体 6-出料装置 7-钢架 8-压紧机构 9-筛格

高方平筛筛路共分8种,分别适用于前路皮磨、后路皮磨(包括渣磨)、前路心磨、后路心磨及检查筛。合理的平筛筛路应是各级物料分得清,筛理数量大,筛理效率高,而使筛面长度少。图1-2-39所示为1号筛路图,单进口四分级,它适用于前路皮磨。筛格共22层,筛理物料自第1格进入,顺次经5格粗筛筛理,筛上物为大麸片。各层筛下物则穿过通道下流至第6格筛面,到6~10格进行筛理。筛上物为小麸片及粗渣,各层筛下物经由筛下物通道再到11~20格筛理。筛下物为面粉,其中11~15格筛下物为上交粉,16~20格的筛下物为下交粉。其筛上物再经第21~22格分级筛分级,筛上物为细渣,筛下物为麦心。

图1-2-39 高方平筛1号筛路

(2)振动圆筛 圆筛可分为无打板圆筛,打板圆筛和振动圆筛三种,以振动圆筛性能最优。与前者相比振动圆筛具有结构紧凑、体积小、产量高,维修方便、筛面清理效果好等优点。它是制粉厂较理想的一种筛理机械,一般用于筛理刷麸粉或吸风粉,设在后路或刷麸机的后面,作为辅助筛理设备。

振动圆筛分立式和卧式两种,主要工作部件即是作高速微振的筛筒和筛筒内部的打板转子,与打麸机类似。其中立式振动圆筛筛筒直立式配置可减轻粉筛筛网的负荷,延长使用寿命。其基本结构如图1-2-40所示。

图1-2-40 立式振动圆筛

1-打板 2-打板托 3-电机 4-筛筒 5-主轴 6-集料斗

打板转子的主轴5上端与电机3直连,其上装有3只打板托2,轮上固定金属打板1两块或三块。打板上装有倾斜的叶片(图1-2-41)。上、中、下叶片的倾斜角度可取不同值,一般上、下部位的角度略小,以利于进机物料上移、出机物料推送。

图1-2-41 叶片

(1)叶片 (2)打板上的叶片

工作过程:启动电机,使打板转动,同时轴的一侧装有圆条形偏心块,使筛筒4作高频振动。需要筛理的物料由进料口从筛筒的下方进料,在打板的打击下,将颗粒打散并抛向筛面四周,同时将物料向上推进。筛下物穿过筛孔沿机壳与筛筒间隙经集料斗6从底部出口送出,筛内物则由叶片推向上部的筛上物出口排出。筛筒的高频振动即有利于进行物料的筛理,同时又达到了清理筛面的目的。

(3)刷麸机和打麸机 刷麸机或打麸机是利用旋转的刷帚或打板的作用,把粘附于麸片上的粉粒分离下来,并使其穿过筛孔成为筛出物料,而麸皮则为筛内物,因此它们亦属于筛理机构。一般说它们是处理麸片的最后一道工序,但也可设在前路或中路皮磨系统的平筛之后,处理粗筛上的大麸片,使好粉提前刷外,降低后路皮磨的负荷,有助于提高研磨效率,刷麸机和打麸机的主要工作部件都是带有筛孔的圆筒和圆筒内带有打板或刷子的转子。

①刷麸机 刷麸机一般采用立式,其结构如图1-2-42所示。

图1-2-42 立式刷麸机

1-刮板 2-振动器 3-筛筒敲打器 4-刷帚盘 5-刷帚 6-筛筒 7-电机 8-三角带轮 9-刷帚架 10-撑杆 11-螺母 12-套筒轴 13-主轴 14-粉槽

在主轴13的上端装有三角带轮8,由电机7带动,轴的上、下部各固定有一个刷帚盘4。盘的两端有槽口,刷帚5通过木质刷帚架9与槽口咬合而竖直安装。在主轴的中部套有套筒轴12,可与主轴作相对转动。套筒轴两端各有一段螺纹相反的螺管,撑杆螺母11以螺纹连接形式装在相应的螺管表面,并通过刷帚撑杆10与刷帚架相连。当需要调节刷面与筛面圆筒6的间隙,以改变刷麸作用的强弱时,只需作适当调节使套筒轴转动,螺母即沿螺管相向作上下移动,达到撑开或收拢刷帚的目的。

工作过程:刷帚架9随主轴13高速旋转,含粉麸片自进料口落到转动的刷帚上盘4时,被抛向筛筒。由于快速旋转刷帚的作用,以及物料间和物料与筛面间的摩擦,使粘结较松的粉粒从麸片上刷下,混同麸屑穿过筛孔落入粉槽14,由刮板1刮向出口。筛内物自筛筒内部排向麸片出口。清理筛面则用带振动器2的筛筒敲打器3敲打筛面框架,使筛面振动,达到清理目的。有的刷麸机是通过在筛筒外表面装外刷帚来清理筛面。

②打麸机 打麸机与刷麸机相比,具有结构简单、装拆方便、体积小、效率高、功率消耗少等优点。该机有立式和卧式两种,工作原理相同。图1-2-43所示为卧式打麸机。它主要工作部件是可调打板转子和半周多边筛。

图1-2-43 卧式打麸机

1-主轴 2-半周多边筛 3-可调打板 4-吸风口 5-检查门 6-打板支架 7-缓冲板 8-料斗

打板转子的主轴1一端装有自动调心滚柱轴承和三角带轮,而另一端装在自动调心球轴承上,轴上装有3副十字形打板支架6,其上装有4块打板3。打板形状如图1-2-44所示。它的一侧开有3个腰圆孔,作为连接打板支架及调节打板与半周多边筛2的间距之用。另一侧制成锯齿形,锯齿的扭转角为12°~15°,起打击和推进物料之用。

图1-2-44 可调打板

半周多边筛2是一张近似半圆形的七边或八边多角形冲孔筛,其目的是防止麸片单纯地随打板转子连续旋转,并可使筛面有轻微振动。筛体被固定在机壳内的平板上,与缓冲板7组成打麸机的多面工作筒体。有的机型则直接利用箱形机壳后墙板代替缓冲板。

工作时,物料沿打板转子的切线方向从筒体一端进料口喂入机内,在高速旋转的打板3打击下,麸片被抛向缓冲板和半周多边筛2,与它们发生撞击,使粘附在麸片上与麸片结合不紧的粉粒与麸片分离。粉粒在离心惯性力和吸风的作用下,穿过筛孔,经集料斗8由出料口送出机体。空气自吸风口4被吸出,而较大的麸片则被打板推送至工作筒体的另一端,由排麸口排出。

3.2.4 清粉机 在磨制质量要求较高的等级粉时,为了增加特制粉的出粉率和改善面粉质量,就必须在研磨前对物料进行精选工作,把纯粉粒、连麸粉粒和麸屑分开,分别送往不同的研磨系统,清粉机即用于完成此项清粉工作。

清粉机是利用筛理和气流的联合作用来进行清粉工作的。它的主要工作部件是2~3层略带倾斜的振动筛体和吸风装置。清粉机有单、复式之分,单式的结构简单,但清粉效果差,处理量少。故新式清粉机都是复式的,如图1-2-45所示。

图1-2-45 复式清粉机结构示意图

1-电动机 2-输送槽 3-传动机构 4-筛体 5-前吊杆 6-料流控制器 7-进料口 8-筛体联接架 9-输送槽连接架 10-吸风罩 11-后吊杆 12-筛上物出口 13-筛格 14-风门 15-吸风室 16-采光灯 17-刷子 18-筛下物出口

机架内有2个筛体4,通过2个前吊杆5和1根后吊杆11悬吊在机架上,吊杆垂直方向的倾斜度为5°~15°可调。每个筛体有2层筛格13,每层筛面从进口到出口处分隔为4段,筛孔逐渐加大,并且上层筛面较下层筛面粗,筛体的斜度1~2°。其料流控制器6能根据物料流量大小而自动调节喂料量。该机顶部有纵长的吸风室15通过吸风罩10接在中央吸风系统上。吸风室沿筛面长度分隔为12格,使空气容易分配均匀,每格均设风门14,用以调节每段筛面上吸风的强度,并可借采光灯16观察其工作情况。

工作过程:物料经进料口7,通过料流控制器均匀而连续地送上上层筛面,电动机1带动传动机构3的偏心轴,通过筛体联接架8使筛体作往复运动,物料逐渐向后推移。气流从下方通过筛面,穿透物料,进入吸风罩。在筛体朝后运动时,由于吊杆的倾斜而使筛格上升。而当它朝前运动,即与物料运动方向相反时,吊杆趋于垂直,筛格就降落。筛面的升降结合其倾斜度使物料按需要的速度推进,并使物料松散,空气容易穿过,获得较好的风选效果。物料经上层筛面精选后的筛下物,直接落在下层筛面上再次精选。筛下物进入振动输送槽2,输送槽上装有一排活动隔板,翻动其位置,就能根据需要调节4段筛面筛下物向前或向后送的分界点,使物料分成2~3种等级,送往不同系统处理。而筛上物由另一端的出料口12排出时,还要在吸风道内受到一次风选。因此,物料在重力、气流作用力以及振动筛的影响下,被分离成筛上物、筛下物和吸出物三种不同性质的物料。纯粉粒相对密度较大,沉在下面,首先与筛面接触,按颗粒大小先后穿过筛孔成为筛下物。麦皮和表皮相对密度较小,易被气流吸走,或呈悬浮状态而成筛上物送出。而质量介于纯粉粒与麦皮间的带有麦皮的粉粒,则根据它的颗粒大小和接受风力的不同,被分成筛上物,后部筛下物或吸出物。筛面的清理则是由筛格下部的清理刷子17完成,它随筛体的振动在导杆上运动,刷毛接触筛面,起清理作用。当移动到筛格一端时,受到碰杆的作用,即反向运行,继续清刷筛面。

随便看

 

离鸟网收录3541549条中英文词条,其功能与新华字典、现代汉语词典、牛津高阶英汉词典等各类中英文词典类似,基本涵盖了全部常用中英文字词句的读音、释义及用法,是语言学习和写作的有利工具。

 

Copyright © 2004-2024 vtrois.com All Rights Reserved
更新时间:2026/4/8 19:01:00