网站首页  词典首页


请输入您要查询的字词:

 

字词 预制桩的施工
类别 中英文字词句释义及详细解析
释义

预制桩的施工


预制桩包括钢筋混凝土方桩、管桩、钢管桩和锥形桩等,其中以钢筋混凝土方桩和钢管桩应用较多。预制桩的沉桩方法有锤击沉桩、振动沉桩和静力沉桩等,其中又以锤击沉桩应用较为普遍。但是,采用锤击沉桩施工时产生振动和噪声,对周围环境影响较大。采用静力沉桩施工,对周围环境的影响很小,是一种前景良好的预制桩施工方法。

钢筋混凝土预制桩的施工,主要包括预制、起吊、运输、堆放和沉桩等过程。

(一)预制桩的制作

钢筋混凝土预制桩有实心桩和管桩两种,实心桩一般为正方形断面,常用断面边长为200~450mm,如图2-10所示。单根桩的最大长度,应根据打桩架的高度确定。30m以上的桩可将桩预制成几段,每段长度不宜超过12m。管桩的外径通常有400mm、500mm,壁厚为80~110mm,每节长度为8~10m,采用离心法生产制作。

图2-10 钢筋混凝土预制实心桩示意图

钢筋混凝土预制桩的混凝土强度等级不宜低于C30,桩身配筋多少与沉桩方法有关,锤击沉桩的纵向钢筋配筋率不宜小于0.80%,静力沉桩不宜小于0.50%。但静力沉桩的桩身细长时,桩的纵向钢筋配筋率不宜小于0.80%。桩的纵向钢筋通常不得少于4根,直径不宜小于14mm;当桩身宽度或直径大于等于350mm时,纵向钢筋不应少于8根;箍筋直径一般为6~8mm,间距不小于200mm。桩的两端箍筋应当适当加密,桩靴部分用螺旋形箍筋,螺距为50mm;为加强桩顶的抗冲击能力,在桩顶布置钢筋网,钢筋网间距为50mm;钢筋保护层厚度不得小于35mm。

钢筋混凝土预制桩多数是在打桩现场或附近场地预制,桩身较短的桩可以在预制厂生产。为节省场地,现场预制桩多用叠层浇筑法施工,重叠层数取决于地面允许荷载和施工条件,一般不超过4层。场地应当平整、坚实,不得出现不均匀沉降。桩与桩之间应做隔离层,桩与邻桩、底模间的接触面不得粘结。上层桩或邻桩的浇筑,必须在下层桩或邻桩的混凝土强度达到设计强度的30%以上后方可进行。

钢筋骨架的主筋连接宜采用对焊或电弧焊,同一截面内的接头数量不得超过50%。同一根钢筋两个接头的距离应大于30d(d为主筋的直径)且不小于500mm;在桩顶1m范围内不应有接头。

对于多节桩,上节桩和下节桩应尽量在同一纵轴线上制作,使上、下两节桩的钢筋和桩身减少偏差。桩预制时的先后次序应与打桩次序相对应,以便缩短养护时间。预制桩的混凝土浇筑应由桩顶向桩靴连续进行,不允许出现中断。

钢筋骨架及桩身尺寸的允许偏差,应严格执行《建筑地基基础工程施工质量验收规范》(GB 50202-2002)中的有关规定。

(二)预制桩的起吊

钢筋混凝土预制桩应在混凝土达到设计强度的70%后方可起吊,起吊点位置应符合设计规定。如无吊环时,绑扎点的数量和位置应根据桩长确定,并应符合起吊弯矩最小的原则,几种不同的吊点位置如图2-11所示。

图2-11 预制桩的吊点位置

(a)1个吊点;(b)2个吊点;(c)3个吊点;(d)4个吊点

(三)预制桩的运输

钢筋混凝土预制桩在沉桩现场预制,当运距不大时,可用起重机吊运或在桩下垫以滚筒,用慢速卷扬机拖拉。在预制厂预制,当运距较大时,可采用平板拖车或轻轨平板车运输。无论采用何种方式运输,凡是需要运输的桩,必须待其强度达到设计强度的100%时进行;凡是经过搬运的桩,必须要进行质量检查。

(四)预制桩的堆放

桩堆放时,地面必须平整、坚实、排水良好。桩应按规格、桩号分层叠置,支承点应设在吊点或近旁处,上下垫木应在同一直线上,垫木间距应与吊点位置相同,最下层的垫木应适当加宽,支承平稳,堆放层数不宜超过4层。不同规格的桩应分别进行堆放。

(五)预制桩的沉桩

在建筑工程桩基础中,钢筋混凝土预制桩的沉桩主要采用锤击沉桩和静力压桩两种施工方法。

1.锤击沉桩的施工方法

(1)打桩机械

打桩机具主要包括桩锤、桩架和动力装置三个部分,另外还有衬垫材料等。桩锤是对桩施加冲击力,将预制桩打入土中的机具;桩架的作用是将桩吊到打桩的位置,并在打桩过程中引导桩的方向,保证桩锤能沿着要求的方向冲击;动力装置包括驱动桩锤及卷扬机的动力设备。

1)桩锤。在锤击沉桩中常用的桩锤有落锤、蒸汽锤、柴油锤、振动锤和液压锤等,目前应用较广泛的是柴油锤。桩锤的适用范围及优缺点见表2-10,锤重与锤型选择可参考表2-10和表2-11及施工经验,也可通过现场沉桩来验证所选择桩锤的正确性。

表2-10 桩锤的适用范围及优缺点

桩锤类型确定之后,应选择合理的桩锤重量。桩锤重量一般根据桩长、桩重和地基情况选择。桩锤如果过重,则需要的动力设备大,很不经济;桩锤如果过轻,必然要加大落距或冲击力,即采用“轻锤重击”。在采用轻锤重击时,锤击动能的很大部分被桩身吸收,桩不容易打入地基,且桩头很容易打碎,桩身还形成回弹,沉桩效果不佳。工程实践证明,轻锤重击还会促使距桩顶1/3范围内的薄弱处产生水平裂缝,甚至出现桩身断裂。

为防止桩身受冲击应力过大而产生损坏,在进行锤击沉桩时,宜选择稍重的桩锤,采用“重锤轻击”和“重锤快击”效果较好。实践证明:当桩锤重量大于桩重1.5~2倍时,能取得较好的效果。

桩锤的类型选择,应根据施工现场的情况、机具设备的条件及工作方式和工作效率进行选择;然后根据现场工程地质条件、桩的类型、密集程度及施工条件来选择桩锤重,如表2-11所示。锤重与桩重的适宜比值,如表2-12所示。

表2-11 锤重选择参考表

注:1.本表仅供选锤参考;

2.本表适用于20~60长钢筋混凝土预制桩及40~60m长钢管桩,且桩尖进入硬土层。

表2-12 锤重与桩重的适宜比值

注:1.锤重系指锤体的总重,桩重包括桩帽重量。

2.桩的长度一般不超过20m。

3.土质较松软时可采用下限值,较坚硬时采用上限值。

2)桩架。常用的锤击式桩架有三种基本形式,一种是安装在履带式底盘上能自由行走的打桩架,如图2-12所示;另一种是沿轨道行走移动的多功能桩架,如图2-13所示;还有一种其行走靠两根钢滚筒在垫木上滚动,如图2-14所示。

图2-12 履带式桩架的构造

1-导向架;2-桩;3-桩帽;4-桩锤;5-起重臂;6-机体;7-支撑叉

图2-13 多功能式桩架构造

1-枕木;2-钢轨;3-底盘;4-回转平台;5-卷扬机;6-司机室;7-平衡重;8-撑杆;9-挺杆;10-水平调整装置;11-桩锤与桩帽

①履带式桩架。是以履带式起重机为底盘,增加了立杆、斜撑、导杆等组成,它的机动性和适应性均较大,在水平方向可做360°回转,导杆可以伸缩和前后倾斜。目前国内外生产的液压履带式主机既可作为起重机(吊机)使用,也可作为打桩架使用。随着施工技术与施工设备的快速发展,在建筑工程中对于大型体的施工,履带式桩架已占明显优势。

②多功能桩架。由立柱、斜撑、回转工作台、底盘及传动机构组成。它的机动性和适应性更大,不仅可在水平方向做360°回转,而且立柱可前后倾斜,底盘下装有铁轮,可在轨道上行走。这种桩架可适应各种预制桩的打设,也可用于灌注桩的施工。但是,整个机构比较庞大,现场组装和拆迁工作量较大。

③滚筒式桩架。其行走装置均与以上两种不同,靠两根钢滚筒在垫木上滚动。其优点是结构简单、制作容易,但在滚动中平面转弯、调头非常困难,需要操作人员较多,主要适用于预制桩的打设和灌注桩的施工。

图2-14 滚筒式桩架构造示意图

1-枕木;2-滚筒;3-底座;4-锅炉;5-卷扬机;6-桩架;7-龙门;8-蒸汽锤;9-桩帽;10-缆绳

3)动力装置。打桩机械的动力装置及辅助设备,主要根据选定的桩锤种类而确定。落锤以电源为动力,再配置电动卷扬机、变压器、电缆等;蒸汽锤以高压饱和蒸汽为驱动力,配置蒸汽锅炉;气锤以压缩空气为动力源,配置空气压缩机;柴油锤以柴油为能源,桩锤本身有燃烧室,不需要外部动力设备。

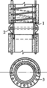
4)衬垫材料。为提高打桩效率和施工质量,保护桩锤安全使用和桩顶免遭破坏,应在桩顶加设桩帽,如图2-15所示,并根据桩锤和桩帽类型、桩型、地质条件及施工条件等因素,合理选用衬垫材料。

图2-15 桩帽构造示意图

桩帽上部与桩锤之间的衬垫称为锤垫,也起着保护桩头的作用。锤垫常选用橡木、桦木等硬木材按纵纹受压使用,有时也可用钢索盘绕起来使用,也可使用层状板及塑型缓冲垫材,对重型桩锤可采用压力箱式或压力弹簧式新型结构锤垫。锤垫的厚度应当适宜。如果太薄,起不到缓冲和保护作用,桩顶仍容易被击碎;如果太厚,则锤击能量损失大。一般取锤垫厚度为15~20cm。

桩帽与桩头之间的弹性垫材称为桩垫。桩垫常选用松木横纹拼合板、草垫、麻布片等。要求厚度均匀且锤击压实后保持在12~15cm为宜,打桩期间应当经常检查,及时更换或补充。

(2)施工工艺

1)打桩前的准备工作。在预制桩正式打桩前,应处理地上、地下障碍物,对场地进行平整压实,用经纬仪放出桩基线并定出桩位,并在不受打桩影响的适当位置设置水准点,以便控制预制桩的入土标高;接通施工现场的水、电、气管线;准备好施工机具,准备好垫木、标尺、桩帽和送桩器;对所有桩进行质量检验。

在正式打桩前,还应进行有代表性的打桩试验,以便检验打桩设备和工艺是否符合要求。

2)确定打桩的顺序。打桩顺序是否合理,直接影响打桩进度和施工质量。在确定打桩顺序时,应考虑桩对土体的挤压位移对施工本身及附近建筑物的影响。在一般情况下,桩的中心距小于4倍桩的直径时,就必须拟定打桩顺序;当桩的中心距大于4倍桩的直径时,打桩顺序与土的挤压关系不大,不必拟定打桩顺序。打桩顺序一般可分为:逐排打、自中央向边缘打、自边缘向中央打和分段打等四种,如图2-16所示。

图2-16 打桩顺序和土的挤压情况

(a)逐排打;(b)自中央向边缘打;(c)自边缘向中央打;(d)分段打

逐排打桩,桩架系单向移动,桩的就位与起吊都非常方便,打桩效率比较高,但它容易使土基的土向一个方向挤压,导致土壤挤压不均匀,桩的打入深度将逐渐减小,最终会引起建筑物的不均匀沉降。

自边缘向中央打,则中间部分土壤挤压较密实,不仅使中间桩难以打入,而且在中间打桩时,还可能使外侧的桩被挤压而浮起。因此,上述两种打法均适用于桩距大于等于4倍桩径的情况下。

自中央向边缘打、分段打是比较合理的施工方法,一般情况下均可采用。另外,当一侧毗邻建筑物时,由毗邻建筑物处向另一方向施打;根据桩的设计标高,先深后浅;根据桩的规格,先大后小,先长后短。

3)沉桩工艺。沉桩工艺主要包括定桩、打桩、接桩和截桩等。

①定桩。打桩机安装就位后,应认真检查其垂直度和位置,使导杆中心线与打桩方向一致,校核无误后将其固定。然后,将桩锤和桩帽吊升起来,其高度超过桩顶,再吊起桩身,送至导杆内,对准桩位调整其垂直偏差,合格后将桩帽或柱箍在桩顶固定,并将桩锤轻轻落在桩顶上,在桩锤的重量作用下,桩身沉入土中一定深度达稳定位置,再次校正桩位及垂直度,这个过程称为定桩。

②打桩。开始打桩时,锤的落距应较小,一般为0.5~0.8m,待桩入土1~2m后,再适当增大落距,逐渐提高至规定的落距。施打混凝土管桩时,最大落距不宜大于1.5m;用落锤或单动汽锤打桩时,最大落距不宜大于1.0m;用柴油锤时应使锤体的跳动正常。

在打桩过程中,应经常检查打桩架的垂直度,如果偏差超过1%以上,应找出原因进行纠正,不得以强行回扳的方法纠偏,必要时应拔桩重新回填插桩施打。在较厚的黏土或粉质黏土层中施打预制桩时,每根桩应连续施打,打桩的间歇时间不宜太久。

在打桩中应随时观察桩锤的回弹情况。如桩锤经常回弹太大、桩的入土速度慢,说明桩锤重量不足,应更换较重的桩锤;如桩锤发生突发性较大回弹,说明桩尖遇到障碍,应停止锤击,找出原因后进行处理;打桩时还应随时观察贯入度的变化情况,当发生贯入度异常时,应暂停打桩,并会同有关单位研究处理。

打桩是沉桩施工中的关键工艺,是隐蔽工程,应当认真对待,并做好施工记录。开始打桩时,若采用落锤、单动汽锤或柴油锤时,应测量记录桩身每沉落1m所需锤击的次数及桩锤落距的平均高度,当桩下沉接近设计标高时,则应实测10击的桩体入土深度,该贯入度称为最后贯入度;若采用双动汽锤或振动桩锤时,开始应记录每沉入1m的工作时间,当桩下沉接近设计标高时,应记录每分钟的沉入量。

③接桩。当施工设备条件对桩的限制长度小于桩的设计长度时,则需要采用多节桩段连接而成。这些沉入地下的桩的接头,其使用状况是常规方法难以检测的,接头质量还影响桩的垂直和水平承载能力。预制桩的接桩方法有焊接法、浆锚法和法兰法三种类型。

焊接法适用于单桩承载力高、长细比大、桩基密集或须穿过一定厚度较硬土层、沉桩较困难的桩。焊接法接桩的节点构造如图2-17所示。焊接所用的钢板、角钢宜采用低碳钢,焊条宜采用E43;上下节桩对准后,将桩锤降下,压紧桩顶,节点间若有间隙,用铁片垫实焊牢;在接桩时,上下节桩的中心线偏差不得大于5mm,节点弯曲矢高不得大于桩长的1‰,且不大于20mm;在施焊前,节点部位预埋件与角钢要除去锈迹、污垢,保持表面清洁;在焊接时,应先将四角点焊固定,再次检查位置正确后,应由两个对角同时对称施焊,以减少焊接的变形,焊缝要连续饱满,焊缝的宽度、厚度应符合设计要求。

图2-17 焊接法接桩节点的构造

1-4L50×5长200(拼接角钢);2-4-100×300×8(连接钢板);3-4L63×8长150(与立筋焊接);4-Φ12(与63×8焊牢);5-主筋

浆锚法接桩可以节约钢材、操作简便,接桩时间比焊接法大大缩短。在理论上,浆锚法与焊接法一样,施工阶段节点能够安全地承受施工荷载和其他外力;使用阶段能同整根桩一起工作,传递垂直压力或拉应力。因在实际施工中,浆锚法接桩受原材料质量和操作工艺等方面的影响,出现接桩质量缺陷的机率比较高,所以应谨慎使用。一般应用于沉桩比较容易的地质条件,而不宜用于坚硬的土层。

浆锚法接桩节点的构造,如图2-18所示。在接桩时,首先将上节桩对准下节桩,使四根钢筋插入锚筋孔,锚筋孔的孔径一般为锚筋直径的2.5倍,然后下落上节桩身,使上下两节桩结合紧密。随后将上节桩上提200mm,安设准备好的施工夹箍,将熔化的硫磺胶泥(温度控制在145℃左右)注入锚筋孔和接头平面上,将上节桩再次下落,当硫磺胶泥冷却并拆除施工夹箍后,即可继续加荷施压。

图2-18 浆锚法接桩节点构造示意图

1-锚筋;2-锚筋孔

为保证硫磺胶泥的接桩质量,在接桩施工中应当做到:钢筋表面上的污物应刷干净并调直;锚筋孔内应有完好的螺纹,孔内无积水、无杂物和油污;接桩时接点的平面和锚筋孔内应灌满胶泥;在常温条件下灌注胶泥的时间不得超过2min;灌注时胶泥的温度宜控制在145℃左右;灌注停歇时间应符合表2-13中的规定。

表2-13 硫磺胶泥灌注后需停歇的时间

法兰法接桩主要用于混凝土管桩,如图2-19所示,由法兰盘和螺栓组成,接桩操作非常简单,接桩速度快,但法兰盘制作工艺比较复杂,用钢量相对增加。

图2-19 法兰法接桩节点的构造

1-法兰盘;2-螺栓;3-螺栓孔

为确保法兰盘结合紧密,接合处可加垫沥青纸或石棉板。准,然后穿入螺栓,并对称地将螺帽逐步拧紧。如果上下节之间有缝隙,应用薄铁片垫实。待全部螺帽拧紧后,检查上下节桩的纵轴线符合要求后,将锤吊起,使其自由下落锤击一次,然后再复紧一次螺帽,并用电焊点焊固定。

法兰盘和螺栓的外露部分,应当涂上防锈油漆或防锈沥青胶泥,即可继续沉桩。

④截桩。当桩顶露出地面并影响后续桩的施工时,应立即进行截桩施工;当桩顶在地面以下不影响后续桩的施工时,可结合承台凿桩头施工时进行。

在进行截桩施工前,应测量各桩顶的标高,将各桩头多余部分截除。预制钢筋混凝土桩可用人工或风动工具截除,混凝土空心管桩宜采用入工截除。无论采用何种方法截除,均不得把桩身混凝土打裂,并保持桩身主筋伸入承台内的锚固长度,将粘结在主筋上的混凝土碎块清除干净。

当桩顶标高在设计标高以下时,应在桩位上挖成喇叭口,凿去桩头上的表面混凝土,凿出主筋应焊接接长至设计要求的长度,再用与桩身同强度等级的混凝土与承台一起浇筑。

(3)锤击沉桩的质量问题

由于预制桩在打入的过程中要穿过构造复杂的土层,所以在整个沉桩施工中要随时注意观察,凡发生贯入度突变、桩身突然倾斜、移位或有严重回弹、桩顶或桩身出现严重裂缝或破裂等应立即停工,及时会同有关单位查明原因、采取措施、研究处理。

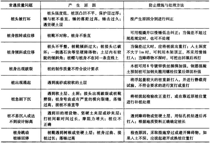
根据工程实践,在锤击沉桩施工中容易出现的质量问题,主要包括:桩头被打坏、桩身扭转或位移、桩身出现倾斜、桩身破裂、桩被涌起、桩急剧下沉、桩不易沉入、桩身跳动、桩锤回弹等。遇到以上质量问题时的防止措施与处理方法,如表2-14所示。

表2-14 锤击沉桩所遇问题的防止措施与处理方法

(4)混凝土预制桩的质量控制

混凝土预制桩的预制质量,是确保整个锤击沉桩施工质量的关键和基础,在预制过程中必须按照施工规范进行作业,对其产品应按照检验标准严格检测,不合格的桩不能用于工程中。

1)桩在现场预制时,应对所用的原材料、钢筋骨架、混凝土强度进行检查;采用工厂生产的成品桩时,桩进场后应进行外观尺寸检查。预制桩钢筋骨架质量检查标准应符合表2-15中的规定。

表2-15 预制桩钢筋骨架质量检查标准mm

2)施工中应对桩体的垂直度、沉桩情况、桩顶完整状况、接桩质量等进行检查,对电焊接桩、重要工程应做10%的焊接探伤检查。

3)施工结束后,应对桩的承载力及桩体质量进行检验。

4)对长桩或总锤击数超过500击的锤击桩,应符合桩体强度及28d龄期的两项条件时才能锤击。

5)钢筋混凝土预制桩的质量检验标准,应符合表2-16中的规定。

表2-16 钢筋混凝土预制桩的质量检验标准

(5)锤击沉桩的质量控制

锤击沉桩的质量控制包括三个方面的要求:一是桩的位置偏差是否在允许范围之内,这是质量控制的主体,不满足这个基本要求,则施工质量为不合格。钢筋混凝土预制桩的桩位允许偏差,应符合表2-17中的规定。二是能否满足贯入度、桩尖标高或入土深度的要求,按标高控制的桩,桩顶标高允许偏差为-50~+100mm。三是桩顶和桩身是否完好。

表2-17 预制桩桩位的允许偏差mm

注:H为施工现场地面标高与桩顶设计标高的距离。

锤击沉桩的控制原则是:对于桩靴位于坚硬、硬塑的黏性土、碎石土、中密以上的砂土或风化岩石等土层时,以贯入度控制为主,也可以桩靴进入持力层深度或桩靴标高作为参考。如果贯入度已达到而桩靴标高未达到时,应继续锤击3阵,每阵10击的平均贯入度不应大于规定的数值。对于桩靴位于其他软土层时,应以桩靴设计标高控制为主,贯入度可作为参考指标。如果控制指标符合要求,但其他指标与要求相差较大时,应会同有关单位研究解决。

2.静力压桩的施工方法

静力压桩法是利用无振动、无噪声的静压力将桩压入土中。静力压桩法的方法较多,有锚杆静压、液压千斤顶加压、绳索系统加压等,凡非冲击力沉桩的均按静力压桩考虑。

(1)静力压桩法的特点

静力压桩法适用于软土、淤泥质土中沉桩,但不宜用于坚硬土层中。由于静力压桩法在施工中无振动、无噪声、无冲击力,沉桩精度高、施工质量好,是一种很有发展前途的沉桩方法,尤其是液压静力压桩机问世后,更加显示出静力压桩施工的优越性。与普通打桩和振动沉桩方法相比,可以大大减小对周围环境的影响,适合在有防振要求的建筑物附近施工,特别适用于城市建筑施工。

(2)静力压桩法的压桩机种类

在建筑工程中常用的静力压桩机有顶压式、箍压式和前压式三种。

1)顶压式压桩机。顶压式压桩机(图2-20)由桩架、压梁、桩帽、卷扬机和滑轮组等组成,按行走机构不同,又可分为托板圆轮式压桩机、走管式压桩机和步履式压桩机三种。

图2-20 顶压式压桩机的构造示意图

顶压式压桩机的工作原理是:在进行压桩时,开动慢速卷扬机,逐步将加压的钢丝绳滑轮收紧,活动压梁则将整个机身和配重加在桩顶上,这样逐步将桩压入土中。限于压桩机桩架的高度,这种压桩机压入桩的长度不超过15m。

2)箍压式压桩机。这是最近几年才发展起来的一种新型压桩机,图2-21所示为WJY-400型液压压桩机。这种压桩机是由压桩机构、行走机构及起吊机构三部分组成,全液压操纵,配有起重装置,行走机构为新型的液压步履机,可作任何角度的回转,可自行完成桩的起吊、就位、接桩、配重装卸等工序。压桩是利用液压夹持装置抱夹预制桩的桩身,再垂直将桩压入土中,这种压桩机的压入桩长可达20m。

图2-21 WJY-400型液压压桩机组成示意图

1-长行走机构;2-短行走机构及回转机构;3-底盘结构;4-起重机;5-夹持及压桩机构;6-配重铁块;7-导向架;8-液压系统;9-电控系统;10-操纵室;11-已压入下节桩;12-吊入上节桩

3)前压式压桩机。前压式压桩机是一种最新的压桩机型,压桩高度可达20m,可大大减少接桩的工作量。这种压桩机不受桩架底盘的限制,可靠近建筑物沉桩,是一种很有发展前途的压桩机。

(3)静力压桩法的施工工艺

静力压桩法施工,一般是分节将桩压入,当每一节桩压入土中后,在其上端距地面1m左右时,将上节桩接上,如此反复进行,直至达设计要求。

静力压桩法的施工工艺为:测量定位→桩机就位→吊桩插桩→桩身对中调直→静压沉桩→接桩再静压沉桩→检查沉桩深度→终止压桩→截桩头。

(4)静力压桩法的施工要点

1)沉桩施工前应当准确掌握沉桩现场的土质情况,并要进行施工设备的检查和调试;桩的制作质量应满足设计要求,沉桩时应保证压桩机垂直压桩,注意保持桩处于轴心受压状态,如有偏移应及时纠正,以免发生桩顶破碎和断桩质量事故。

2)压桩应当连续进行,当下一节桩压到高出地面大约1m左右时,应进行接桩,用硫磺胶泥接桩间歇时间不宜过长,在常温环境下施工为10~18min;接桩面应保持清洁,浇筑时间不应超过2min;上下桩中线应对齐,偏差不大于10mm;节点矢高不得大于0.1%桩长。

3)压桩应控制好终止条件,对于纯摩擦型静压桩,终压时的设计桩长为控制条件;对于长度超过21m的端承摩擦型静压桩,应以设计桩长控制为主,终压力值作对照;对设计承载力较高的工程桩,终压力值宜尽量接近压桩机的满载值;对于端承型短桩(桩长14~21m),应以终压力达到满载值为终压控制条件;对于桩周土质较差且设计承载力较高的桩,宜复压1~2次;对于长度小于14m的桩,宜连续多次复压。

(5)静力压桩法的施工质量

1)静力压桩包括锚杆静压桩及其他各种非冲击力沉桩。

2)施工前应对成品桩进行外观及强度检验,接桩用焊条或半成品硫磺胶泥应有产品合格证书,或送有关部门进行检验,压桩用的压力计、锚杆规格及质量也要进行检查。硫磺胶泥半成品应每100kg做一组试件(3件)。

3)在压桩过程中,应检查压力、桩垂直度、接桩间歇时间、桩的连接质量及压入深度。重安工程应对电焊接桩的接头做10%的探伤检查。对承受反力的结构应加强观测。

4)施工结束后,应做桩的承载力及桩体质量检验。

5)锚杆静压桩质量检验标准,应符合表2-18中的规定。

表2-18 静力压桩质量检验标准

随便看

 

离鸟网收录3541549条中英文词条,其功能与新华字典、现代汉语词典、牛津高阶英汉词典等各类中英文词典类似,基本涵盖了全部常用中英文字词句的读音、释义及用法,是语言学习和写作的有利工具。

 

Copyright © 2004-2024 vtrois.com All Rights Reserved
更新时间:2026/4/9 9:00:39