网站首页  词典首页


请输入您要查询的字词:

 

字词 高层建筑钢结构的安装
类别 中英文字词句释义及详细解析
释义

高层建筑钢结构的安装


(一)高层钢结构安装的基本要求

在高层钢结构建筑施工中,钢结构安装是一项非常重要的分项工程,由于其结构复杂、规模较大、工期较长、专业性强、精度很高,因此需要做好以下基本工作:

1.高层钢结构在安装施工前,应按照施工图纸和有关技术文件的要求,结合工程特点、结构类型、工期要求和现场条件等,认真编制钢结构安装施工组织设计,作为吊装施工中的技术文件。在具体实施的过程中,应根据客观条件变化的情况,及时进行调整和补充。

2.在确定具体的钢结构安装方法时,必须与土建工程、水电暖卫、通风、通讯和电梯等施工单位密切结合,对所有施工的项目进行统筹安排,搞好综合平衡工作。

3.为确保钢结构的安装质量,对安装中所用的连接材料,如高强度螺栓、焊丝、焊条、焊剂、普通螺栓、栓钉和涂料等,必须具有产品质量证明书,并符合设计图纸和有关规范的规定,必要时应进行相应的复验。

4.高层钢结构工程中土建施工、构件制作和结构安装三个方面所使用的钢尺,必须用同一标准进行检查和鉴定,应具有相同的精度。

5.高层钢结构安装时的主要工艺,如测量校正、厚钢板焊接、栓钉焊、高强度螺栓节点的摩擦面加工和安装工艺等,必须在施工前进行工艺检验。在试验结论的基础上,确定各项工艺参数,规定出各项具体操作工艺。

6.高层钢结构安装前,必须对构件进行详细检查,如构件的外形尺寸、螺孔位置及直径、连接件位置及角度、焊缝、栓钉、高强度螺栓节点摩擦面加工质量等,必须进行全面检查,经检查符合图纸及规范规定后,才能进行安装施工。

7.高层钢结构的安装,应当在具有高层钢结构安装资格的责任工程师指导下进行;安装用的专用机具和检测仪器,应满足钢结构安装的施工要求,并应定期进行检验。

(二)钢结构安装前的准备工作

钢结构安装前的准备工作,除以上在基本要求中所提出的有关事项外,主要还应做好施工流水段划分、安装顺序和柱子基础等准备工作。

1.钢结构安装施工流水段划分及安装顺序

(1)施工流水段的划分

高层钢结构的安装,必须按照建筑物的平面形状、结构形式、安装机械的数量和位置等,合理划分安装施工流水区段。

平面流水段的划分,主要应考虑钢结构在安装过程中的对称性和整体稳定性。其安装顺序,一般应由中央向四周扩展,以利焊接误差的减少和消除。

立面流水段的划分,应以一节钢柱为单元。每个单元以主梁或钢支撑、带状桁架安装成框架为原则,其次是次梁、楼板及大量结构构件的安装。塔式起重机的提升、顶升与锚固,均应满足组成框架的需要。

(2)构件安装顺序确定

在高层钢结构安装之前,应根据安装流水段的划分,确定和编制构件安装顺序表。表中应注明每一种构件的节点型号、连接件的规格数量、高强螺栓的规格数量、栓焊数量及焊接量、焊接形式等。

构件从成品检验、运输、现场核对、安装、校正,到安装完毕的质量检查,以及在地面进行构件组拼扩大安装单元时,统一使用安装顺序表。

2.钢结构柱子基础的准备和柱底的灌浆

钢结构柱子基础的准备和柱底的灌浆,不仅关系到高层钢结构能否进行安装,而且直接影响上部钢结构的安装质量,尤其以柱子底脚螺栓埋设精度最为明显。底脚螺栓的埋设,可采用一次埋设或二次埋设方法。

为了精确控制钢结构上部结构的标高,在钢柱吊装之前,要根据钢柱预检结果(包括实际长度、牛腿间距离、钢柱底板平整度等),在柱子基础表面浇筑标高块,如图12-15所示。标高块的强度不宜小于30MPa,在标高块表面须埋设厚度为16~20mm钢面板。在浇筑标高块之前,应对基础表面进行凿毛处理,以增强其粘结。

图12-15 柱子基础标高块示意图

待第一节钢柱吊装、校正和锚固螺栓固定后,要进行底层钢柱的柱底灌浆,如图12-16所示。灌浆前在钢柱底板四周立模板,用水清洗基础的表面,排除多余的积水后灌浆。灌浆用砂浆应基本上保持自由流动,灌浆从一边进行连续灌注,灌浆后用湿草袋等物品遮盖养护。

图12-16 柱底灌浆

(三)高层钢结构构件的安装工艺

1.钢柱的安装

第一节钢柱是安装在柱基础临时标高块上的,钢柱安装前将登高扶梯和挂篮等临时固定好。钢柱起吊后对准中心轴线就位,固定地脚螺栓,校正垂直度。其他各节钢柱采用对接焊都安装在下节钢柱的柱顶,钢柱两侧装有临时固定用的连接板,上节钢柱对准下节钢柱柱顶中心线后,即用螺栓固定连接板作临时固定。

钢柱的吊装可用双机抬吊或单机吊装,如图12-17所示。单机吊装时,需在柱子的根部垫以垫木,以回转法起吊,严禁柱根拖地。双机抬吊时,将柱吊离地面后,在空中进行回直。

图12-17 钢柱的吊装工艺

1-吊耳;2-垫木

钢柱就位后,先对钢柱的垂直度、轴线、牛腿面标高进行初步校正,然后安设临时固定螺栓,再拆除吊索。钢柱上下接触面间的间隙,一般不得大于1.5mm,如果间隙在1.5~6.0mm之间,可用低碳钢垫片将间隙垫实;如果间隙超过6.0mm,则应查清原因后进行处理。

2.钢梁的安装

钢梁在吊装前,应于柱子牛腿处检查标高和柱子间距。主梁吊装前,应在梁上装好扶手杆和扶手绳,待主梁吊装到位时,将扶手绳与钢柱系住,以保证施工人员的安全。

钢梁一般采用二点吊,在钢梁上翼缘处开孔作为吊点。吊点的位置取决于钢梁的跨度。为加快钢梁的吊装速度,可采用多头吊索,一次吊装数根。

有时可将梁、柱在地面上组装成排架后进行整体吊装,以减少高空作业,保证施工质量、加快吊装速度和保证施工安全。

3.剪力墙板安装

装配式剪力墙板安装在钢柱和楼层框架梁之间,剪力墙板有钢制墙板和钢筋混凝土墙板两种,其安装多采用以下两种方法:

(1)先安装框架,后安装墙板

先安装框架,后安装墙板的方法,即在墙板进行安装时,选用索具吊到就位附近临时搁置;然后再调换索具,在分离器两侧同时下放对称索具绑扎墙板,再起吊安装到位。这种安装方法效率较低,临时搁置还需采取一定的措施。其安装方法如图12-18所示。

图12-18 剪力墙板安装方法之一

1-墙板;2-吊点;3-吊索

(2)先与框架梁组合,再进行安装

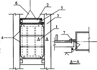
剪力墙板是四周与钢柱和框架梁用螺栓连接再用焊接进行固定的,安装前在地面先将墙板与上部框架梁组合,然后再将墙板一并安装,定位后再连接其他部位。这种安装方法安装效率高,是一种较为合理的安装方法,如图12-19所示。

图12-19 剪力墙板安装方法之二

1-墙板;2-框架梁;3-钢柱;4-安装螺栓;5-框架梁与墙板连接处;6-吊索;7-墙板安装时与钢柱连接部位

4.钢扶梯的安装

钢扶梯一般以平台部分为界限分段进行制作,构件是一种空间体,与框架同时进行安装,然后再进行位置和标高的调整。在安装施工中常作为操作人员在楼层之间的工作通道,安装工艺比较简便,定位固定比较复杂。

随便看

 

离鸟网收录3541549条中英文词条,其功能与新华字典、现代汉语词典、牛津高阶英汉词典等各类中英文词典类似,基本涵盖了全部常用中英文字词句的读音、释义及用法,是语言学习和写作的有利工具。

 

Copyright © 2004-2024 vtrois.com All Rights Reserved
更新时间:2026/4/9 3:31:02