网站首页  词典首页


请输入您要查询的字词:

 

字词 丹聂耳电池
类别 中英文字词句释义及详细解析
释义
丹聂耳电池

丹聂耳电池dannieer dianchi

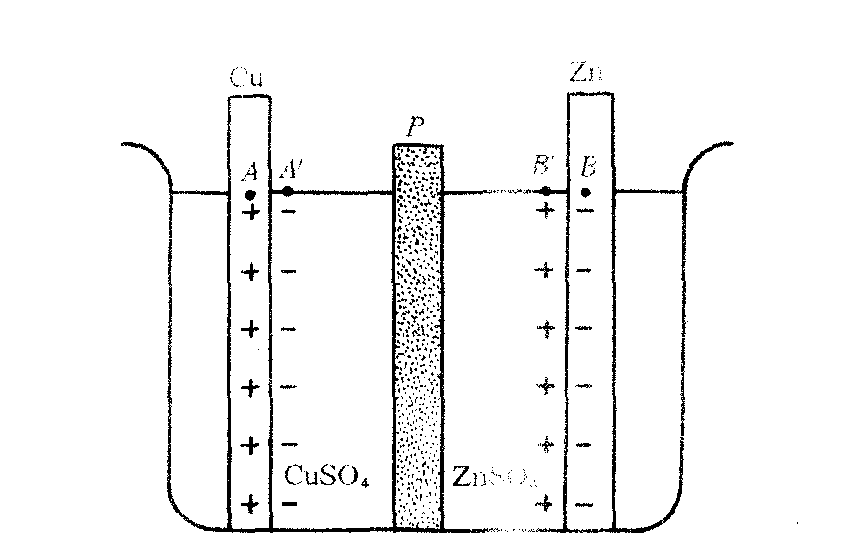
1836年由丹聂耳发明的一种原电池。它是一种原理上最简单的化学电源。图1是丹聂耳电池的结构图,负极是浸在硫酸锌溶液中的锌板,正极是浸在硫酸铜溶液中的铜板。两种溶液盛在同一个容器里,中间用多孔杯(陶器)隔开,这样能做到既使两种溶液不易掺混,又能让离子可以自由通过。由于化学原因,可以等效地认为有某种非静电起源的化学力使锌板的锌离子Zn++进入溶液内,而其价电子则留在板上(图2)。由于正负电荷间的库仑吸力,价电子和Zn++将分别停留在板与液的交界面两侧相距极近的两个面B和B′上,组成一个偶电层。层内存在一个由液向锌的静电场,使正电荷受到由液向锌的静电力,方向与化学力相反。当静电力与化学力大小相等时,电荷的迁移达到动态平衡,B′与B的电势差达到一个稳定值UB′B。在铜、液界面也形成偶电层,A与A′间也有一个稳定的电势差UAA′。只是由于铜的化学性质与锌不同,结果是铜正液负。由于A与A′(及B与B′)相距极近而电势却有明显变化,所以又把UAA′及UB′B叫做电势跃变(突变)。在多孔隔板两侧的两种溶液之间也存在电势差,不过数值很小,可以忽略,至于每种溶液内部,由于各处化学性质相同,不存在把电荷从一点推向另一点的化学力。可见,作为电源的丹聂耳电池,只在两个界面处才存在非静电力。把每个界面看作一个电源时,其电势跃变也就是端压。由于物理化学的原因,不论通过界面的电流如何,电势跃变数值一定,因此可把它视为无内阻电源。其电动势在数值上就等于电势跃变,整个电池的电动势应等于这两个电动势之和,即

ε=UAA′+UB′B


而电池的内阻则等于溶液的电阻。
用导线及开关K与电池的两极板联接成一个电路。当开关断开时,电池处于开路状态,其两端的电压(等于电动势E)全部加在开关两端。由于没有电流,溶液内各点电势相同。为了形象地表示电势沿电路的变化情况,我们用曲线L表示电路,用高度表示电路各点的电势,可得如图3所示的电势分布图。当开关接通后,电路出现稳恒电流,电势分布将如图4所示,这个分布有两个特点:
❶两个界面处的电势跃变不因有电流而变,这是由物理化学的原因决定的。
❷溶液两端出现电压,即B'与A'电势不再相等。这是因为溶液如同外电路一样,只存在电阻r,不存在非静电力。设溶液的电流为I,根据无源电路的欧姆定律便得

UB'A'=Ir


可见溶液两端的电势差等于内阻上的电势降。必须指出,“电动势等于电势跃变之和”及“内阻电势降等于电源内部两端B'、A'的电势差”这两个结论只对这类电源成立。这类电源的特征在于非静电力只分布于电源内部极短的几个区段中。其他电源如发电机等,其内部处处存在非静电力,一般没有电势跃变。
丹聂耳电池的电动势约为1.1伏,铜极的电位高于锌极。CuSO4起去极化的作用,是去极剂。丹聂耳电池是一种湿电池,现在人们大量使用的是干电池。


图1


图2


图3


图4

☚ 电池   干电池 ☛
00014703
随便看

 

离鸟网收录3541549条中英文词条,其功能与新华字典、现代汉语词典、牛津高阶英汉词典等各类中英文词典类似,基本涵盖了全部常用中英文字词句的读音、释义及用法,是语言学习和写作的有利工具。

 

Copyright © 2004-2024 vtrois.com All Rights Reserved
更新时间:2026/4/5 10:53:49