网站首页  词典首页


请输入您要查询的字词:

 

字词 刨花干燥
类别 中英文字词句释义及详细解析
释义

刨花干燥particle drying

刨花含水率由20~150%干燥到1~6%(家具用刨花板的刨花为1~3%)的生产过程。刨花含水率对刨花板的压制及板的质量有显著影响。含水率过高,容易引起刨花板分层或鼓泡,板的厚度偏差也难以控制。刨花体积小,而且彼此自然集聚时非常疏松,干燥时不考虑产生变形、开裂等缺陷,所以采用温度较高的快速干燥工艺。但是必须考虑刨花干燥过程中的防火及防爆的问题。
刨花干燥设备 一般主要以刨花的形态、含水率以及地区工业技术条件来选择干燥机。短周期的管道式闪击干燥机以及悬涂层式喷嘴干燥机主要用于小刨花式纤维刨花的干燥。世界上使用最多的刨花干燥机有以下3种。
辊筒式炉气干燥机 是用炉气直接加热的对流式长周期干燥机(图1)。这种早期的干燥机产生于20世纪50年代,曾相当流行,直到现在还有一些工厂仍

图1 辊筒式炉气干燥机
1.分离室; 2.装料; 3.燃烧室; 4.驱动装置; 5.输送
风机; 6.排风机; 7.尘埃分离器; 8.干燥筒筒体

在使用。但其结构型式有所改变。用燃烧煤气、煤油,或者木屑和油的混合物作为热源。辊筒内装有导板,用以使刨花分散及运动。导板型式有多种(图2)。当辊筒旋转时,刨花从上一个叶片落到下一个叶片上,随着叶片作顺时针方向连续旋转,并向排料方向前进。这种干燥机的特点是刨花在筒内滞留时间长,一般在30分钟以上,装料容量大。如使用200℃以下的炉气,着火危险便大大降低。

图2 导板型式
1、2.提升叶片状导板;
3.分散状导板;
4、5.筛网状导板


接触加热回转管束干燥机 属于间接加热长周期干燥机, 加热装置是由很多管子组成的管束为主的回转集合体。蒸汽、热水或热油, 从管子内通过加热空气; 刨花一方面在管间与管子直接接触,同时又被热空气加热并蒸发水分。结构设计考虑的重点是如何消除热膨胀所引起的应力, 以避免管子或接口处破裂。这类干燥机最具代表性的是庞多夫(Ponndorf)干燥机(图3)。干燥温度一般为200℃。

图3 接触加热回转管束干燥机
1.刨花流、进料; 2.空气流、废气; 3.刨花、空气
混合流; 4.新鲜空气; 5.热质; 6.灭火喷水;
7.干刨花出口; 8.碎屑出口

在干燥机尾部设有预热器,可将 一部分空气进行预热。该类型干燥机的优点是: 能耗少,不需要大功率风机进行鼓风,因为刨花流的运动及前进靠管束回转器外圈具有扭转装置的刮板加以维持,刨花只与管壁接触,着火及爆炸危险小,但为安全起见,在这类干燥机内仍装有高温熔断器自动喷水设施。
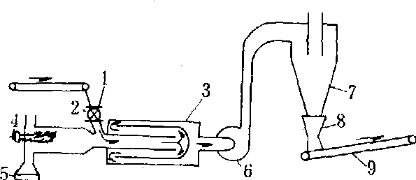
三折式圆筒干燥机 这是一种回转筒式直接加热干燥机(图4)。其主体由3个套筒以同心位置组成一

图4 三折式圆筒干燥机
1.刨花进料; 2.气门; 3.干燥筒; 4.燃烧室;
5.热交换器; 6.风机; 7.旋风分离器;
8.扩大仓; 9.刨花运输机

个大圆筒,即将整个顺流加热过程折成三段,这样布置的好处在于节省地方。其设计原理为: 湿刨花与热炉气从直径最小的套筒以顺流方式进入干燥机,因而流速高、温度高; 在内套筒尾部刨花流折回进入空间较大的中套筒,此时热炉气速度降低,温度也有所降低;刨花流在中套筒尾部又折回进入外套筒,此时热炉气的流速及温度更低一些。干燥高含水率刨花时,进口炉气温度可以达到650~760℃,3个套筒内的炉气流动速度分别为8.3、3.3、1.6米/秒; 干燥低含水率刨花时,进口炉气温度只能用260~316℃。由于所通过的炉气速度很高,较细的刨花在几秒内就被干燥吹出,较粗刨花则将在干燥机内滞留5分钟左右。为了取得高速度的炉气流,需要功率较大的风机。这类刨花干燥机需要有很灵敏的防火防爆系统。
干燥机的自动调节系统 现代刨花板生产都设置刨花干燥自动检测及调节系统,以使刨花的含水率控制在一个确定的范围内并保证干燥机的安全运行。因湿刨花的含水率及厚度总是不断变化的,靠人工检测及控制难以达到预定目的,从而不能保证刨花板的质

图5 刨花干燥自动调节

量。通行的调节技术为多级调节(图5)。内部回路主要调节燃烧炉的燃料进料量,它是根据废气出口温度的设定值来调节的。外部回路是通过定值调节以调节刨花含水率,也可以改变刨花在干燥机内滞留时间以调节刨花含水率。通过测量湿刨花含水率也可得到温度应当值。控制器可以用计算机,也可以用调节仪表。
随便看

 

离鸟网收录3541549条中英文词条,其功能与新华字典、现代汉语词典、牛津高阶英汉词典等各类中英文词典类似,基本涵盖了全部常用中英文字词句的读音、释义及用法,是语言学习和写作的有利工具。

 

Copyright © 2004-2024 vtrois.com All Rights Reserved
更新时间:2026/4/9 4:19:46