网站首页  词典首页


请输入您要查询的字词:

 

字词 单层热压机
类别 中英文字词句释义及详细解析
释义

单层热压机single-opening hot press

由一块上热压板和一块下热压板组成一个对板坯加热加压的热压机械。是人造板制造及其表面加工的重要设备之一。
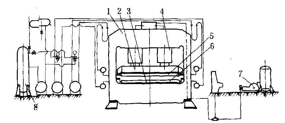
结构 单层热压机一般由机架、上横梁、下横梁、液压缸、热压板、液压系统和加热装置组成(见图)。❶机架是承受整个压机载荷的重要部件,必须有足够的强度和刚度。通常机架可分为框架式和立柱式两种。框架式机架是由钢板或型钢制成。它可以是由单片的框架板用连接件和螺栓串接成一个机架,也可以由钢板或型钢焊接成箱框型式。立柱式机架由圆立柱和上、下横梁用螺母固接而成,也可以用钢板焊接成立柱。立柱是立柱式压机的主要支承件和受力件,通常为锻钢件。
❷上、下横梁是固定热压板和承受压制产品时的单位面积压力的部件。当压机由下而上闭合时,下横梁就必须作成移动式的。如压机由上而下闭合时,上横梁就必须作成移动式的。通常情况下活动

由上而下闭合的单层热压机
1.机架;2.上横梁;3.下横梁;4.液压缸;5.上热压
板;6.下热压板;7.液压系统;8.加热装置

横梁受力条件不如固定横梁的受力条件好。所以活动横梁结构尺寸均较固定横梁的大。由于热压板固定在横梁上,所以横梁不仅承受压机的载荷,而且还承受热压板的热影响。
❸液压缸是单层热压机给制品施压的执行机构,为一种能量转换装置。来自液压系统的液体压力势能由液压缸转换成柱塞的动能并传递给活动横梁,使上、下横梁闭合达到给制品施压的目的。单层热压机如系上压式时,还需另设提升缸,以便对制品压制结束后将活动横梁提升起来。
❹热压板接受来自加热系统的热量,转而传给制品,是热压机的热量传送装置。同时它又将液压缸通过活动横梁施加的压力均匀分配给制品。热压板传热性能的优劣、加热的均匀性、热压板的热容量、热压板的强度和刚度以及热压板表面的平面度和粗糙度直接影响制品的质量。
❺液压系统是压机产生压力势能的装置,并根据制品压制的工艺要求,完成压机闭合、升压、加压、保压、卸压和开启等动作的控制。一般由电机、油泵、蓄能器、各种液压阀和控制仪表组成。液压系统中的压力介质通常有液压油、机械油、乳化液。对不同的介质应选用不同性能的泵和阀。液压系统的性能不但决定压机的产量、吨位,并直接影响压制品的质量。
❻加热装置是热压板热能的来源。在人造板及其表面加工中使用的加热装置通常由传热介质来决定。当用蒸汽作为传热介质时蒸汽管网和锅炉是加热装置;当用热水作加热介质时,热水循环系统是加热装置;当用电作为加热介质时,电加热系统是加热装置;当用导热油作为加热介质时,导热油加热循环系统是加热装置。而导热油可由蒸汽和电来加热,也可以由专门的导热油加热炉加热。
类型 单层热压机根据用途可分为人造板制造单层热压机和人造板表面加工热压机两类。❶人造板制造用单层热压机一般幅面较大,是1 220毫米×2440毫米的整数倍。幅面越大,虽然产量越高,但对机架、热压板、横梁、液压系统的要求就更高,因此单层热压机的幅面不宜过大的增加。该类压机由于幅面较大,所以总吨位、加热温度的均匀度都要求较高。
❷表面加工用单层热压机,一般幅面较小,通常为1 220毫米×2 440毫米的2~4倍,与制造人造板单层热压机相比,其总吨位、单位压力和加热温度都较低(压力0.3~3兆帕、温度130~200℃),但其液压系统要求更灵敏。小幅面的人造板表面加工单层热压机有时由于单位压力较小,所以将热压板和横梁做成一体,即既是横梁又是热压板。这样可节省钢材,减少压机本身的重量。
根据压板闭合的方向单层热压机可分为上压式单层热压机和下压式单层热压机两类。❶上压式单层热压机的活动横梁即是上横梁。液压缸装在活动横梁的上方。这种压机由于下横梁固定,所以工作高度固定不变,与压机配套的辅助设备较容易与之配合。但为了使活动横梁再度升起,需要配备提升用液压缸。
❷下压式单层热压机的活动横梁即是下横梁。液压缸装在活动横梁的下方。由于下横梁的复位靠液压缸柱塞的自重和下横梁的自重来复位,所以一般不必配备复位的液压缸。但快速闭合时所需的能量较大。
随着人造板工业的发展和科学技术的进步,单层热压机的上、下横梁和热压板逐渐被连续运转的钢带代替;间隙式加压逐渐发展成连续式加压;加热方式则逐渐发展为高频加热,使人造板及其表面加工的效率和质量向更高的方向发展。
随便看

 

离鸟网收录3541549条中英文词条,其功能与新华字典、现代汉语词典、牛津高阶英汉词典等各类中英文词典类似,基本涵盖了全部常用中英文字词句的读音、释义及用法,是语言学习和写作的有利工具。

 

Copyright © 2004-2024 vtrois.com All Rights Reserved
更新时间:2026/4/8 4:36:03