网站首页  词典首页


请输入您要查询的字词:

 

字词 单管喷雾器
类别 中英文字词句释义及详细解析
释义

单管喷雾器bucket pump sprayer

一种不带药液箱的手动液力喷雾器。由手动柱塞泵和喷射部件组成。具有操作简便,工作压力较高,不易出故障的特点。中国于1941年开始引进与生产,到50年代至60年代中期已较普遍用于棉田、菜地、果园等病虫害的防治作业。
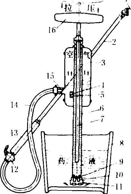
单管喷雾器的结构如图,手动柱塞泵部分由唧筒管、塞杆、气室等组成。作业时,手动柱塞泵放入盛有药液的桶中,塞杆向上拉动,唧筒管内压力降低,药液冲开吸水座进水阀,进入唧筒管;塞杆向下压,进水阀关闭,迫使管内药液冲开出水阀,进入气室内;塞杆再一次向上拉动,由于气室内的压力大于唧筒管内的压力,出水阀关闭阻止药液流回唧筒管。往复多次拉动塞杆,气室内的药液就不断增加,留存在内的空气就被逐渐压缩在上部,形成具有一定压力的气体,一般可达300~1 000千帕。喷射部件由喷雾软管、截流阀、滤网套管、手持喷杆、喷头等组成。软管长度不短于2.5米。手持喷杆的长度,不短于0.63米。打开截流阀,压力药液就通过手持喷杆,进入切向进液式圆锥雾喷头的内腔形成涡流,再由喷头片中心小孔处喷出,呈空心圆锥雾流。为取得不同的喷雾量和不同大小的雾滴,可选择不同中心孔径(0.5、0.7、1.0、1.3或1.6毫米)喷头为切向进液式圆锥的喷头片。如果在喷头片下增加1~2个垫圈,可使圆锥雾流的顶角减小,以适应矮小作物的需要。喷雾器一般由2人作业,后面的人拉压塞杆,前面的人喷洒,每小时可喷洒250米2。如在出水接头处增加一个三通接头,同时装两套喷射部件时,3人操作喷雾效率可提高。

单管喷雾器

1.喷头;2. 手持喷杆;3. 气室;4、9.球阀;5. 出水阀;6.唧筒管;7. 塞杆;8. 药液桶;10. 进水阀; 11. 吸水座;12.截流阀;13.滤网套管;14.喷雾软管;15. 出水接头;16. 木柄

随便看

 

离鸟网收录3541549条中英文词条,其功能与新华字典、现代汉语词典、牛津高阶英汉词典等各类中英文词典类似,基本涵盖了全部常用中英文字词句的读音、释义及用法,是语言学习和写作的有利工具。

 

Copyright © 2004-2024 vtrois.com All Rights Reserved
更新时间:2026/4/9 14:13:53