网站首页  词典首页


请输入您要查询的字词:

 

字词 卧式油罐
类别 中英文字词句释义及详细解析
释义
卧式油罐

卧式油罐horizontal tank

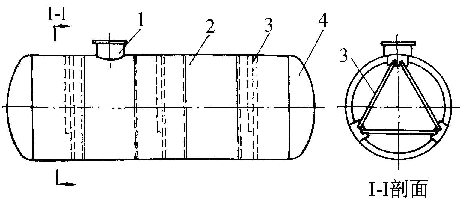
有水平罐体的圆柱形“储油罐”。由筒体和头盖组成。头盖又有平头盖和碟形头盖两种。前者承受内压一般不超过40kPa,负压不大于1kPa;后者用于储存挥发性极强的液化石油气或化工产品时,承压能力可达1.73MPa,储存汽油等挥发性油品时承压可达0.11MPa。容积常在2~400m3范围内,直径为1.4~4.5m,长3~25m。容积小于100m3的,常在工厂成批制造后运往工地安装。在地面上安装的卧式油罐,常用两个钢筋混凝土或砖石结构的鞍形支座支撑。当卧式油罐埋地安装时,应尽量安于地下水位以上,外壁涂敷沥青防腐层,罐内沿轴向设若干角钢制作的加强环和三角撑,以防止在外覆土壤压力下罐体丧失稳定而压扁。埋于地下水位以下的储油罐,有时需在罐下埋设混凝土块,用扁钢与罐体固定,以防止油罐抽空时浮起。与立式圆柱形油罐相比:卧式油罐能承受较高的正压和负压,减少油品蒸发损耗;便于工厂成批制造,提高制造质量;便于拆迁和运输。但是单位储油量耗用的钢材比立式圆柱形油罐多一倍以上,约为40~50kg/m3;卧式油罐储油量小,当某种油品总储量较大时,所需卧式油罐数量较多,占地面积也相应增加。卧式油罐常用于所需油品品种多、各种油品数量较少的小型分配油库、加油站和对机动性有较高要求的部队野战油库。此外,也常用卧式油罐储存挥发性极强的油品,如液化气等。

碟形头盖卧式圆柱形油罐
1-人孔;2-身板;3-三角支撑;4-碟形头盖

☚ 储油罐   立式圆柱形油罐 ☛
00005521
随便看

 

离鸟网收录3541549条中英文词条,其功能与新华字典、现代汉语词典、牛津高阶英汉词典等各类中英文词典类似,基本涵盖了全部常用中英文字词句的读音、释义及用法,是语言学习和写作的有利工具。

 

Copyright © 2004-2024 vtrois.com All Rights Reserved
更新时间:2026/4/9 10:43:13