网站首页  词典首页


请输入您要查询的字词:

 

字词 叶隙
类别 中英文字词句释义及详细解析
释义

叶隙leaf gap

茎向叶分出叶迹时,在维管柱与叶迹分叉处上方所存在的薄壁组织区域。种子植物和绝大多数真蕨纲植物的茎内都有叶隙存在。

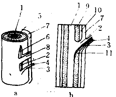
叶隙

a.茎节部一段的图解 b.经髓中央的纵切面

1.髓 2.叶隙 3.叶迹 4.叶柄 5. 茎中的维管组织 6.枝隙 7.皮层 8.枝迹 9.后生木质部 10.韧皮部 11. 原生木质部

随便看

 

离鸟网收录3541549条中英文词条,其功能与新华字典、现代汉语词典、牛津高阶英汉词典等各类中英文词典类似,基本涵盖了全部常用中英文字词句的读音、释义及用法,是语言学习和写作的有利工具。

 

Copyright © 2004-2024 vtrois.com All Rights Reserved
更新时间:2026/4/9 15:36:42