网站首页  词典首页


请输入您要查询的字词:

 

字词 固定式悬臂起重机
类别 中英文字词句释义及详细解析
释义

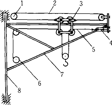
固定式悬臂起重机fixed base cantilever crane

固定在基础和支承在建筑物上,悬臂不能俯仰的臂架式起重机。由臂架、转柱等金属结构,起升、旋转和变幅(小车运行)机构组成。臂架与转柱刚性连接,在基座支承内一起相对于垂直中心线回转。起升和变幅机构分别固定在臂柱连接处的金属结构上,起升绳绕过起重小车的复滑轮和吊钩及臂端导向滑轮固定在卷筒上;运行绳在摩擦卷筒上绕缠数圈后分别与小车两端相接,当驱动起升和运行卷筒时,便使吊钩升降和起重小车沿悬臂轨道运行。适用机械厂、机修厂和铸锻厂进行起重作业。

固定式悬臂起重机

1.摩擦卷筒 2. 运行绳 3. 起重小车 4. 导向滑轮 5. 起升绳 6. 起升卷筒 7. 臂架 8. 转柱

随便看

 

离鸟网收录3541549条中英文词条,其功能与新华字典、现代汉语词典、牛津高阶英汉词典等各类中英文词典类似,基本涵盖了全部常用中英文字词句的读音、释义及用法,是语言学习和写作的有利工具。

 

Copyright © 2004-2024 vtrois.com All Rights Reserved
更新时间:2026/4/7 20:20:48